GM Service Manual Online
For 1990-2009 cars only

DTC P0712 Transmission Fluid Temperature (TFT) Sensor Circuit Low Input 3.1L VIN M Only


Object Number: 29630  Size: MF
Handling ESD Sensitive Parts Notice
OBD II Symbol Description Notice
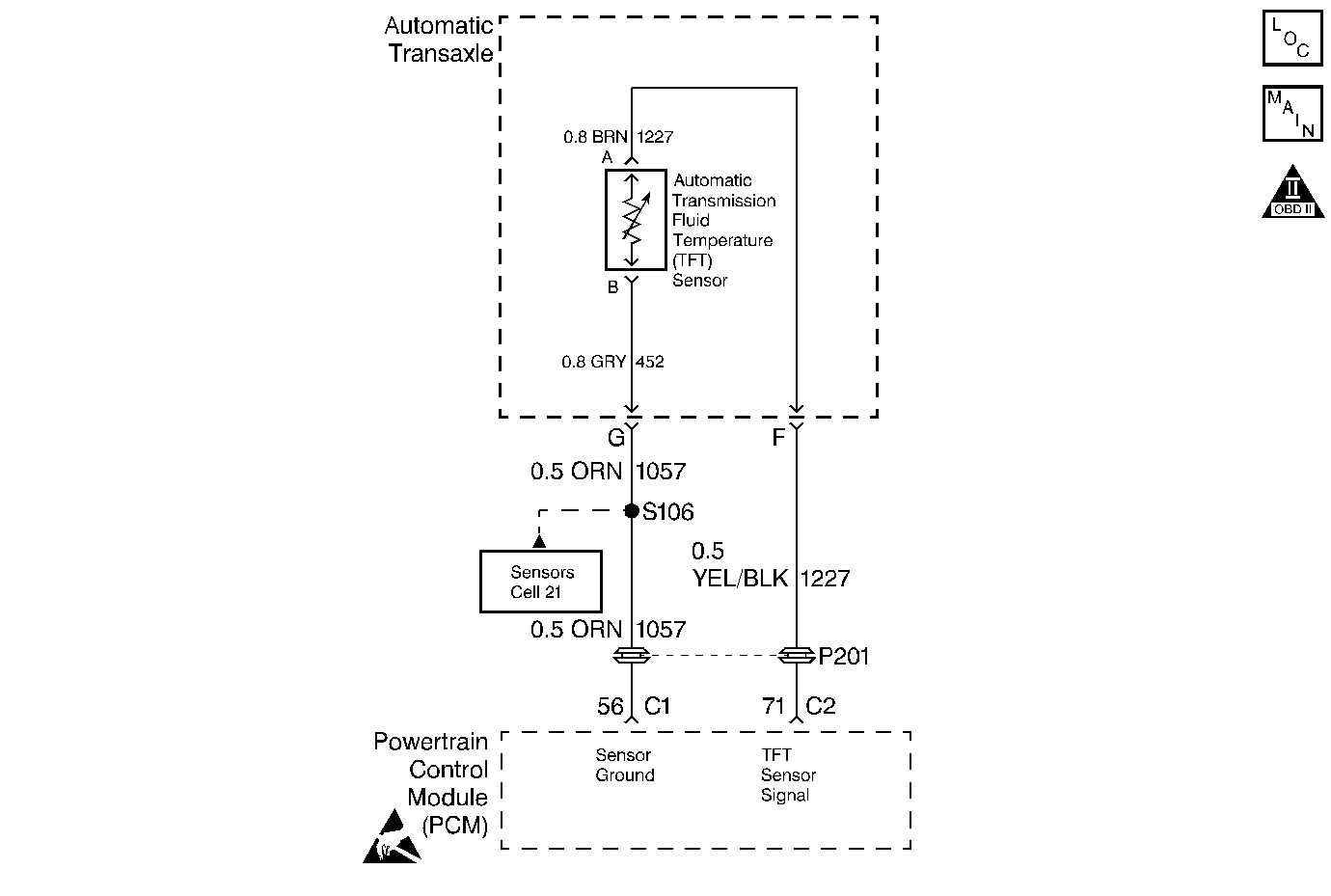
Automatic Transmission Controls Schematics 3.1L VIN M
Automatic Transmission Components 3.1L VIN M

Circuit Description

The Automatic Transmission Fluid Temperature (TFT) sensor is a negative coefficient thermistor. The sensor resistance changes with temperature. The Powertrain Control Module (PCM) provides a 5-volt reference to the sensor on circuit 1227. A short to ground in circuit 1227 causes low signal voltage. The TFT operating range is from -40 to +140°C (-40 to +284°F).

If the PCM detects a voltage input of less than 200 mV in the TFT Sensor circuit, then DTC P0712 sets. DTC P0712 is a type D DTC.

Conditions for Setting the DTC

    • No System Voltage Malfunction DTC P0560 is set.
    • The ignition is ON.
    • The PCM detects a TFT sensor voltage of 0.20 volts or less for 10 seconds.

Action Taken When the DTC Sets

    • If the engine run time is less than 3 minutes and the Intake Air Temperature (IAT) DTC P0112, P0113, P1111, or P1112 is set, then the default Automatic Transmission Fluid Temperature (TFT) is 0°C (32°F).
    • If the engine run time is less than 3 minutes and no IAT DTC is set, then the default TFT sets to the IAT saved at start up.
    • If the engine run time is greater than 3 minutes and the Engine Coolant Temperature (ECT) DTC P0117, P0118, P1114, or P1115 is set, then the default TFT is 131°C (268°F).
    • If the engine run time is greater than 3 minutes, no ECT DTC is set, and the ECT is less than 45°C (113°F), then the default TFT is 12°C (54°F).
    • If the engine run time is greater than 3 minutes, no ECT DTC is set, and the ECT is greater than 115°C (239°F), then the default TFT is 131°C (268°F).
    • If the engine run time is greater than 3 minutes, the ECT is 45-115°C (113-239°F), and the IAT DTC P0112, P0113, P1111, or P1112 is set, then the default TFT sets to equal the ECT.
    • If the engine run time is greater than 3 minutes, the ECT is 45-115°C (113-239°F), and the IAT start up is less than 0°C (32°F), then the default TFT sets to the ECT minus 10°C (18°F).
    • If the engine run time is greater than 3 minutes, the ECT is 45-115°C (113-239°F), and the IAT start up is less than 28°C (82°F), then the default TFT sets to the ECT plus 10°C (18°F).
    • If the engine run time is greater than 3 minutes, the ECT is 45-115°C (113-239°F), and the IAT at start up is 0-28°C (32-82°F), then the default TFT sets to equal the ECT.
    • The PCM does not illuminate the Malfunction Indicator Lamp (MIL).

Conditions for Clearing the DTC

    • A scan tool can clear the DTC from the PCM history. The PCM clears the DTC from the PCM history if the vehicle completes 40 warm-up cycles without a failure reported.
    • The PCM cancels the DTC default actions when the fault no longer exists and the ignition is OFF long enough in order to power down the PCM.

Diagnostic Aids

    • Inspect the wiring for poor electrical connections at the PCM. Inspect the wiring at the transmission 7-way connector. Look for the following conditions:
       - A bent terminal
       - A backed out terminal
       - A damaged terminal
       - Poor terminal tension
       - A chafed wire
       - A broken wire inside the insulation
    • When diagnosing for an intermittent short or open condition, massage the wiring harness while watching the test equipment for a change.
    • Inspect the transmission harness for a short to ground. Inspect the engine harness for a short to ground.
    • Inspect the transmission cooling system for blockage or other restrictions.
    • Refer to Temperature vs Resistance table.

Test Description

The numbers below refer to the step numbers on the diagnostic table.

  1. This step ensures that P0712 freeze frame or failure records have been recorded. A scan tool display of 145°C (293°F) or more indicates that this DTC is current.

  2. This step isolates the fault between the transmission harness and the engine harness.

DTC P0712 Transmission Fluid Temperature Sensor Circuit Low Input

Step

Action

Value(s)

Yes

No

1

Was the Powertrain On-Board Diagnostic (OBD) System Check performed?

--

Go to Step 2

Go to Powertrain On Board Diagnostic (OBD) System Check

2

Have you performed the transmission fluid checking procedure?

--

Go to Step 3

Go to Transmission Fluid Check

3

  1. Install the scan tool.
  2. With the engine OFF, turn the ignition switch to the RUN position.
  3. Important: Before clearing the DTCs, use the scan tool in order to record the Failure Records for reference. The Clear Info function erases the stored Failure Records from the PCM.

  4. Record the DTC Failure Records.
  5. Select Trans. Fluid Temp. on the scan tool.

Does the scan tool display an Automatic Transmission Fluid Temperature (TFT) greater than the specified value?

145°C (293°F)

Go to Step 4

Go to Diagnostic Aids

4

  1. Turn the ignition OFF.
  2. Disconnect the transmission 7-way connector. Additional DTCs will set.
  3. Important: With the ignition ON for more than 5 minutes, the PCM goes to a default transmission temperature.

  4. With the engine OFF, turn the ignition On.

Does the scan tool display a TFT less than that specified?

-36°C (-33°F)

Go to Step 6

Go to Step 5

5

Inspect circuit 1227 of the engine harness for a short to ground. Refer to Troubleshooting Procedures, Section 8.

Did you find and correct a problem?

--

Go to Step 10

Go to Step 9

6

  1. Install the J 38835 Transmission Electrical Jumper on the transmission harness 7-way connector.
  2. Connect an ohmmeter from terminal F to the transmission case.

Does the ohmmeter display a resistance greater than that specified?

1000ohms

Go to Step 9

Go to Step 7

7

Inspect circuit 1227 of the transmission harness for a short to ground. Refer to Troubleshooting Procedures, Section 8.

Did you find and correct a problem?

--

Go to Step 10

Go to Step 8

8

Replace the TFT Sensor. Refer to Solenoids and Wiring Harness, in On-Vehicle Service.

Is the replacement complete?

--

Go to Step 10

--

9

Replace the PCM. Refer to Powertrain Control Module Replacement/Programming , Section 6

Is the replacement complete?

--

Go to Step 10

--

10

In order to verify your repair, perform the following procedure:

  1. Select DTC.
  2. Select Clear Info.
  3. Operate the vehicle under the following conditions:
  4. • Turn the ignition ON for 15 seconds.
    • The TFT Sensor voltage must be more than 0.2 volts for 10 seconds.
  5. Select Specific DTC. Enter DTC P0712.

Has the test run and passed?

--

System OK

Begin the diagnosis again. Go to Step 1