GM Service Manual Online
For 1990-2009 cars only

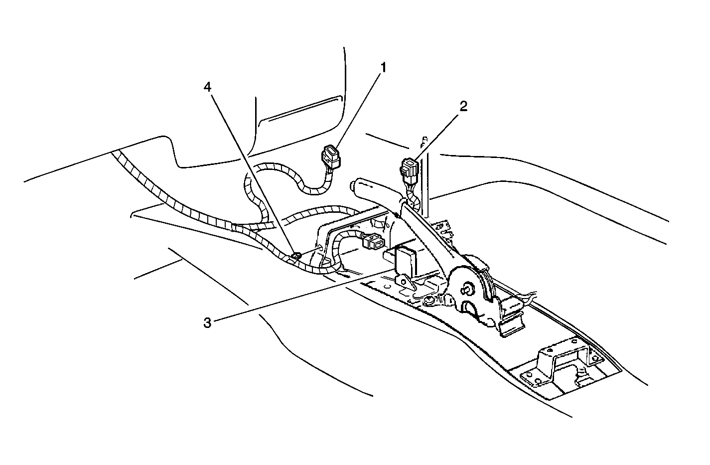
Center Console


Object Number: 520489  Size: MF
(1)PRNDL Connector
(2)ETS Connector
(3)Automatic Transaxle Control
(4)Clip

LH Lower Instrument Panel near Steering Column


Object Number: 520539  Size: MF
(1)Cruise Control Brake Switch
(2)Brake Switch
(3)SIR Branch
(4)SIR SDM Harness
(5)Cruise Control Switch

Center Instrument Panel near Tie Bar


Object Number: 520687  Size: MF
(1)S227
(2)S439
(3)S391
(4)ETS
(5)BTSI
(6)PRNDL Control Module
(7)S277
(8)S327

LH Side of the Engine Compartment


Object Number: 520079  Size: MF
(1)Engine Compartment Fuse Center
(2)Fuse Block Bracket
(3)Battery

LH Side of Instrument Panel


Object Number: 520509  Size: MF
(1)Steering Column Wiring Branch
(2)DLC Cover
(3)Screw
(4)DLC
(5)Rear Defogger Relay
(6)Fuse Block

Lower LH of Steering Column


Object Number: 520684  Size: MF
(1)Multi-Function Lever
(2)SIR Coil
(3)Ignition Lock Solenoid
(4)Passlock Connector Lead
(5)Windshield Wiper Switch Lead
(6)SIR Lead
(7)SIR Connector
(8)DLC Lead
(9)S128
(10)S127
(11)S200
(12)S205
(13)S204
(14)S423, S424
(15)LH Stalk Switch Branch
(16)S202
(17)Headlamp Switch Lead
(18)Ignition Switch Connector
(19)Wiper Switch
(20)Passlock Connector Lead

LH Side of Engine


Object Number: 520071  Size: MF
(1)Ground Lead
(2)Transaxle Range Switch
(3)Trans Shift Cable Bracket
(4)Engine Wiring Harness
(4)Engine Wiring Harness
(5)Engine Harness To Rear Lead
(6)S111, A/C Diode, S110
(7)Coolant Fan
(8)Automatic Transaxle Connector