GM Service Manual Online
For 1990-2009 cars only
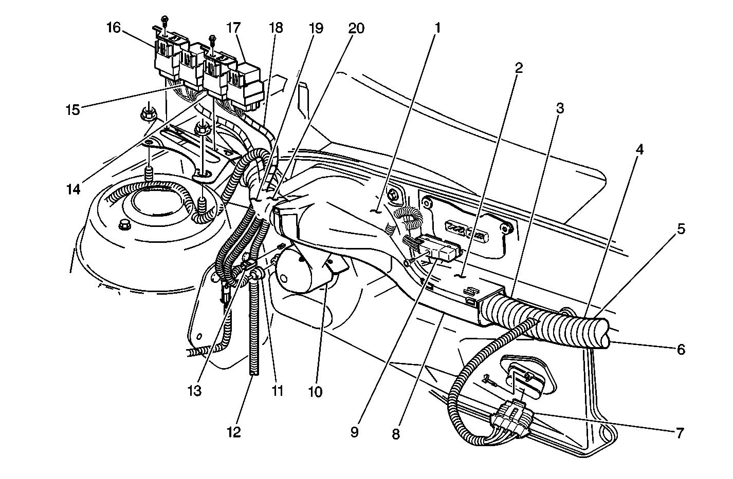
Figure 1:
Object Number: 240156  Size: LF
(1)Engine Harness
(2)Inflatable Restraint Front End Discriminating Sensor Connector
(3)Inflatable Restraint Front End Discriminating Sensor
(4)C200
(5)PCM Bracket
(6)Radio Antenna Connector
(7)C411
(8)Inflatable Restraint Sensing and Diagnostic Module Fasteners
(9)Inflatable Restraint Sensing and Diagnostic Module (SDM)
(10)Inflatable Restraint Sensing and Diagnostic Module (SDM)
(11)RH Front Seat Floor Pan
(12)Inflatable Restraint I/P (Passenger Inflator) Module
(13)Inflatable Restraint I/P (Passenger Inflator) Module
(14)Horn Lead
(9)Inflatable Restraint Sensing and Diagnostic Module (SDM)
(15)Horn Ground
(16)Inflatable Restraint Steering Wheel (Driver Inflator) Module
(17)Retainer Clip
(17)Retainer Clip
(18)Inflatable Restraint Steering Wheel (Driver Inflator) Module Connector
(18)Inflatable Restraint Steering Wheel (Driver Inflator) Module Connector
(18)Inflatable Restraint Steering Wheel (Driver Inflator) Module Connector
(19)Inflatable Restraint Steering Wheel (Driver Inflator) Module Fastener
Figure 2:

RH Rear of Engine Compartment


Object Number: 520067  Size: MF
(1)S119
(2)S195
(3)S414
(4)S106
(5)S170
(6)S173
(7)Blower Motor Resistor Connector
(8)Wire Harness Installed Channel
(9)Electric Brake Control Module Connector
(10)Blower Motor
(11)Blower Motor Feed Connector
(12)Auxiliary Discriminating Sensor Harness
(13)Blower Motor Ground
(14)Blower Motor Relay
(15)A/C Clutch Relay
(16)Fuel Pump Relay
(17)Coolant Fan Relay
(18)A/C Transducer Low Coolant Lead
(19)S415
(20)S171
Figure 3:

Left of Steering Column behind Instrument Panel


Object Number: 520506  Size: MF
(1)Convenience Center
(2)Turn/Hazard Flasher
(3)Horn Relay
Figure 4:

Steering Wheel


Object Number: 520734  Size: MF
(1)Radio Control
(2)Driver Inflator Module
Figure 5:

LH Side of Instrument Panel


Object Number: 520509  Size: MF
(1)Steering Column Wiring Branch
(2)DLC Cover
(3)Screw
(4)DLC
(5)Rear Defogger Relay
(6)Fuse Block
Figure 6:

Instrument Cluster


Object Number: 520550  Size: MF
(1)Photocell Jumper Connector
(2)IP Harness
(3)IP Cluster
(4)S416, S118
Figure 7:

LH Instrument Panel near Steering Column


Object Number: 520588  Size: MF
(1)Multifunction Alarm Module
(2)G200
(3)S206
(4)S321
(5)S101, S435
(6)S207
(7)Lamp Dimmer Module Connector
(8)S232
(9)S216
(10)S201
(11)Convenience Center-to-MICAM Connector
(12)MICAM Connector
Figure 8:

RH Top of Instrument Panel


Object Number: 520599  Size: MF
(1)Module-to-Bracket Screw
(2)Passenger SIR Bracket
(3)Passenger SIR Module
Figure 9:

LH Side of Passenger Compartment


Object Number: 520306  Size: MF
(1)S312
(2)G302
(3)S438
(4)S304
(5)C306, Power Seat
(6)Seat Belt Switch Connector
Figure 10:

RH Side of Passenger Compartment


Object Number: 520304  Size: MF
(1)G301
(2)Sensing Diagnostic Module Connector
(3)Sensing Diagnostic Module
(4)S301
(5)S419
(6)S331
Figure 11:

Lower LH of Steering Column


Object Number: 520684  Size: MF
(1)Multi-Function Lever
(2)SIR Coil
(3)Ignition Lock Solenoid
(4)Passlock Connector Lead
(5)Windshield Wiper Switch Lead
(6)SIR Lead
(7)SIR Connector
(8)DLC Lead
(9)S128
(10)S127
(11)S200
(12)S205
(13)S204
(14)S423, S424
(15)LH Stalk Switch Branch
(16)S202
(17)Headlamp Switch Lead
(18)Ignition Switch Connector
(19)Wiper Switch
(20)Passlock Connector Lead
Figure 12:

LH Lower Instrument Panel near Steering Column


Object Number: 520539  Size: MF
(1)Cruise Control Brake Switch
(2)Brake Switch
(3)SIR Branch
(4)SIR SDM Harness
(5)Cruise Control Switch
Figure 13:

RH Side of Instrument Panel


Object Number: 520309  Size: MF
(1)SIR Passenger Safing Connector
(2)C200
(3)PCM Bracket
Figure 14:

LH Front Impact Bar


Object Number: 520478  Size: MF
(1)S117
(2)Side Marker Lamp
(2)Side Marker Lamp
(3)Washer Pump Connector
(4)LH Horn Connector
(5)S127
(6)Fluid Level Sensor Connector
(7)Fog Lamp Connector
(8)S115
(9)Park/Turn Signal Lamp
(9)Park/Turn Signal Lamp
(10)Headlamp Connector
(11)Positive
(12)Negative
(13)Solder
Figure 15:

Front Impact Bar


Object Number: 520448  Size: MF
(1)Forward Lamp Harness Clip
(2)S115
(3)Clip (Oldsmobile only)
(4)Fog Lamp Relay
(5)Isolation Relay
(6)Automatic Light Control Relay
(7)Park Lamp Relay
(8)Daytime Running Lamp Relay
(9)Relay Bracket
(10)S426
(11)S128, S434
(12)S100
(13)S116
(14)S987, S988
(15)S196
(16)S429, S430, S427