GM Service Manual Online
For 1990-2009 cars only
Makes
🢒
Pontiac
🢒
1998
🢒
Grand Am
🢒
Body and Accessories
🢒
Wiring Systems
🢒 Power Distribution Schematics
Figure
1:
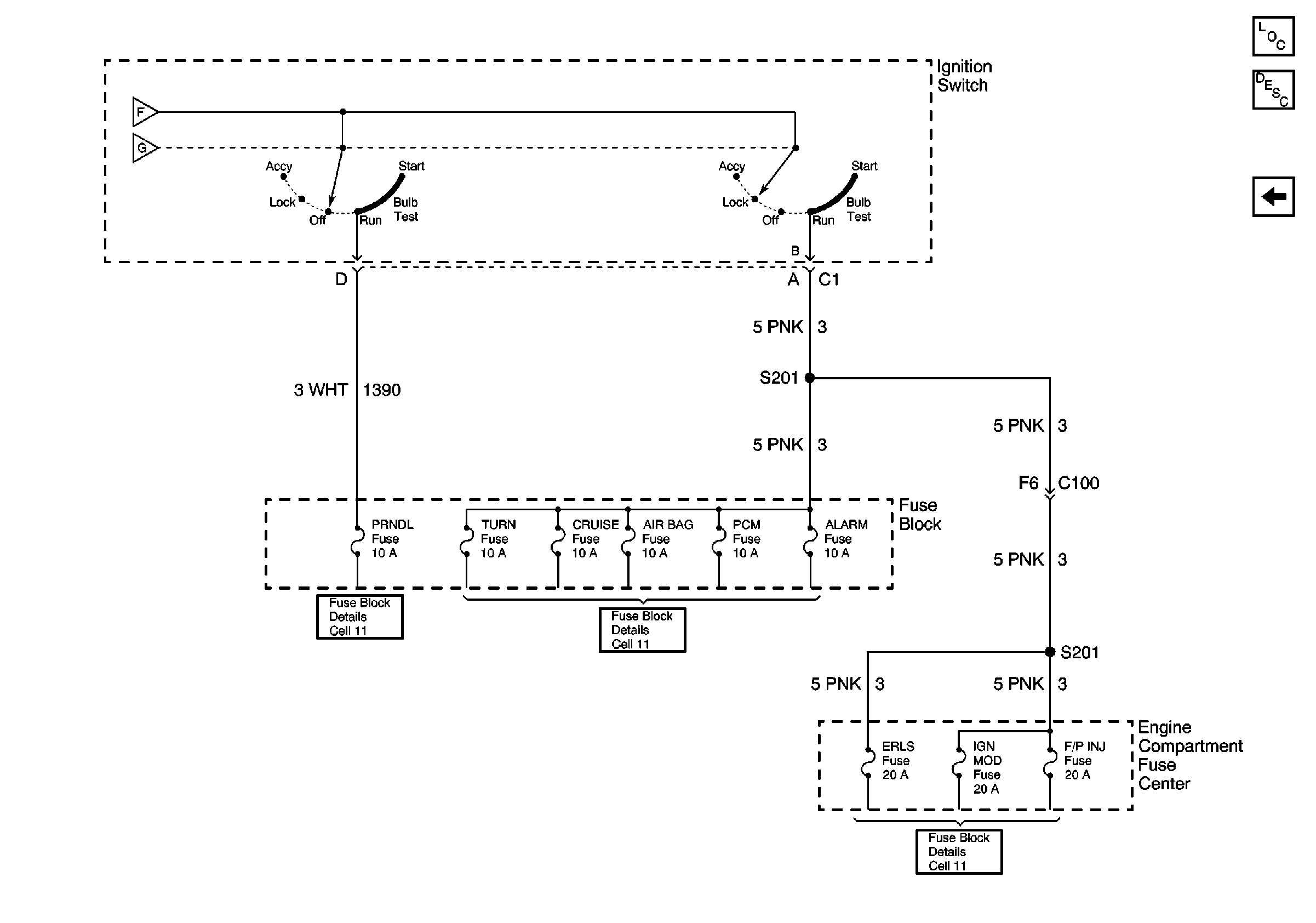
Cell 10: 1 of 4
Handling ESD Sensitive Parts Notice
Power and Grounding Component Views
Cell 10: 2 of 4
Handling ESD Sensitive Parts Notice
Fuse Block Schematics
ABS/ETS Schematics
Fuse Block Schematics
Figure
2:
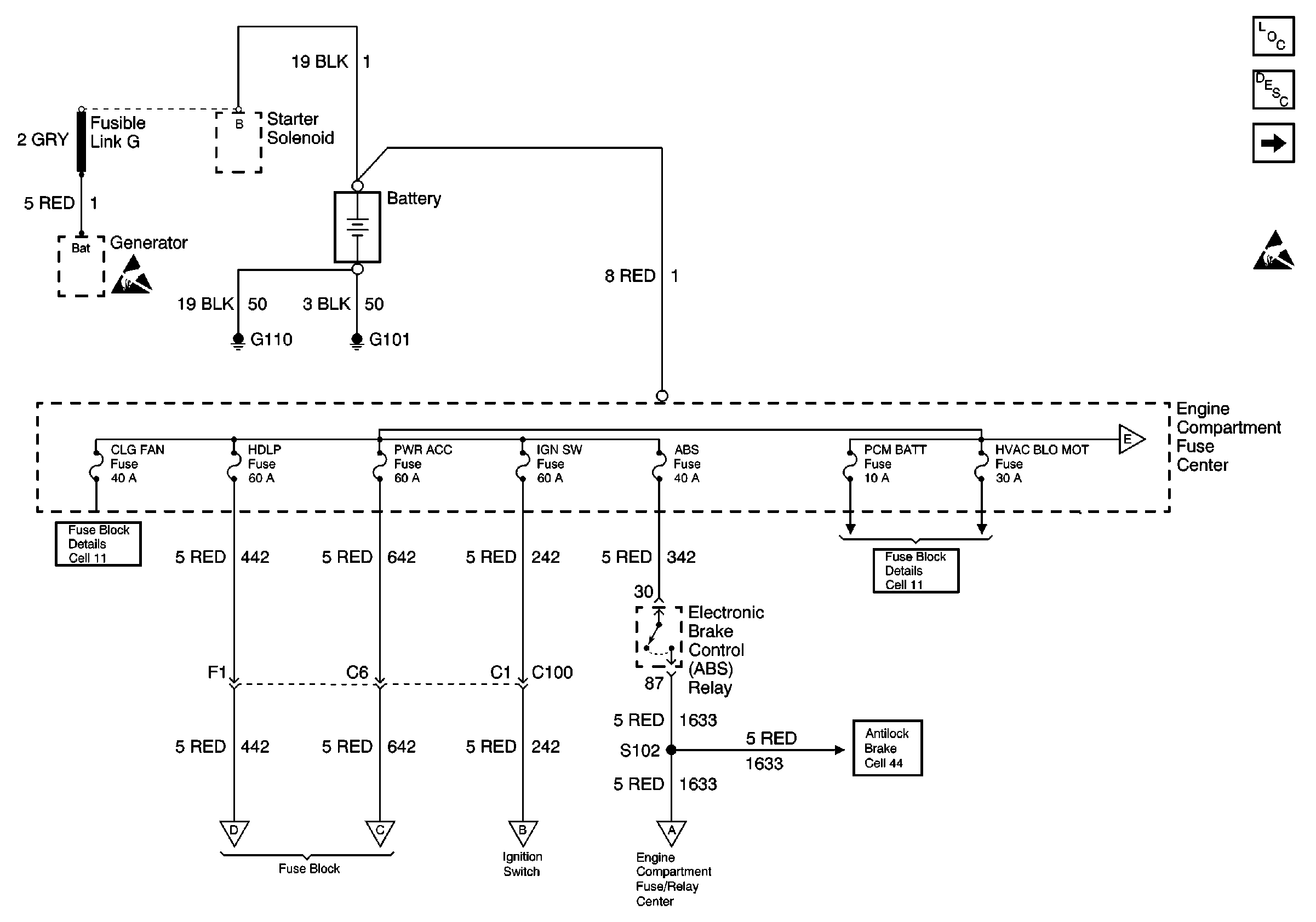
Cell 10: 2 of 4
Power and Grounding Component Views
Cell10: 3 of 4
Cell 10: 1 of 4
Fuse Block Schematics
Fuse Block Schematics
Fuse Block Schematics
Fuse Block Schematics
Fuse Block Schematics
Figure
3:
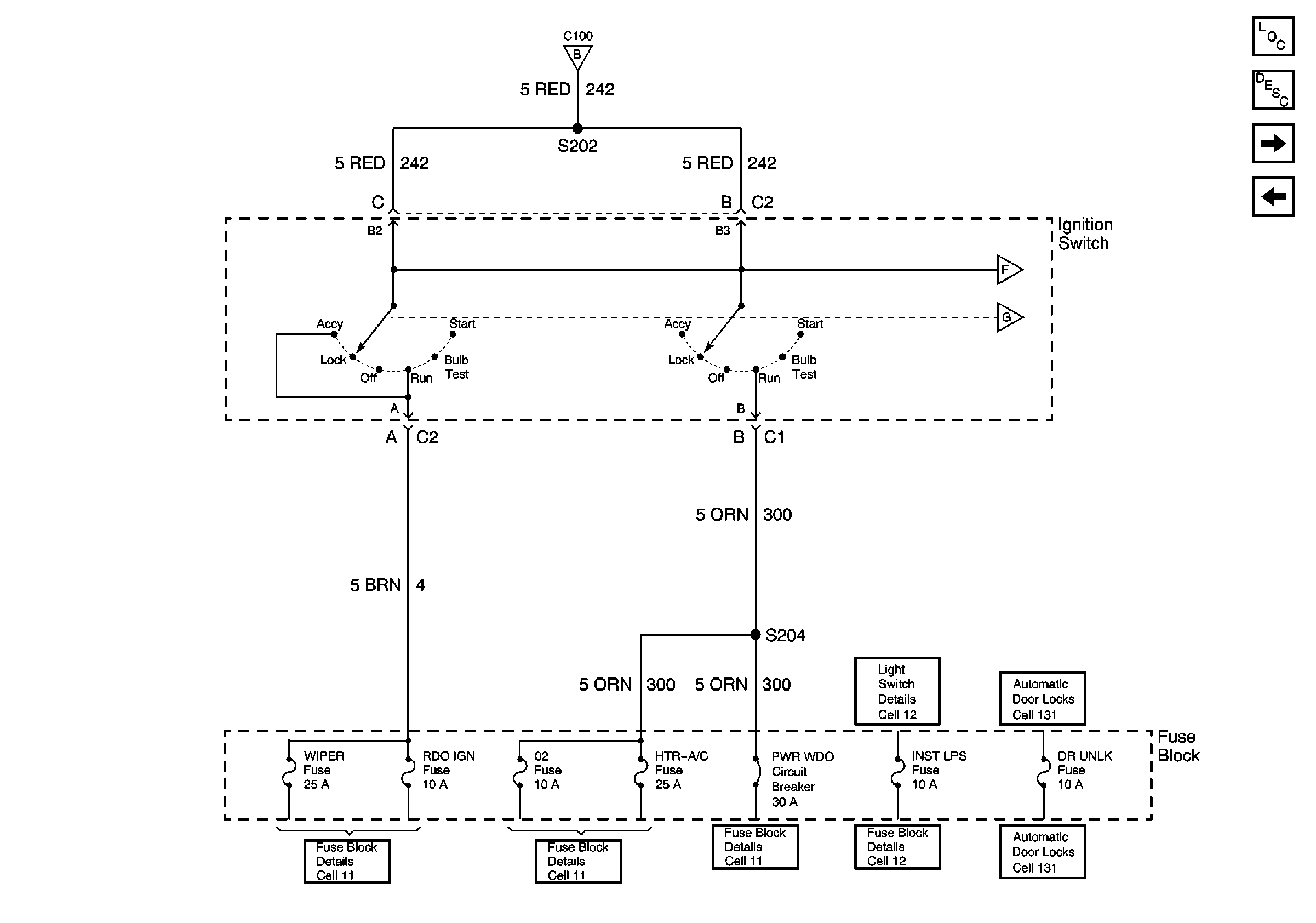
Cell10: 3 of 4
Power and Grounding Component Views
Cell 10: 4 of 4
Cell 10: 2 of 4
Fuse Block Schematics
Fuse Block Schematics
Fuse Block Schematics
Door Lock/Indicator Schematics
Door Lock/Indicator Schematics
Figure
4:
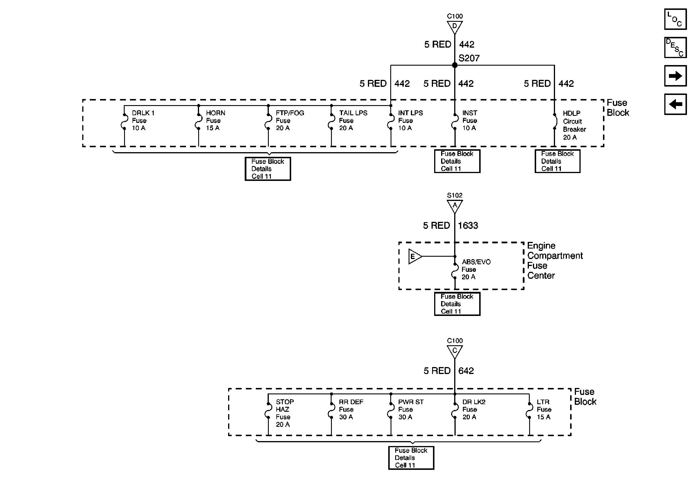
Cell 10: 4 of 4
Power and Grounding Component Views
Cell10: 3 of 4
Fuse Block Schematics
Fuse Block Schematics
Fuse Block Schematics