GM Service Manual Online
For 1990-2009 cars only

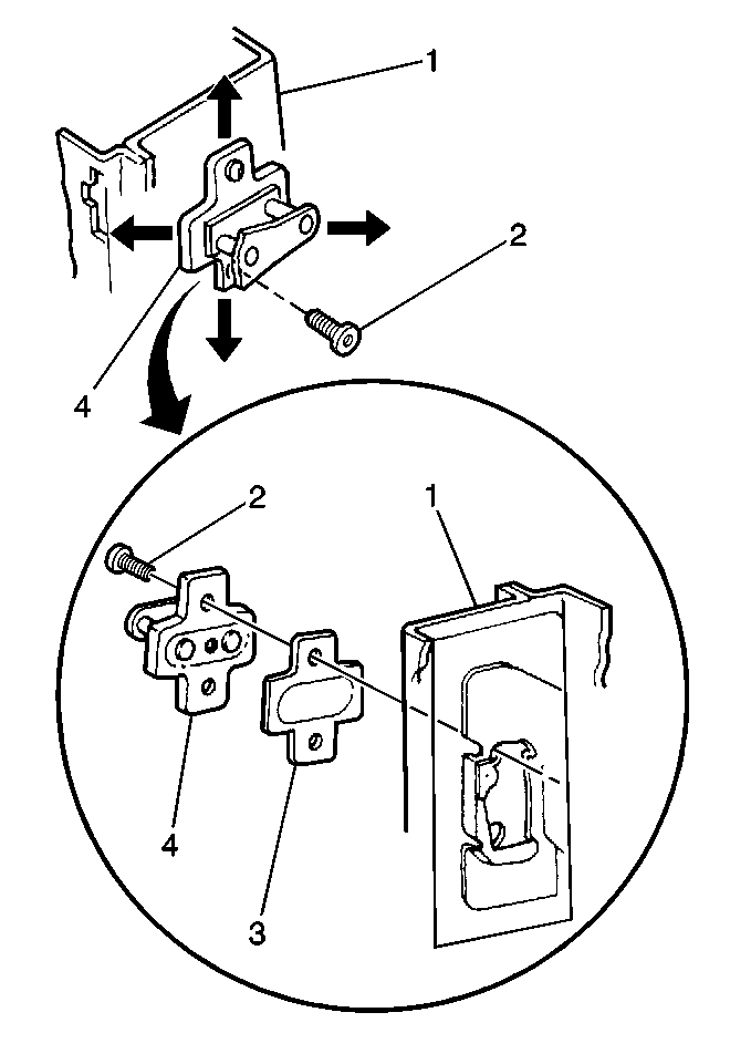
Removal Procedure


    Object Number: 384928  Size: MH
  1. Remove the door lock striker bolts (2).
  2. Remove the door lock striker (4) and the spacer (3).

Installation Procedure


    Object Number: 384928  Size: MH

    Notice: Striker alignment is a crucial part of door latch operation. Do not use the door striker to adjust the door to the vehicle. Failure to properly adjust the striker can result in damage to the door latch and the striker.

  1. Install the spacer (3) and the door lock striker (4).
  2. Snug the striker bolts (2) so that the striker (4) can still be moved.
  3. With the door outside handle in the open position, push the door against the body. This will ensure that the striker (4) allows a flush fit.
  4. Slowly open the door.
  5. Notice: Use the correct fastener in the correct location. Replacement fasteners must be the correct part number for that application. Fasteners requiring replacement or fasteners requiring the use of thread locking compound or sealant are identified in the service procedure. Do not use paints, lubricants, or corrosion inhibitors on fasteners or fastener joint surfaces unless specified. These coatings affect fastener torque and joint clamping force and may damage the fastener. Use the correct tightening sequence and specifications when installing fasteners in order to avoid damage to parts and systems.

  6. Tighten the striker bolts.
  7. Tighten
    Tighten the door striker bolts to 24 N·m (18 lb ft).

  8. Touch up any exposed or unpainted surface on the lock pillar (1).