GM Service Manual Online
For 1990-2009 cars only

DTC P1860 TCC PWM Solenoid Circuit Electrical 3.1L Vin M Only


Object Number: 193606  Size: MF
Automatic Transmission Components 3.1L
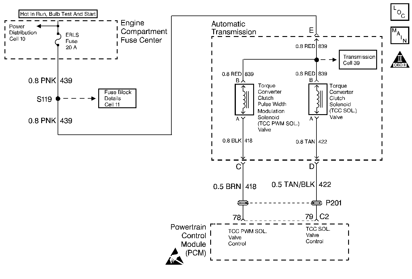
Automatic Transmission Controls Schematics 3.1L
OBD II Symbol Description Notice
Handling ESD Sensitive Parts Notice

Circuit Description

The Torque Converter Clutch Pulse Width Modulation Solenoid Valve (TCC PWM Sol. Valve) controls the fluid pressure to the converter clutch regulator valve, thereby controlling converter clutch apply pressure.

A fused circuit provides ignition voltage to the solenoid. An Output Driver Module (ODM), in the PCM, provides the ground to energize the solenoid. The solenoid valve is modulated by the PCM, varying the duty cycle. At 0% duty cycle the torque converter clutch applies at maximum capacity. At 100% duty cycle the torque converter clutch applies at minimum capacity.

When the PCM detects a continuous open, or short to ground in the TCC PWM Sol. circuit, then DTC P1860 sets. DTC P1860 is a type A DTC.

Conditions for Setting the DTC

    • System voltage is 10-16 volts.
    • The engine speed is more than 500 RPM for 5 seconds.
    • Not in fuel shut off.
    • The PCM commands the solenoid below 10%, and above 90% duty cycle, and the voltage on circuit 418 is outside the calibrated limits.

Action Taken When the DTC Sets

    • The PCM illuminates the Malfunction Indicator Lamp (MIL).
    • The PCM inhibits TCC operation.
    • The PCM inhibits 4th gear if the transmission is in the hot mode.

Conditions for Clearing the MIL/DTC

    • The PCM turns OFF the MIL after three consecutive trips without a failure reported.
    • A scan tool can clear the DTC from the PCM history. The PCM clears the DTC from the PCM history if the vehicle completes 40 warm-up cycles without a failure reported.
    • The PCM cancels the DTC default actions when the fault no longer exists and the ignition is OFF long enough in order to power down the PCM.

Diagnostic Aids

    • Inspect the wiring at the PCM, the transmission connector, TCC PWM solenoid connector and all other circuit connecting points for the following conditions:
       - A bent terminal
       - A backed out terminal
       - A damaged terminal
       - Poor terminal tension
       - A chafed wire
       - A broken wire inside the insulation
       - Moisture intrusion
       - Corrosion
    • When diagnosing for an intermittent short or open condition, massage the wiring harness while watching the test equipment for a change.
    • Ensure that the transmission fluid is at the proper level.

Test Description

The numbers below refer to the step numbers on the diagnostic table.

  1. This step isolates the engine harness from the transmission harness.

  2. This step verifies that circuit 418 is not open or shorted to power.

  3. This step verifies that the solenoid is not open or shorted across its windings, and the transmission harness is not open or shorted.

DTC P1860 Torque Converter Clutch Pulse Width Modulation Solenoid Circuit -- Electrical (3.1L Only)

Step

Action

Value(s)

Yes

No

1

Was the Powertrain On-Board Diagnostic (OBD) System Check performed?

--

Go to Step 2

Go to Powertrain On Board Diagnostic (OBD) System Check

2

  1. Install the Scan Tool .
  2. With the engine OFF, turn the ignition switch to the RUN position.
  3. Important: Before clearing the DTCs, use the scan tool in order to record the Freeze Frame and Failure Records for reference. Using the Clear Info function will erase the stored Freeze Frame and Failure Records from the PCM.

  4. Record the DTC Freeze Frame and Failure Records then clear the DTCs.
  5. Select TCC/PWM (Duty cycle) Open/Short to GND. Command PWM (control) solenoid ON. Watch display for 10 Seconds. Reading may pulsate.
  6. Select TCC/PWM (Duty Cycle) Short to Volts on the scan tool. Command PWM (control) solenoid OFF. Watch display for 10 seconds. Reading may pulsate.

Did either reading flicker No/Yes/No?

--

Go to Step 3

Go to Diagnostic Aids

3

  1. Turn the ignition switch OFF.
  2. Disconnect the Automatic Transmission 7-way connector.
  3. Install the J 38835 Transmission Electrical Jumper to the engine harness connector.
  4. Connect a test lamp from terminal E to terminal C of the jumper using a J 35616-A Connector Test Adapter Kit.
  5. With the engine OFF, turn the ignition ON.
  6. Additional DTCs will set.

Is the test lamp OFF?

--

Go to Step 4

Go to Step 5

4

Inspect circuit 418 of engine harness for an open. Refer to General Electrical Diagnosis in Wiring Systems.

Was a condition found and corrected?

--

Go to Step 18

Go to Step 17

5

  1. Use the scan tool to cycle the TCC PWM solenoid ON and OFF three times.
  2. Important: When the Scan Tool is used to command the TCC PWM (Control) Solenoid ON, the Scan Tool will indicate 99% duty cycle. The solenoid will be de-energized (test lamp OFF). The scan tool will indicate 0% duty cycle when the TCC Duty Cycle (PWM Solenoid) is commanded OFF. The solenoid will be energized (test lamp ON).

  3. Observe the test lamp.

Does the solenoid cycle ON and OFF as commanded?

--

Go to Step 8

Go to Step 6

6

Inspect engine harness circuit 418 for a short to ground. Refer to General Electrical Diagnosis in Wiring Systems.

Was a condition found and corrected?

--

Go to Step 18

Go to Step 7

7

Inspect engine harness circuit 418 for a short to power. Refer to General Electrical Diagnosis in Wiring Systems.

Was a condition found and corrected?

--

Go to Step 18

Go to Step 17

8

  1. Turn the ignition switch OFF.
  2. Disconnect the Transmission Jumper from the engine harness.
  3. Connect the J 38835 Transmission Electrical Jumper to the Automatic Transmission 7-way connector.
  4. Connect a J 39200 Digital Multimeter (DMM) from terminal E to terminal C of the jumper.

Is the measured resistance within the specified range?

10 ohms to 15 ohms

Go to Step 13

Go to Step 9

9

Is the resistance greater than the specified value?

15 ohms

Go to Step 10

Go to Step 12

10

Inspect the RED wire circuit 839 and the BLK wire circuit 418 of the transmission harness for an open. Refer to General Electrical Diagnosis in Wiring Systems.

Was a condition found?

--

Go to Step 11

Go to Step 15

11

Replace the Automatic Transmission Wiring Harness.

Refer to Solenoids and Wiring Harness Replacement.

Is the replacement complete?

--

Go to Step 18

--

12

Connect a J 39200 Digital Multimeter (DMM) from terminal C of the jumper to ground.

Is the measured resistance less than the specified value?

100 ohms

Go to Step 13

Go to Step 15

13

Inspect the BLK wire circuit 418 of the transmission harness for a short to ground. Refer to General Electrical Diagnosis in Wiring Systems.

Was a condition found?

--

Go to Step 14

--

14

Replace the Automatic Transmission Wiring Harness.

Refer to Solenoids and Wiring Harness Replacement.

Is the replacement complete?

--

Go to Step 18

--

15

Replace the TCC PWM Sol. Valve. Refer to Solenoids and Wiring Harness Replacement.

Is the replacement complete?

--

Go to Step 18

--

16

Inspect PCM connector C2 (Clear) for bent, damaged or backed out connector pins.

Was a condition found and corrected?

--

Go to Step 18

Go to Step 17

17

Replace the PCM. Refer to Powertrain Control Module Replacement/Programming in Engine Controls.

Is the replacement complete?

--

Go to Step 18

--

18

Perform the following procedure to verify your repair:

  1. Use the scan tool to clear DTC information.
  2. Operate the vehicle under the following condition.
  3. • System voltage is 10-16 volts.
    • The engine speed is more than 500 RPM.
    • The vehicle is not in fuel shut off.
    • Drive the vehicle for a TCC ON cycle.
    • The PCM commands the solenoid below 10%, and above 90% duty cycle, and voltage on circuit 418 is within the calibrated limits.
    • All conditions are met for 5 seconds.
  4. Select Specific DTC.
  5. Enter DTC P1860.

Has the test run and passed?

--

System OK

Go to Step 1