GM Service Manual Online
For 1990-2009 cars only

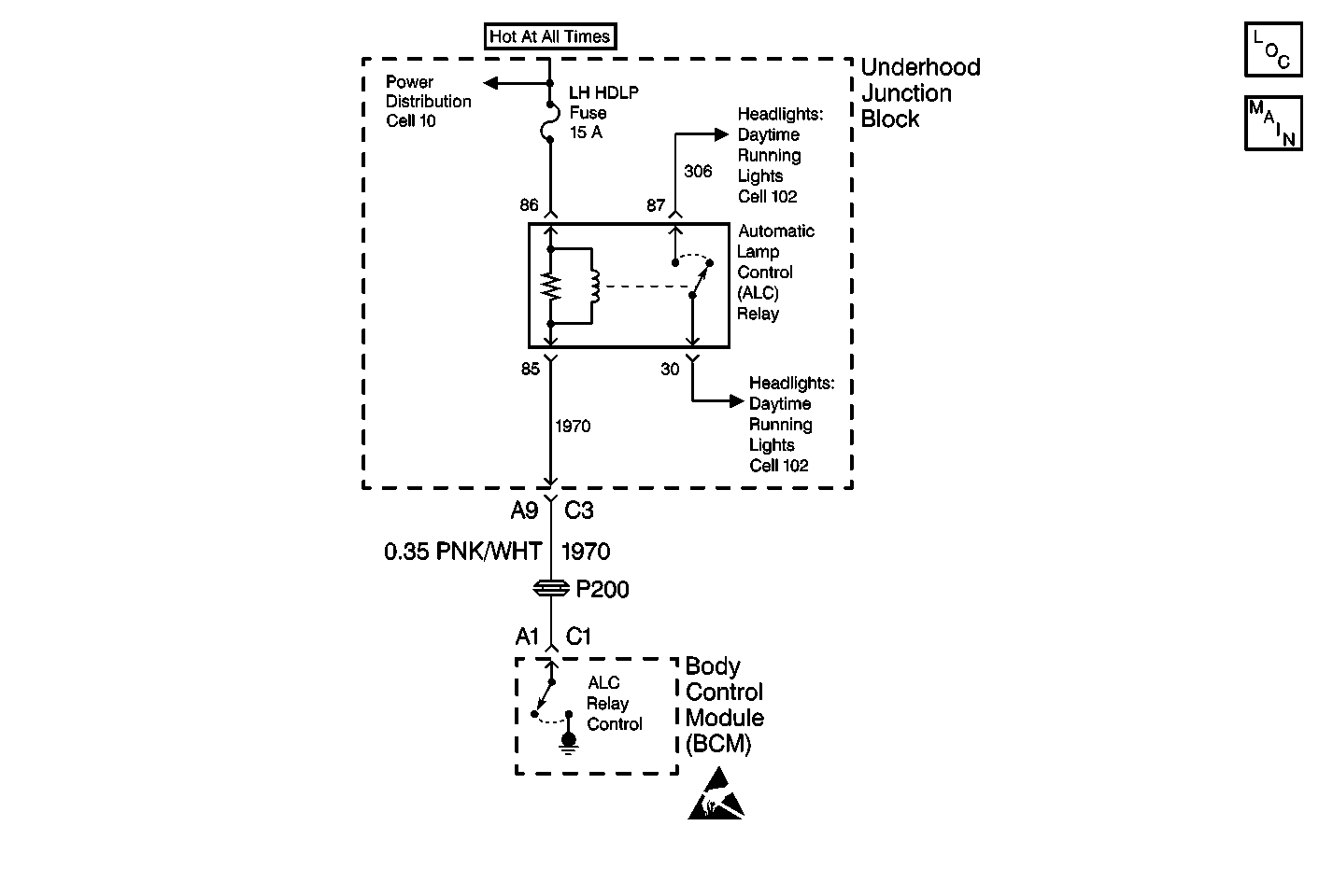
Object Number: 399498  Size: MF
Body Control Module Components
Body Control System Schematics

Circuit Description

This is a trouble code (both current and history) that indicates that the Automatic Lighting Control (ALC) headlamp relay output is shorted to ground or open.

Conditions for Setting the DTC

Meet all of the following conditions:

    • The ambient light sensor indicates bright conditions
    • The ignition switch is not in engine crank
       - Ignition 1 active
       - Ignition 3 inactive
       - Engine not running (class 2 message)
    • The ALC headlamp output is not active
    • The ALC headlamp feedback is present for 5 seconds

Action Taken When the DTC Sets

    • Stores the DTC B2577 in the body control module (BCM) memory.
    • The SERVICE VEHICLE SOON indicator will illuminate.
    • The CHECK GAUGES chime sounds.

Conditions for Clearing the DTC

    • The BCM reads the proper headlamp voltage.
    • Conditions for the fault are no longer present.
    • All the body control module (BCM) history codes will be cleared after 100 ignition cycles (from OFF to ON) with no current codes active during the 100 ignition cycles.
    • Use the Scan Tool .

Diagnostic Aids

If the DTC is a history DTC, the problem may be intermittent. Try performing the above tests while wiggling the wiring and connectors. This can often cause the malfunction to appear.

Test Description

The numbers below refer to the numbers on the diagnostic table.

  1. This step verifies proper operation of the of the ALC headlamp relay.

  2. This step determines if the underhood wiring harness junction block has a short to ground in CKT 1970.

  3. This step determines in a short to ground exists in CKT 1970 between the underhood wiring harness junction block and the BCM.

  4. This step determines if an open exists in CKT 1970 between the underhood wiring harness junction block and the BCM.

Step

Action

Value(s)

Yes

No

Important: A short to ground will cause an open fuse(s). Before performing this diagnostic procedure, inspect the fuse(s) for an open.

1

Was the Body Control Module (BCM) System Check performed?

--

Go to Step 2

Go to the Body Control Module System Check

2

  1. Replace the Automatic Lighting Control (ALC) headlamp relay with a known good relay on the underhood wiring harness junction block.
  2. Use the scan tool in order to enable the ALC headlamp relay.

Does the ALC work correctly?

--

Go to Step 10

Go to Step 3

3

  1. Reconnect the ALC headlamp relay on the underhood wiring harness junction block.
  2. Use the J 39200 in order to backprobe the underhood junction block connector C3 terminal A9.
  3. Measure the voltage in CKT 1970.

Is the measured voltage at the specified value?

B+

Go to Step 5

Go to Step 4

4

Replace the underhood wiring harness junction block.

Is the repair complete?

--

Go to Step 10

--

5

  1. Disconnect the Body Control Module (BCM) connector C1.
  2. Use the J 39200 DMM in order to measure the resistance in CKT 1970 between the BCM harness connector C1 terminal A1 and ground.

Is the measured resistance equal to the specified value?

Go to Step 7

Go to Step 6

6

Repair the short to ground in CKT 1970 between the BCM connector C1 terminal A1 and the underhood wiring harness junction block connector C3 terminal A9.

Is the repair complete?

--

Go to Step 10

--

7

Use the J 39200 DMM in order to measure the resistance in CKT 1970 between the BCM harness connector C1 terminal A1 and the underhood wiring harness junction block harness connector C3 terminal A9.

Is the measured resistance within the specified range?

0-2 ohms

Go to Step 9

Go to Step 8

8

Repair an open in CKT 1970 between the BCM connector C1 terminal A1 and the underhood wiring harness junction block connector C3 terminal A9. Refer to Wiring Repairs in Wiring Systems.

Is the repair complete?

--

Go to Step 10

--

9

Replace the BCM. Refer to the following procedures:

    • Body Control Module Replacement

Is the repair complete?

--

Go to Step 10

--

10

Clear the DTCs from the memory.

Are the DTCs cleared from the memory?

--

Go to the Body Control Module System Check

--