GM Service Manual Online
For 1990-2009 cars only

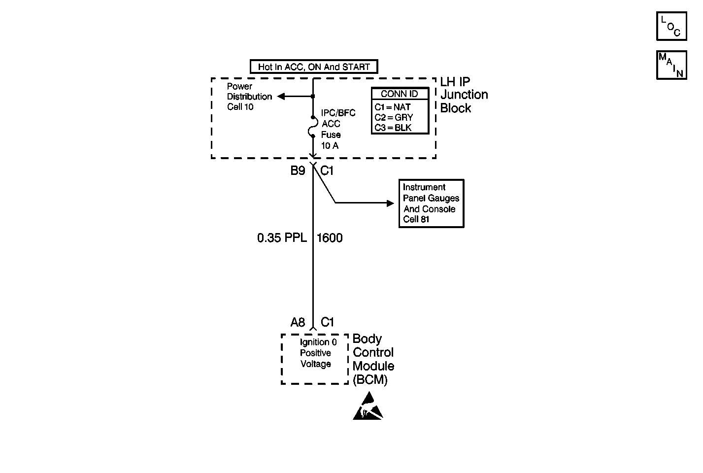
Object Number: 399475  Size: MF
Cell 51: SDM, Washer Solvent Lever Sensor, Seat Belt Switch and Park Brake Switch
Body Control Module Components
Power Distribution Schematics
Ground Distribution Schematics

Circuit Description

This is the hardware Ignition 0, CKT 1600 input to the body control module (BCM) or the instrument cluster. The input can be either in the ON or OFF position from the ignition switch.

Conditions for Setting the DTC

All of the following conditions must be met:

    • Ignition 0 is not active
    • Ignition 1 is active for 20 seconds

Action Taken When the DTC Sets

DTC B1369 is stored in the BCM memory.

Conditions for Clearing the DTC

    • The BCM goes to sleep. The controller reinitializes with the fault cleared.
    • All BCM history codes will be cleared after 100 ignition cycles (from OFF to ON) with no current codes active during the 100 ignition cycles.
    • Use the Scan Tool .

Diagnostic Aids

    • If the fuel guage is always reading empty, the problem lies within the body control module (BCM) or the wiring to the BCM.
    • The instrument cluster will not function if ignition 0 is not present in the vehicle.
    • If the DTC is a history DTC, the problem may be intermittent. Perform the tests shown while wiggling the wiring and connectors. This can often cause the malfunction to appear.

Test Description

The numbers listed below refer to the numbers on the diagnostic table.

  1. This step determines if CKT 1600 is shorted to ground.

  2. This step determines if the body control module (BCM) is internally shorted.

  3. This step determines if the instrument cluster is internally shorted.

  4. This step determines if voltage is supplied from the battery to the fuse.

Step

Action

Value(s)

Yes

No

1

Did you perform the BCM System Check?

--

Go to Step 2

Go to Body Control Module System Check

2

  1. Install the Scan Tool .
  2. Turn ON the ignition, leaving the engine OFF.
  3. With the Scan Tool , observe the Ignition 0 input parameter in the BCM inputs data list.

Does the scan tool display ACTIVE?

--

Go to Diagnostic Aids

Go to Step 3

3

Inspect the IPC/BFC ACC fuse.

Is the fuse open?

--

Go to Step 4

Go to Step 7

4

  1. Connect a test lamp between the IPC/BFC ACC fuse terminals at the left IP junction block.
  2. Turn ON the ignition, leaving the engine OFF.

Does the test lamp illuminate?

--

Go to Step 5

Go to Diagnostic Aids

5

  1. Turn OFF the ignition.
  2. Disconnect the BCM connector containing the ignition 0 positive voltage circuit.
  3. Turn ON the ignition, leaving the engine OFF.

Does the test lamp illuminate?

--

Go to Step 6

Go to Step 11

6

  1. Turn OFF the ignition.
  2. Disconnect the IPC connector containing the ignition 0 positive voltage circuit.
  3. Turn ON the ignition, leaving the engine OFF.

Does the test lamp illuminate?

--

Go to Step 9

Go to Step 12

7

  1. Remove the IPC/BFC ACC fuse.
  2. Turn ON the ignition, leaving the engine OFF.
  3. Probe both fuse terminals for the ignition 0 positive voltage circuit at the left IP junction block with a test lamp connected to a good ground.

Does the test lamp illuminate for one of the circuits?

--

Go to Step 8

Go to Step 10

8

Test the ignition 0 positive voltage circuit for an open.

Did you find and correct the condition?

--

Go to Step 15

Go to Step 13

9

Repair the short to ground in the ignition 0 positive voltage circuit.

Did you complete the action?

--

Go to Step 15

--

10

Repair the open in the ignition feed circuit to the IPC/BFC ACC fuse.

Did you complete the action?

--

Go to Step 15

--

11

Inspect for poor connections at the harness connector of the BCM.

Did you find and correct the condition?

--

Go to Step 15

Go to Step 13

12

Inspect for poor connections at the harness connector of the IPC.

Did you find and correct the condition?

--

Go to Step 15

Go to Step 14

13

Replace the BCM. Refer to Body Control Module Replacement in Body Control Systems.

Is the repair complete?

--

Go to Step 15

--

14

Replace the IPC. Refer to Instrument Cluster Replacement in Instrument Panel, Gauges and Console.

Is the repair complete?

--

Go to Step 15

--

15

Use the Scan Tool in order to clear the DTCs.

Is the action complete?

--

Go to Body Control Module System Check

--