GM Service Manual Online
For 1990-2009 cars only

Object Number: 174579  Size: SH

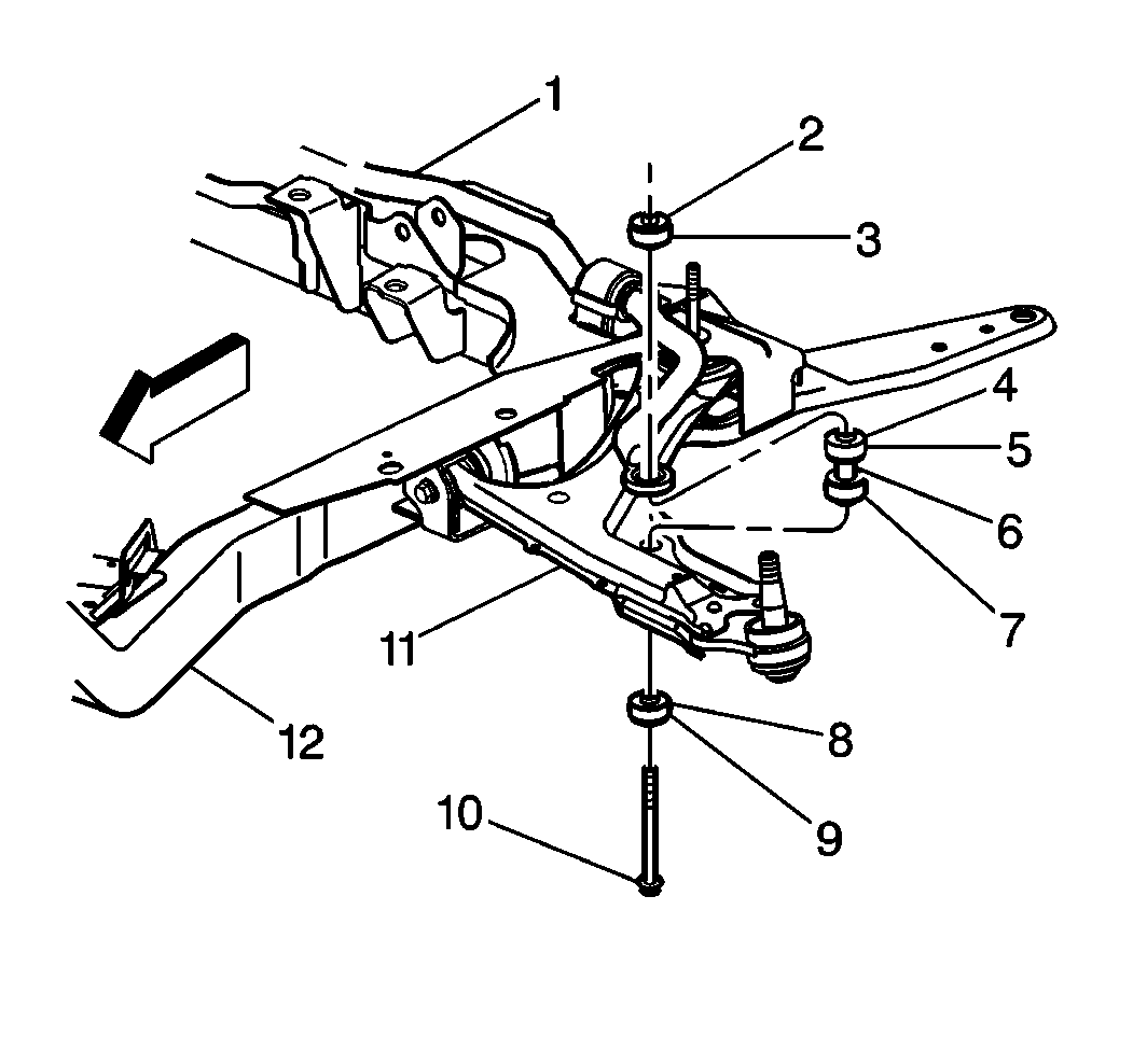
The front suspension is a combination strut and spring design. The control arms (11) pivot from the front suspension crossmember (12). All models use conventional rubber bushings on the lower control arm pivots.


Object Number: 174649  Size: SH

The upper end of the strut (7) is isolated by a rubber mount (1) and contains a bearing that allows for the wheel turning.


Object Number: 186841  Size: SH

The lower end of the steering knuckle pivots on a ball joint  3) riveted to the control arm. The ball joint is fastened to the steering knuckle with a nut (2).

Front Suspension Components Service

When servicing the items listed below, refer to Strut and Knuckle Scribing . By using this method, you will be able to return to the original camber setting. Inspect/adjust the toe when servicing the following items:

    • Strut Mount
    • Jounce Bumper
    • Strut Shield
    • Spring Seat
    • Spring Lower and Upper Insulator

When servicing the following items, adjust the camber and toe after the repairs are completed.

    • Front Spring
    • Strut Dampener
    • Steering Knuckle

Inspection

Replace the suspension components that are bent, worn, or damaged must be replaced with new parts. Do not attempt to heat, quench or straighten any parts.