GM Service Manual Online
For 1990-2009 cars only

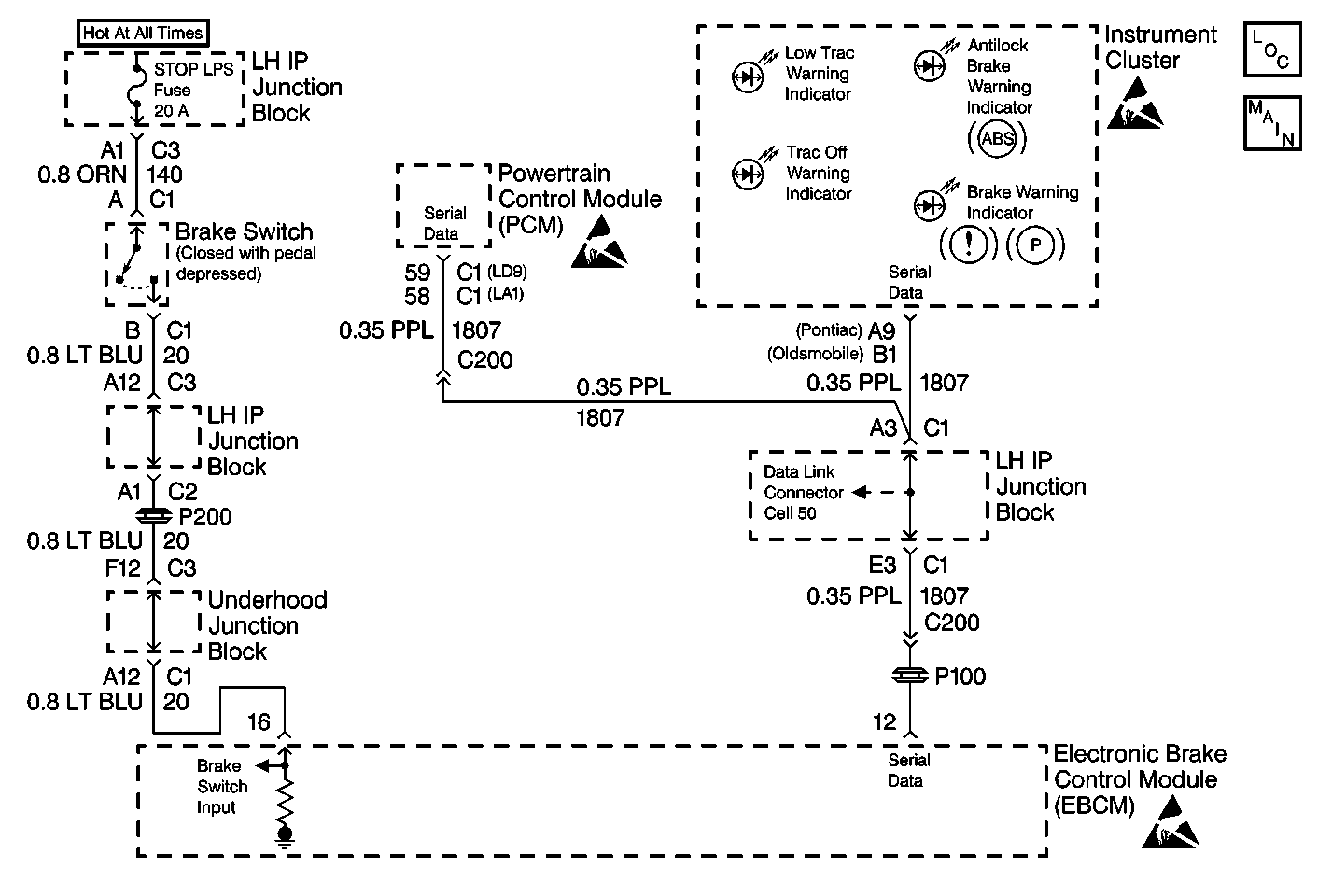
Object Number: 255763  Size: MF
ABS Components
Antilock Brake System Schematics
Handling ESD Sensitive Parts Notice
Handling ESD Sensitive Parts Notice
Handling ESD Sensitive Parts Notice

Circuit Description

Two-way serial communication is sent back and forth between the EBCM and the IPC. A message from the IPC is sent to the EBCM within seven seconds after ABS initialization. A serial communication failure does not allow the proper warning indicator commands to be sent back to the IPC.

Diagnostic Aids

The following conditions may cause an intermittent malfunction:

    • A poor connection
    • Rubbed-through wire insulation
    • A broken wire inside the insulation

Use the Lamp Test function of the Scan Tool in order to turn the indicator ON while looking for an intermittent malfunction in the ABS warning indicator circuitry.

Thoroughly inspect any circuitry that may cause the intermittent complaint for the following conditions:

    • Backed out terminals
    • Improper mating
    • Broken locks
    • Improperly formed or damaged terminals
    • Poor terminal-to-wiring connections
    • Physical damage to the wiring harness

Step

Action

Value(s)

Yes

No

Important: Zero the J 39200 test leads before making any resistance measurements. Refer to the J 39200 user's manual.

1

Was the ABS Diagnostic System Check performed?

--

Go to Step 2

Go to Diagnostic System Check - ABS

2

  1. Turn the ignition switch to the OFF position.
  2. Install a Scan Tool .
  3. Turn the ignition switch to the ON position.
  4. Select Body menu then IPC on the Scan Tool .
  5. Select Lamp Test on the Scan Tool .
  6. Use the Scan Tool in order to flash the warning indicators ON and OFF.

Did the warning indicators flash ON and OFF?

--

Go to Step 6

Go to Step 3

3

Inspect all of the connectors and the terminals for the following conditions:

    • Poor terminal contact
    • Evidence of corrosion

Is there evidence of poor terminal contact or corrosion?

--

Go to Step 4

Go to Step 5

4

Replace all of the terminals that exhibit signs of poor terminal contact or corrosion.

Refer to Wiring Repairs in Wiring Systems.

Is the repair complete?

--

Go to Diagnostic System Check - ABS

--

5

Repair the instrument panel cluster.

Refer to Diagnostic System Check - Instrument Cluster in Instrument Panel, Gages and Console.

Is the repair complete?

--

Go to Diagnostic System Check - ABS

--

6

Replace the EBCM.

Refer to Electronic Brake Control Module Replacement .

Is the repair complete?

--

Go to Diagnostic System Check - ABS

--