GM Service Manual Online
For 1990-2009 cars only
Makes
🢒
Pontiac
🢒
2000
🢒
Grand Am
🢒 Power, Ground, EVAP, and EGR
Power, Ground, EVAP, and EGR
Power, Ground, EVAP, and EGR
Engine Controls Components
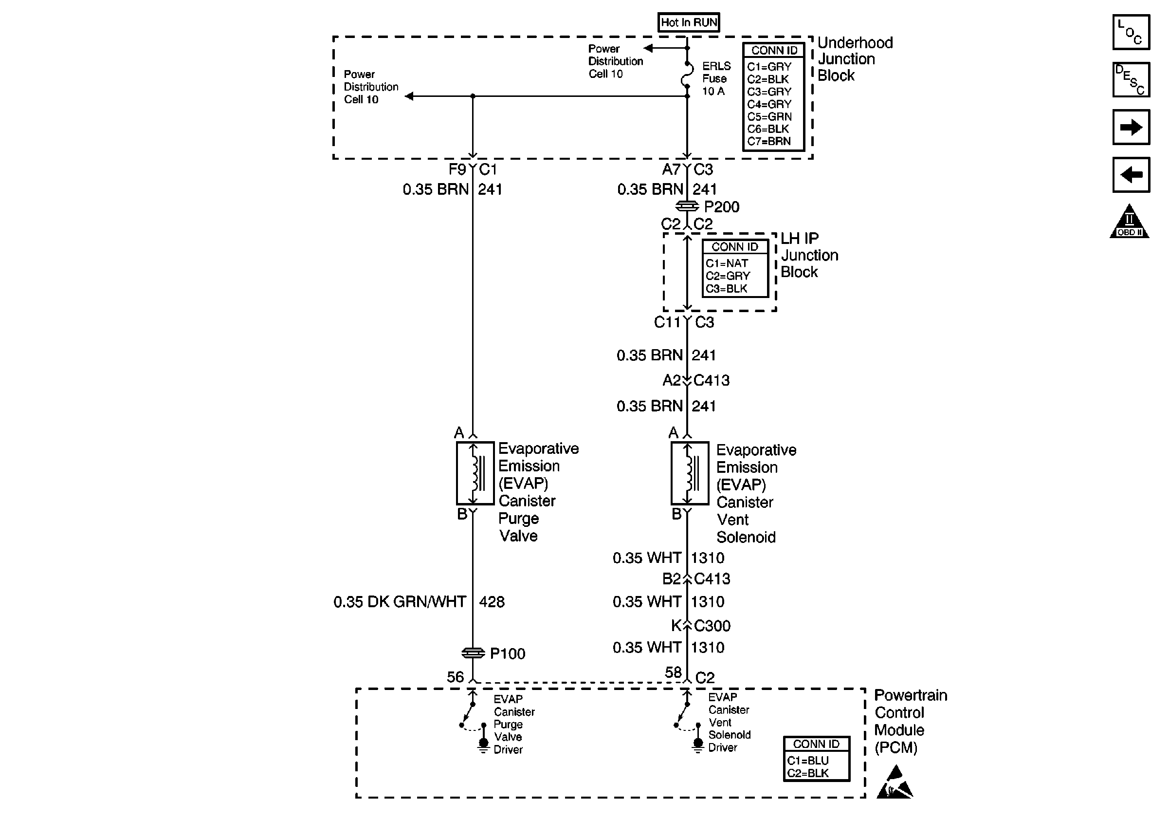
Evaporative Emission Control System Operation Description
Power, Ground, HO2S 2, and O2S 1
Engine Data Sensors
OBD II Symbol Description Notice
Handling ESD Sensitive Parts Notice
Power Distribution Schematics
Power Distribution Schematics