GM Service Manual Online
For 1990-2009 cars only
Makes
🢒
Pontiac
🢒
2000
🢒
Grand Am
🢒 Oil Pressure Sensor, IAC, PNP, and Generator
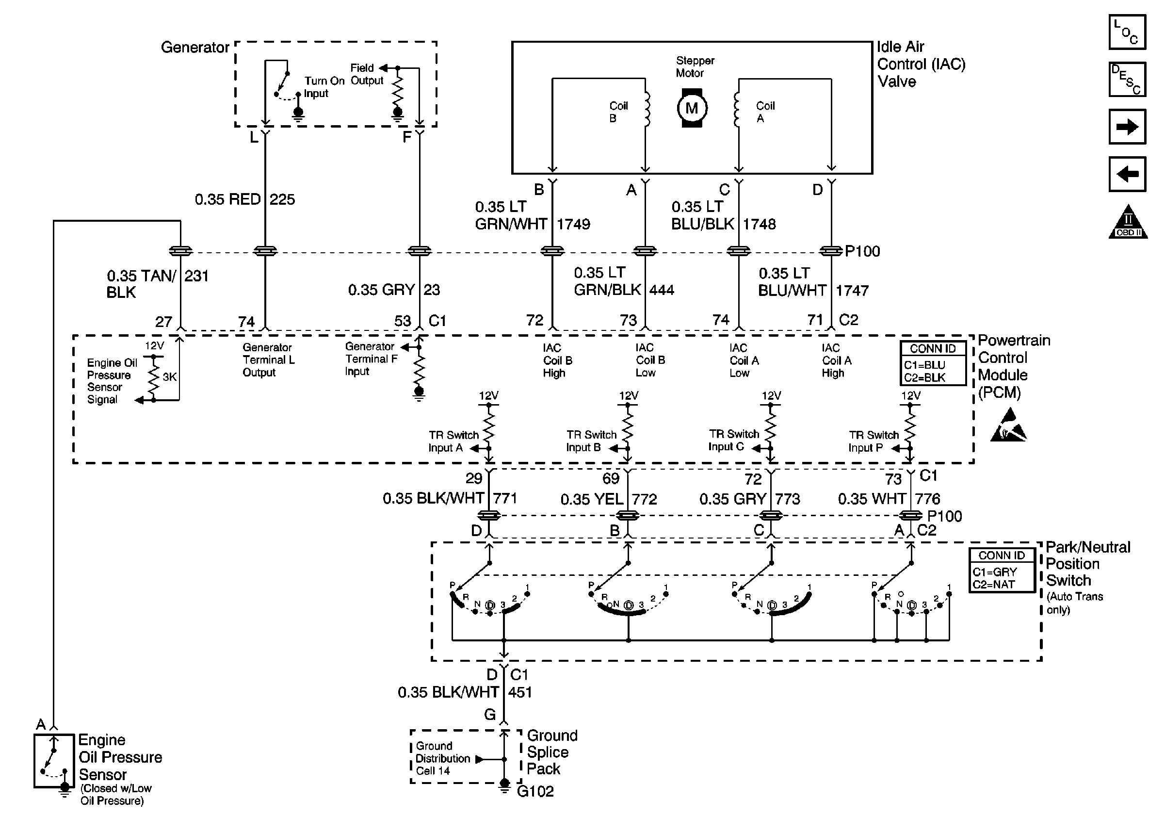
Oil Pressure Sensor, IAC, PNP, and Generator
Oil Pressure Sensor, IAC, PNP, and Generator
Engine Controls Components
Powertrain Control Module Description
Cruise Control Module, and VSS
Power, Ground, HO2S 2, and O2S 1
OBD II Symbol Description Notice
Handling ESD Sensitive Parts Notice
Ground Distribution Schematics