GM Service Manual Online
For 1990-2009 cars only
Makes
🢒
Pontiac
🢒
2000
🢒
Grand Am
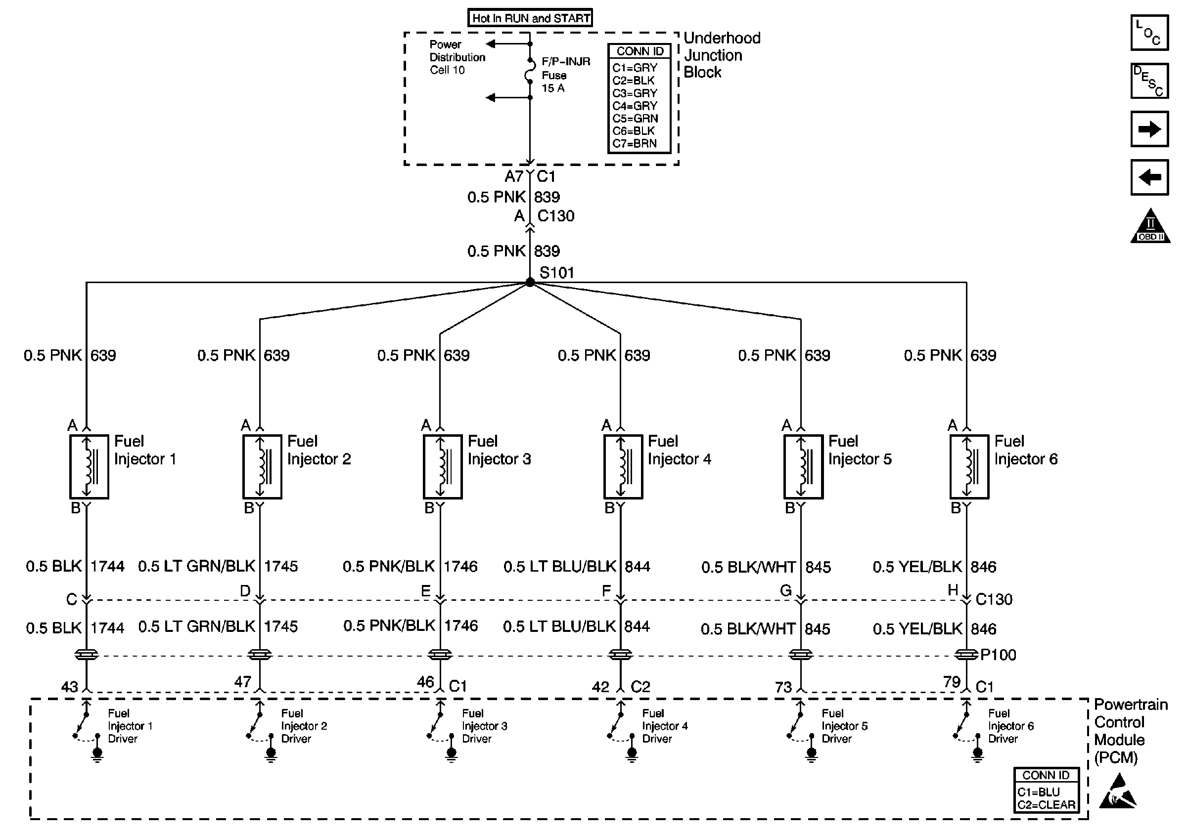
🢒 Power, Ground, and Fuel Injectors
Power, Ground, and Fuel Injectors
Power, Ground, and Fuel Injectors
Engine Controls Components
Powertrain Control Module Description
Power, Ground, MAF, EVAP, and EGR
Fuel System
OBD II Symbol Description Notice
Handling ESD Sensitive Parts Notice
Power Distribution Schematics