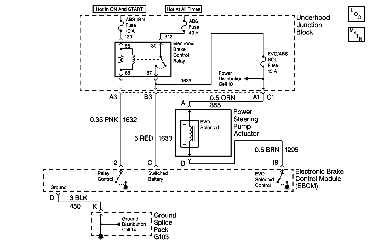
Battery voltage is supplied to power steering pump actuator terminal A when the EBCM commands the Electronic Brake Control Relay ON. Ground for the actuator is provided through EBCM terminal 18 to actuator terminal B. The EBCM controls the amount of current supplied to the actuator based on input from the ABS wheel speed sensors and the steering wheel position sensor.
| • | DTC C1274 can be set anytime after ABS initialization. |
| • | Excessive voltage drop across the power steering pump actuator driver. |
| • | A malfunction DTC stores. |
| • | VES is disabled and power steering returns to full assist. |
| • | ABS remains functional. |
| • | The condition responsible for setting the DTC no longer exists and the scan tool CLEAR DTCs function is used. |
| • | 100 drive cycles pass with no ABS DTCs detected. A drive cycle consists of starting the vehicle, driving the vehicle over 16 km/h (10 mph), stopping and then turning the ignition OFF. |
The following conditions may cause an intermittent malfunction:
| • | A poor connection |
| • | Rubbed-through wire insulation |
| • | A broken wire inside the insulation |
| • | Open or short in any of the steering wheel sensor signal circuit wires |
| • | Malfunctioning power steering pump actuator. |
Use the enhanced diagnostic function of the scan tool in order to determine the frequency of the malfunction.
Thoroughly inspect any circuitry that may be causing the intermittent complaint for the following conditions:
| • | Backed out terminals |
| • | Improper mating |
| • | Broken locks |
| • | Improperly formed or damaged terminals |
| • | Poor terminal-to-wiring connections |
| • | Physical damage to the wiring harness |
Diagnose and correct all ABS DTCs prior to clearing VES DTCs. Clearing VES DTCs will automatically clear ABS DTCs resulting in a loss of DTC history data.
Step | Action | Value(s) | Yes | No |
|---|---|---|---|---|
|
Important: Zero the J 39200 test leads before making any resistance measurements. Refer to the J 39200 user's manual. | ||||
1 | Was the ABS Diagnostic System Check performed? | -- | Go to Step 2 | |
2 |
Is the voltage within the specified range? | 0-1 V | Go to Step 3 | Go to Step 6 |
3 |
Is the resistance within the specified range? | 7-19 ohms | Go to Step 4 | Go to Step 5 |
4 |
Repair the damage if present. Does DTC C1274 set as a current DTC? | -- | Go to Step 10 | Go to Step 8 |
5 |
Is the resistance within the specified range? | OL (Infinite) | Go to Step 9 | Go to Step 7 |
6 | Repair the short to voltage in CKT 1295. Is the repair complete? | -- | -- | |
7 | Repair the short between CKTs 1295 and 1633/855. Is the repair complete? | -- | -- | |
8 | The malfunction is intermittent. Refer to Diagnostic Aids. Is the action complete? | -- | -- | |
9 | Replace the power steering pump actuator. Refer to Variable Effort Steering Actuator Replacement . Is the repair complete? | -- | -- | |
10 | Replace the EBCM. Refer to Electronic Brake Control Module Replacement Is the repair complete? | -- | -- | |