GM Service Manual Online
For 1990-2009 cars only

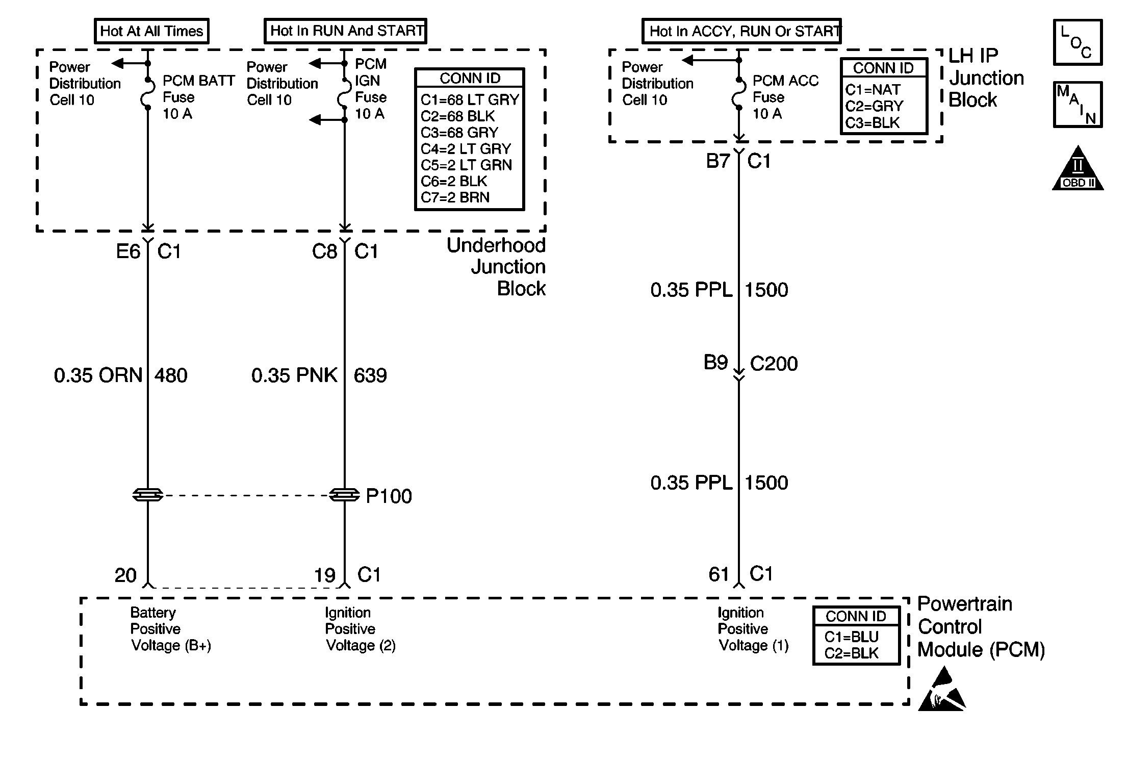
Object Number: 621234  Size: MF
Engine Controls Components
Power, Ground, MIL, and DLC
OBD II Symbol Description Notice
Powertrain Control Module Connector End Views
Handling ESD Sensitive Parts Notice

Circuit Description

The Powertrain Control Module (PCM) monitors the ignition voltage on the ignition positive voltage #2 circuit to the PCM. A DTC will set whenever the voltage is less than a calibrated value.

Conditions for Running the DTC

The engine speed is more than 1300 RPM.

Conditions for Setting the DTC

The ignition voltage is less than 10 volts for 240 seconds.

Action Taken When the DTC Sets

    • The PCM will record the operating conditions at the time during which the diagnostic fails. This information will store in the Failure Records buffer.
    • A history DTC stores.
    • The coolant fan turns on.

Conditions for Clearing the MIL/DTC

    • A history DTC will clear after 40 consecutive warm up cycles without a fault.
    • Use a scan tool to clear the DTCs.

Diagnostic Aids

    • If the DTC sets when you operate an accessory, inspect for a poor electrical connection or test for an excessive current draw.
    • Inspect any suspected circuitry for the following conditions:
       - Any backed out terminals
       - Any incorrect mating
       - Any broken locks
       - Any incorrectly formed connectors
       - Any damaged terminals
       - Any poor terminal-to-wiring connections
       - Any physical damage to the wiring harness

Test Description

The numbers below refer to step numbers on the diagnostic table.

  1. This step tests the generator for malfunctioning under a load.

  2. This step tests the ignition positive voltage circuit for any excessive resistance. An open in this circuit will cause a no-start condition.

  3. The replacement PCM must be programmed and the Crankshaft Position System Variation Learn procedure must be performed.

DTC P0562-System Voltage Low

Step

Action

Values

Yes

No

1

Did you perform the Powertrain On-Board Diagnostic (OBD) System Check?

--

Go to Step 2

Go to Powertrain On Board Diagnostic (OBD) System Check

2

  1. Start the engine and raise the engine speed to the specified value.
  2. Load the electrical system by turning on the following items:
  3. • The headlights
    • The blower motor on High
    • The rear defroster
  4. Observe the ignition 1 voltage on the scan tool.

Is the voltage less than the specified value?

1,400 RPM

10 V

Go to Step 3

Go to Diagnostic Aids

3

  1. Turn off the ignition.
  2. Disconnect the PCM connectors.
  3. Test the ignition voltage circuit for high resistance. Refer to Testing for Continuity in Wiring Systems.

Is the resistance more than the specified value?

0 ohms

Go to Step 5

Go to Step 4

4

  1. Turn off the ignition.
  2. Inspect for a poor connection at the PCM. Refer to Testing for Intermittent Conditions and Poor Connections in Wiring Systems.
  3. If a problem is found, repair as necessary. Refer to Wiring Repairs in Wiring Systems.

Did you find and correct the condition?

--

Go to Step 7

Go to Step 6

5

  1. Turn off the ignition.
  2. Repair the high resistance in the ignition positive voltage circuit. Refer to Wiring Repairs in Wiring Systems.

Did you complete the repair?

--

Go to Step 7

--

6

Important:: The replacement PCM must be programmed. Refer to Powertrain Control Module Replacement/Programming .

Replace the PCM. Refer to Powertrain Control Module Replacement .

Did you complete the repair?

--

Go to Step 7

--

7

  1. Use a scan tool to clear the DTCs.
  2. Operate the vehicle within the Conditions for Running the DTC as specified in the supporting text.

Does the DTC reset?

--

Go to Step 2

System OK