GM Service Manual Online
For 1990-2009 cars only

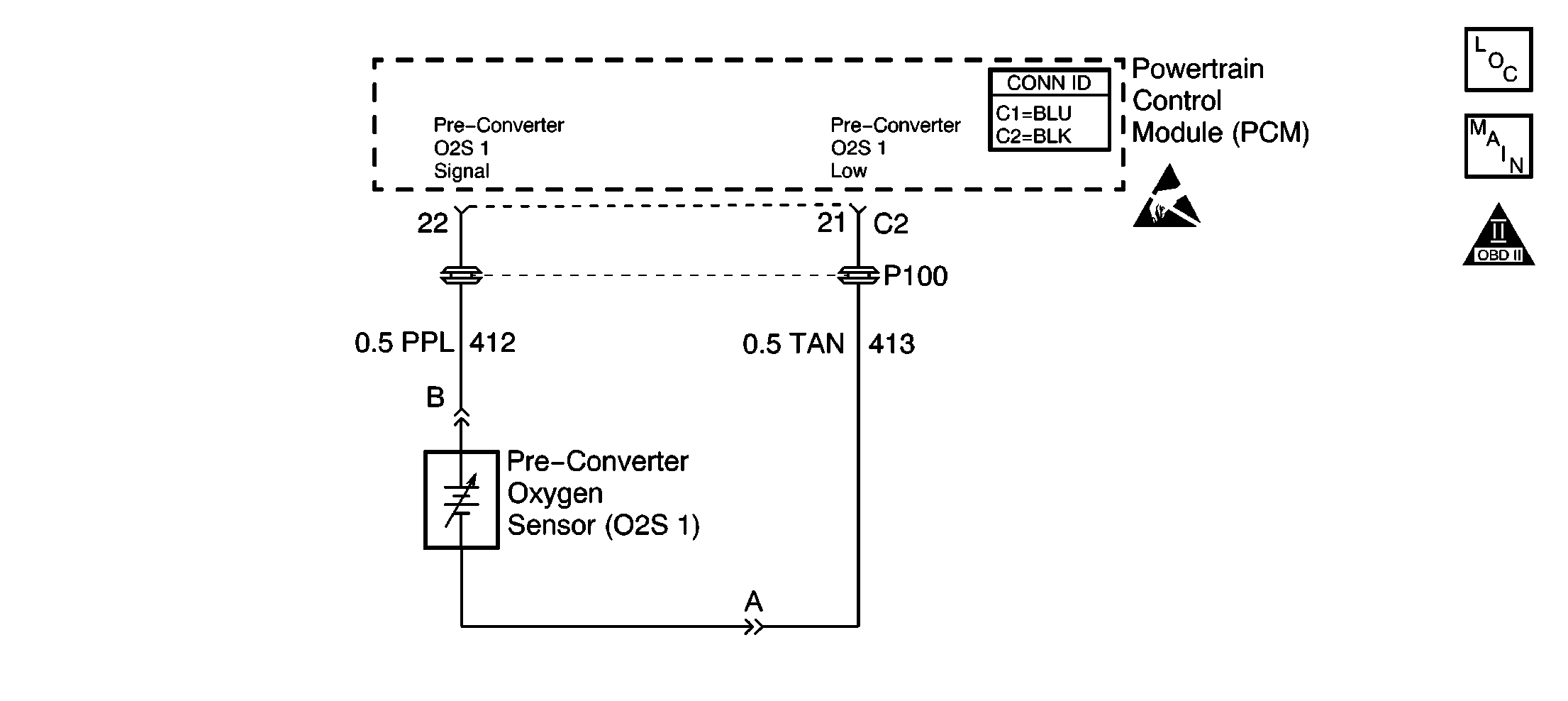
Object Number: 621258  Size: SF
Engine Controls Components
Power, Ground, HO2S 2, and O2S 1
OBD II Symbol Description Notice
Powertrain Control Module Connector End Views
Handling ESD Sensitive Parts Notice

Circuit Description

The Powertrain Control Module(PCM) supplies a voltage of about 0.45 volt between the oxygen sensor (O2S 1) signal and the ground circuit. The O2S 1 varies the voltage within a range of about 1 volt if the exhaust is rich, down through about 0.10 volt if the exhaust is lean.

The sensor is like an open circuit and produces no voltage when below 315°C (600°F). An open sensor circuit or a cold sensor causes an Open Loop operation.

Do not attempt to repair the oxygen sensor. Replace the entire O2S 1 assembly if the following conditions exist:

    • Any damaged wiring
    • A damaged electrical connector
    • Any damaged terminals

Conditions For Running The DTC

    • The following DTCs are not set: P0105, P0107, P0108, P0112, P0113, P0117, P0118, P0122, P0123, P0171, P0201, P0202, P0203, P0204, P0335, P0440. P0442, P0446, P0506, P0507, P0601, P0602, or P1441.
    • The air flow is more than 3 g/s.
    • The engine coolant temperature (ECT) is more than 70°C (158°F).
    • The throttle position (TP) angle is between 4 percent and 56 percent for 20 seconds.
    • The engine run time is more than 30 seconds.

Conditions For Setting The DTC

The O2S 1 voltage is between 399 mV and 499 mV for 125 seconds.

Action Taken When the DTC Sets

    • The Malfunction Indicator Lamp (MIL) will illuminate after 2 consecutive ignition cycles in which the diagnostic runs with the fault active.
    • The PCM will record the operating conditions at the time that the diagnostic fails. This information will store in the Freeze Frame and Failure Records buffers.
    • A history DTC stores.
    • The vehicle will operate in an Open Loop operation.

Conditions for Clearing the MIL/DTC

    • The MIL will turn off after 3 consecutive ignition cycles in which the diagnostic runs without a fault.
    • A history DTC will clear after 40 consecutive warm up cycles without a fault.
    • Use a scan tool to clear the DTCs.

Diagnostic Aids

The normal scan tool voltage varies between 150 mV and 850 mV (0.15 V - 0.85 V) while in a Closed Loop operation.

An intermittent could be the result of the following conditions:

    • A poor electrical connection
    • A rubbed-through wire insulation
    • A broken wire inside of the insulation

Inspect for a poor electrical connection or a damaged harness. Inspect the harness electrical connectors for the following conditions:

    • Any incorrect mating
    • Any broken locks
    • Any incorrectly formed electrical connectors
    • Any damaged terminals
    • A poor terminal-to-wire connection
    • A damaged harness

Do not attempt to repair the oxygen sensor. Replace the entire O2S 1 assembly if the following conditions exist:

    • Any damaged wiring
    • A damaged electrical connector
    • Any damaged terminals

Test Description

The numbers below refer to the step numbers on the diagnostic table:

  1. When the system is operating correctly the O2S voltage should toggle above and below the specified values.

  2. The specified value is what is measured on a correctly operating system.

  3. The specified value is what is measured on a correctly operating system.

  4. The replacement PCM must be reprogrammed and the Crankshaft Position System Variation Learn procedure must be preformed.

DTC P0134 O2S Insufficient Activity

Step

Action

Value(s)

Yes

No

1

Did you perform the Powertrain On-Board Diagnostic (OBD) System Check?

--

Go to Step 2

Go to Powertrain On Board Diagnostic (OBD) System Check

2

Important:: If any other DTCs are set, refer to the other DTCs before proceeding with this table.

  1. The engine is at operating temperature.
  2. Operate engine above 1200 RPM for 2 minutes.
  3. With a scan tool, observe the O2S 1 voltage parameter.

Is the voltage outside the specified range?

400-500 mV

Go to Step 3

Go to Step 4

3

Operate vehicle within the Failure Records conditions.

Does the DTC fail this ignition?

--

Go to Step 4

Go to Diagnostic Aids

4

Inspect and test for the following:

    • An exhaust leak. Refer to Exhaust Leakage - Not OBD II in Engine Exhaust.
    • Verify that the O2S 1 is installed correctly.
    • Any damaged wiring. Refer to Wiring Repairs in Wiring Systems.

Did you find and correct the condition?

--

Go to Step 13

Go to Step 5

5

  1. Turn off the ignition.
  2. Disconnect the O2S 1.
  3. Turn on the ignition, leaving the engine off.
  4. Measure the voltage on the PCM side of the O2S 1 signal circuit with a DMM connected to ground.

Does the voltage approximately equal the specified value?

450 mV

Go to Step 6

Go to Step 8

6

  1. Jumper the signal circuit to the low circuit on the PCM side.
  2. With a scan tool, observe the O2S 1 voltage parameter.

Does the voltage approximately equal the specified value?

0 mV

Go to Step 9

Go to Step 7

7

Test the low circuit for an open or high resistance. Refer to Circuit Testing and to Wiring Repairs in Wiring Systems.

Did you find and correct the condition?

--

Go to Step 13

Go to Step 11

8

Test the signal circuit for an open or high resistance. Refer to Circuit Testing and to Wiring Repairs in Wiring Systems.

Did you find and correct the condition?

--

Go to Step 13

Go to Step 11

9

Inspect for poor connections at the O2S 1. Refer to Testing for Intermittent Conditions and Poor Connections and to Connector Repairs in Wiring Systems.

Did you find and correct the condition?

--

Go to Step 13

Go to Step 10

10

Important:: Determine the cause of contamination before replacing the sensor.

Inspect and test for the following:

    • Any fuel contamination. Refer to Alcohol/Contaminants-in-Fuel Diagnosis .
        An excessive engine oil or coolant consumption. Refer to Oil Consumption Diagnosis in Engine Mechanical.
    • The use of improper RTV sealant.

Replace the O2S 1. Refer to Oxygen Sensor Replacement .

Did you complete the repair?

--

Go to Step 13

--

11

Inspect for poor connections at the PCM. Refer to Testing for Intermittent Conditions and Poor Connections and to Connector Repairs in Wiring Systems.

Did you find and correct the condition?

--

Go to Step 13

Go to Step 12

12

Important:: The replacement PCM must be programmed. Refer to Powertrain Control Module Replacement/Programming .

Replace the PCM. Refer to Powertrain Control Module Replacement .

Did you complete the repair?

--

Go to Step 13

--

13

  1. Use a scan tool to clear the DTCs.
  2. Operate the vehicle within the Conditions for Running the DTC as specified in the supporting text.

Does the DTC reset?

--

Go to Step 2

System OK