During cranking, the Ignition Control (IC) Module monitors the 7X crankshaft position sensor signal. Once the IC Module determines spark synchronization, 3X reference signals are sent to the powertrain control module (PCM). The PCM will command all six injectors on for one priming shot of fuel in all cylinders. After the priming, the injectors are left off for the next six fuel control reference signals, or two crankshaft revolutions. This allows each cylinder a chance to use the fuel from the priming shot. During this waiting period, a cam pulse will have been received by the PCM. The PCM uses the Cam signal pulses in order to initiate sequential fuel injection. The PCM constantly monitors the number of pulses on the Cam signal circuit and compares the number of Cam pulses to the number of 24X reference pulses and the number of 3X reference pulses being received. If the PCM receives an incorrect number of pulses on the Cam reference circuit, DTC P0341 will set and the PCM will initiate injector sequence without the Cam signal with a one in six chance that injector sequence is correct. The engine will continue to start and run normally, although the misfire diagnostic will be affected if a misfiring condition occurs.
The engine is running and the 3X reference pulses are being received.
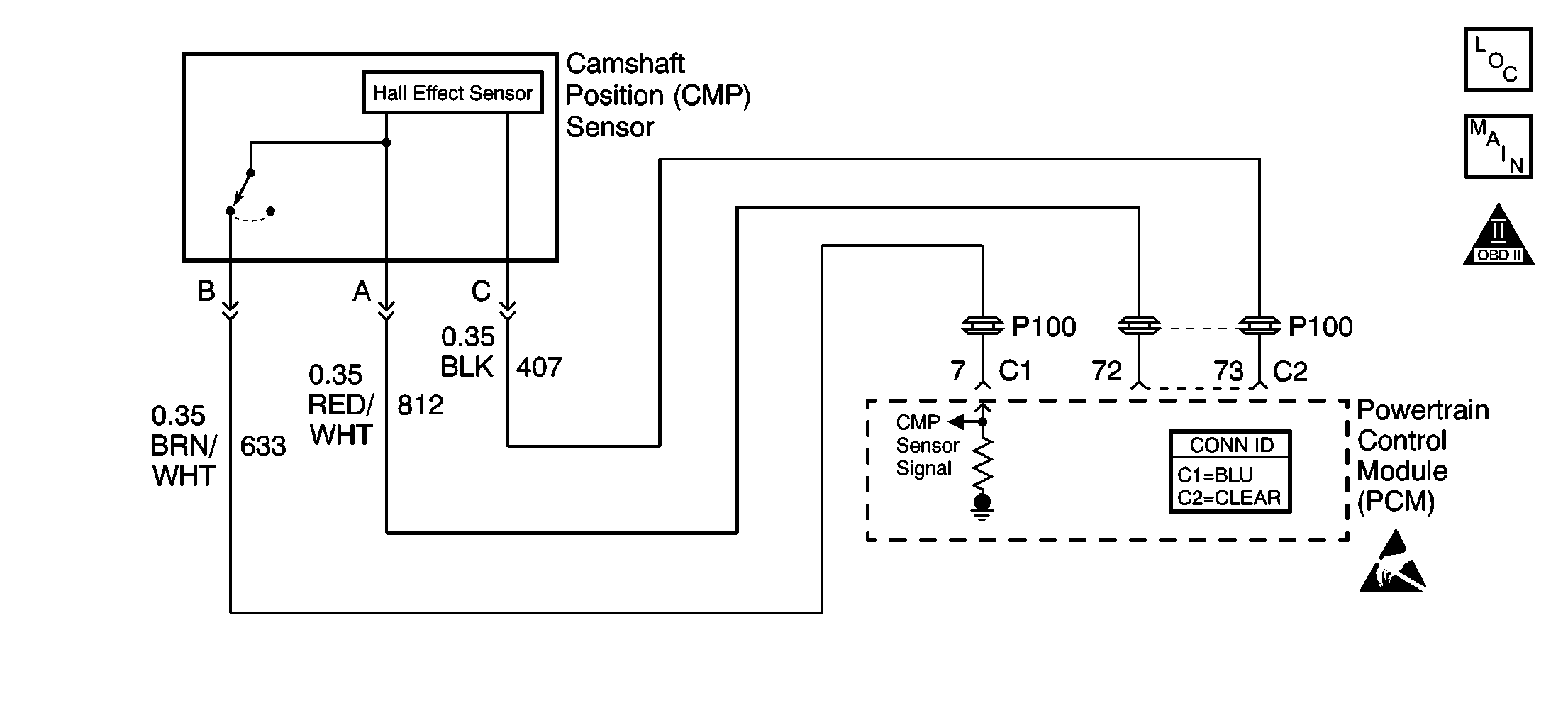
The camshaft position (CMP) sensor reference pulse is not detected every engine cycle.
| • | The PCM will illuminate the malfunction indicator lamp (MIL) during the second consecutive trip in which the diagnostic test has been run and failed. |
| • | The PCM will store conditions which were present when the DTC set as Freeze Frame/Failure Records data. |
| • | The PCM will turn OFF the malfunction indicator lamp (MIL) during the third consecutive trip in which the diagnostic has run and passed. |
| • | The history DTC will clear after 40 consecutive warm-up cycles have occurred without a malfunction. |
| • | The DTC can be cleared by using a scan tool. |
DTC P0341 can be caused by secondary components leaking high voltage into the ignition module. Inspect for the following conditions:
| • | Incorrect harness routing near secondary ignition components |
| • | Ignition coil arcing to the wiring harness or the ignition control (IC) module -- Inspect the ignition coils for cracks, carbon tracking, or other signs of damage. |
| • | Secondary ignition wires that are arcing to the wiring harness. |
Many situations may lead to an intermittent condition. Perform each inspection or test as directed.
Important: : Remove any debris from the connector surfaces before servicing a component. Inspect the connector gaskets when diagnosing or replacing a component. Ensure that the gaskets are installed correctly. The gaskets prevent contaminate intrusion.
| • | Loose terminal connection |
| - | Use a corresponding mating terminal to test for proper tension. Refer to Testing for Intermittent Conditions and Poor Connections , and to Connector Repairs in Wiring Systems for diagnosis and repair. |
| - | Inspect the harness connectors for backed out terminals, improper mating, broken locks, improperly formed or damaged terminals, and faulty terminal to wire connection. Refer to Testing for Intermittent Conditions and Poor Connections , and to Connector Repairs in Wiring Systems for diagnosis and repair. |
| • | Damaged harness--Inspect the wiring harness for damage. If the harness inspection does not reveal a problem, observe the display on the scan tool while moving connectors and wiring harnesses related to the sensor. A change in the scan tool display may indicate the location of the fault. Refer to Wiring Repairs in Wiring Systems for diagnosis and repair. |
| • | Inspect the powertrain control module (PCM) and the engine grounds for clean and secure connections. Refer to Wiring Repairs in Wiring Systems for diagnosis and repair. |
If the condition is determined to be intermittent, reviewing the Snapshot or Freeze Frame/Failure Records may be useful in determining when the DTC or condition was identified.
The numbers below refer to the step numbers on the diagnostic table:
The Cam Signal on the scan tool should change each time the signal circuit is touched.
If the fuse opens in the jumper wire, there is a short to ground on the signal circuit.
This vehicle is equipped with a PCM which utilizes an Electrically Erasable Programmable Read Only Memory (EEPROM). When the PCM is being replaced, the new PCM must be programmed.
Step | Action | Values | Yes | No |
|---|---|---|---|---|
1 | Did you perform the Powertrain On Board Diagnostic (OBD) System Check ? | -- | ||
2 |
Does the scan tool indicate DTC P0341 failed this ignition? | -- | Go to Diagnostic Aids | |
3 |
Does the scan tool indicate the Cam Signal is present? | -- | Go to Diagnostic Aids | |
4 |
Does the voltage measure near the specified value? | B+ | ||
5 |
Did you find and correct the condition? | -- | ||
6 |
Does the test lamp illuminate? | -- | ||
7 |
Did you find and correct the condition? | -- | ||
Does the Cam Signal change EACH time the signal circuit is touched? | -- | |||
Did the fuse in the jumper wire open? | -- | |||
10 | Test the signal circuit of the CMP sensor for a short to voltage or an open. Refer to Wiring Repairs in Wiring Systems. Did you find and correct the condition? | -- | ||
11 | Test the signal circuit of the CMP sensor for a short to ground. Refer to Wiring Repairs in Wiring Systems. Did you find and correct the condition? | -- | ||
12 | Inspect for faulty connections at the PCM. Refer to Testing for Intermittent Conditions and Poor Connections in Wiring Systems. Did you find and correct the condition? | -- | ||
|
Important : The replacement PCM must be reprogrammed. Replace the PCM. Refer to Powertrain Control Module Replacement/Programming . Did you complete the replacement? | -- | -- | ||
14 | Inspect for faulty connections at the CMP sensor. Refer to Wiring Repairs in Wiring Systems. Did you find and correct the condition? | -- | ||
15 | Replace the CMP sensor. Refer to Camshaft Position Sensor Replacement . Did you complete the replacement? | -- | -- | |
16 |
Does the DTC reset? | -- | System OK |