GM Service Manual Online
For 1990-2009 cars only

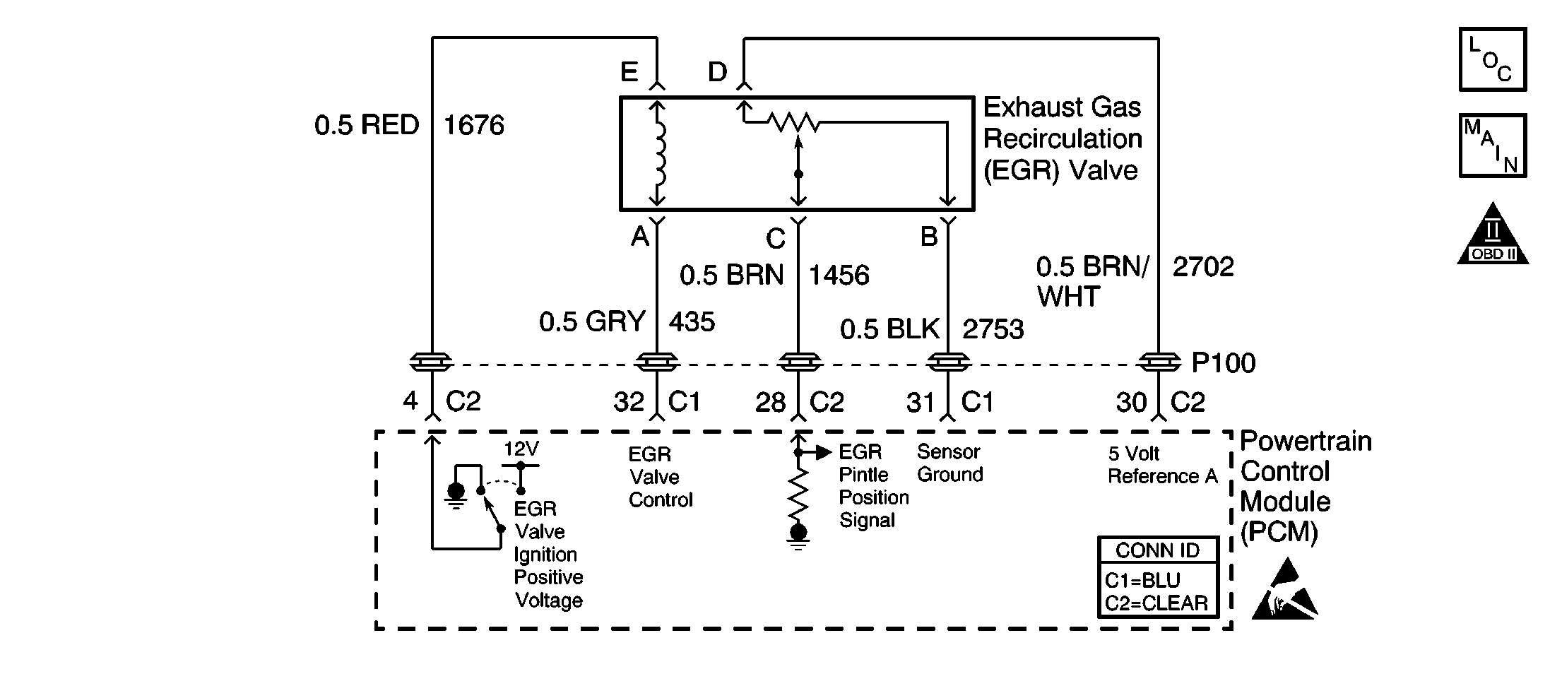
Object Number: 577144  Size: SF
Engine Controls Components
Power, Ground, MAF, EVAP, and EGR
OBD II Symbol Description Notice
Handling ESD Sensitive Parts Notice

Circuit Description

The powertrain control module (PCM) monitors the EGR valve pintle position input to ensure that the valve responds properly to commands from the PCM. The PCM compares Actual EGR Position with Desired EGR Position when the valve is commanded open. If the difference between actual EGR position and desired EGR Position is more than 15 percent DTC P0404 will set.

Conditions for Running the DTC

    • The ignition is ON.
    •  The system voltage is between 9.0-18.0 volts.

Conditions for Setting the DTC

    • The difference between the Actual EGR and the Desired EGR Position is more than 15 percent.
    •  The condition is present for more than 20 seconds.

Action Taken When the DTC Sets

    • The PCM will illuminate the malfunction indicator lamp (MIL) during the second consecutive trip in which the diagnostic test has been run and failed.
    • The PCM will store conditions which were present when the DTC set as Freeze Frame/Failure Records data.

Conditions for Clearing the MIL/DTC

    • The PCM will turn OFF the malfunction indicator lamp (MIL) during the third consecutive trip in which the diagnostic has run and passed.
    • The history DTC will clear after 40 consecutive warm-up cycles have occurred without a malfunction.
    • The DTC can be cleared by using a scan tool.

Diagnostic Aids

Inspect for the following conditions:

Excessive deposits on the EGR pintle or seat -- Remove the EGR valve and inspect for deposits that may interfere with the EGR valve pintle extending completely or cause the pintle to stick.

Many situations may lead to an intermittent condition. Perform each inspection or test as directed.

Important: :  Remove any debris from the connector surfaces before servicing a component. Inspect the connector gaskets when diagnosing or replacing a component. Ensure that the gaskets are installed correctly. The gaskets prevent contaminate intrusion.

    • Loose terminal connection
       -  Use a corresponding mating terminal to test for proper tension. Refer to Testing for Intermittent Conditions and Poor Connections , and to Connector Repairs in Wiring Systems for diagnosis and repair.
       -  Inspect the harness connectors for backed out terminals, improper mating, broken locks, improperly formed or damaged terminals, and faulty terminal to wire connection. Refer to Testing for Intermittent Conditions and Poor Connections , and to Connector Repairs in Wiring Systems for diagnosis and repair.
    • Damaged harness--Inspect the wiring harness for damage. If the harness inspection does not reveal a problem, observe the display on the scan tool while moving connectors and wiring harnesses related to the sensor. A change in the scan tool display may indicate the location of the fault. Refer to Wiring Repairs in Wiring Systems for diagnosis and repair.
    •  Inspect the powertrain control module (PCM) and the engine grounds for clean and secure connections. Refer to Wiring Repairs in Wiring Systems for diagnosis and repair.

If the condition is determined to be intermittent, reviewing the Snapshot or Freeze Frame/Failure Records may be useful in determining when the DTC or condition was identified.

Test Description

The numbers below refer to the step numbers on the diagnostic table:

  1. This step verifies that the malfunction is present.

  2. If DTC P0404 will only set under certain conditions, the malfunction may be intermittent. Refer to Diagnostic Aids. If an intermittent wiring problem is not present, test for a faulty connection at the PCM or the EGR valve. If the connections are OK and DTC P0404 continues to set, replace the EGR valve.

  3. This vehicle is equipped with a PCM which utilizes an Electrically Erasable Programmable Read Only Memory (EEPROM). When the PCM is being replaced, the new PCM must be programmed.

Step

Action

Values

Yes

No

1

Did you perform the Powertrain On Board Diagnostic (OBD) System Check?

--

Go to Step 2

Go to Powertrain On Board Diagnostic (OBD) System Check

2

Important: If any of the following DTCs are set, diagnose the other DTC first.

  1. Turn ON the ignition.
  2. Select the scan tool EGR valve output control function.
  3. Increment the EGR valve through all positions while comparing Desired EGR Position to Actual EGR Position.

Does desired EGR position remain within 15  percent of actual EGR position at all commanded positions?

--

Go to Step 3

Go to Step 4

3

  1. Review and record the scan tool Failure Records data.
  2. Operate the vehicle within Failure Records conditions.
  3. Using a scan tool, monitor specific DTC info for DTC P0404.

Does the scan tool indicate DTC P0404 failed this ignition?

--

Go to Step 4

Go to Diagnostic Aids

4

  1. Turn OFF the ignition.
  2. Disconnect the EGR valve.
  3. Turn ON the ignition, with the engine OFF.

Does the pintle position displayed on the scan tool equal the specified value?

0%

Go to Step 5

Go to Step 7

5

Connect a DMM to measure voltage between the sensor ground circuit and the 5 volt reference A circuit at the harness connector.

Is the voltage at the specified value?

5.0V

Go to Step 6

Go to Step 8

6

Important : If the 3-amp fuse blows, locate and repair a short to ground in the signal circuit. Refer to Wiring Repairs in Wiring Systems.

Install a 3-amp fused jumper between the 5 V reference circuit and the signal circuit at the EGR valve harness connector.

Does the pintle position displayed on the scan tool equal the specified value?

100%

Go to Step 12

Go to Step 10

7

Test the Signal Circuit for a short to voltage and repair as the circuit necessary. Refer to Wiring Repairs in Wiring Systems.

Did you find and correct the condition?

--

Go to Step 16

Go to Step 15

8

Connect the DMM between the 5 V reference circuit and a good ground.

Is the voltage at the specified value?

5.0V

Go to Step 9

Go to Step 11

9

Test the sensor ground circuit for an open or short to voltage. Refer to Wiring Repairs in Wiring Systems.

Did you find and correct the condition?

--

Go to Step 16

Go to Step 12

10

Test the signal circuit for high resistance or a high resistance short to ground. Refer to Wiring Repairs in Wiring Systems.

Did you find and correct the condition?

--

Go to Step 16

Go to Step 14

11

  1. Test the 5 V reference circuit for an open, a short to ground, or a short to voltage.
  2. Repair the circuit as necessary. Refer to Wiring Repairs in Wiring Systems.

Did you find and correct the condition?

--

Go to Step 16

Go to Step 14

12

Inspect for faulty terminal connections at the EGR valve. Refer to Testing for Continuity , Testing for Intermittent Conditions and Poor Connections , Repairing Connector Terminals , and Connector Repairs in Wiring Systems.

Did you find and correct the condition?

--

Go to Step 16

Go to Step 14

13

Inspect the circuits related to the EGR valve for faulty terminal connections at the PCM. Refer to Testing for Continuity , Testing for Intermittent Conditions and Poor Connections , Repairing Connector Terminals , and Connector Repairs in Wiring Systems.

Did you find and correct the condition?

--

Go to Step 16

Go to Step 15

14

Replace the EGR valve. Refer to Exhaust Gas Recirculation Valve Replacement .

Did you complete the replacement?

--

Go to Step 16

--

15

Important: The replacement PCM must be programmed.

Replace the PCM. Refer to Powertrain Control Module Replacement/Programming .

Did you complete the replacement?

--

Go to Step 16

--

16

  1. Review and record the scan tool Failure Records data.
  2. Clear the DTCs.
  3. Operate the vehicle within Failure Records conditions.
  4. Using a scan tool, monitor specific DTC info for DTC P0404.

Does the scan tool indicate DTC P0404 failed this ignition?

--

Go to Step 2

System OK