GM Service Manual Online
For 1990-2009 cars only

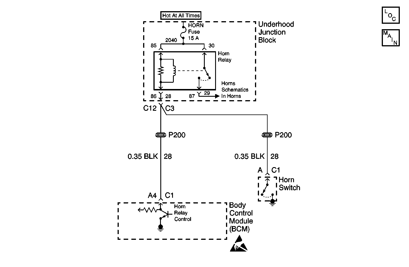
Object Number: 587067  Size: MF
Horns Components
Horn Schematics
Horn Schematics

Circuit Description

CKT 28 is an input to the body control module (BCM). The BCM monitors CKT 28 in order to determine if the horn circuit is shorted. CKT 28 also acts as an output to sound the horn for RFA functions

Conditions for Running the DTC

The BCM is commanding the horn relay ON (keyfob panic button pressed) or the horn switch is pressed.

Conditions for Setting the DTC

Circuit 28 is shorted to battery positive voltage for .5 seconds

Action Taken When the DTC Sets

    • The BCM disables the horn relay control output for the remainder of the current ignition cycle.
    • The SERVICE VEHICLE SOON indicator illuminates.

Conditions for Clearing the DTC

    • A current DTC B2753 clears when the malfunction is no longer present and the ignition switch is cycled.
    • A history DTC clears after 100 ignition cycles (from off to on) with no current codes active during the 100 ignition cycles.

Diagnostic Aids

    • If circuit 28 is shorted to battery and the horn switch is pressed, a direct short to battery will result.
    • If the DTC is a history DTC, the problem may be intermittent. Perform the above tests while wiggling the wiring and connectors. This will often cause the malfunction to appear.

Test Description

The number(s) below refer to the step number(s) on the diagnostic table.

  1. Listen for an audible click when the horn relay operates. Command both the ON and OFF states. Repeat the commands as necessary.

  2. Tests for voltage at the coil side of the horn relay.

  3. Verifies that the body control module and horn switch are providing ground to the horn relay.

  4. Tests if ground is constantly being applied to the horn relay.

Step

Action

Yes

No

1

Did you perform the Horns Diagnostic System Check?

Go to Step 2

Go to Diagnostic System Check - Horns

2

  1. Install a scan tool.
  2. Turn ON the ignition, with the engine OFF.
  3. With a scan tool, command the horn relay ON and OFF.

Does the horn relay turn ON and OFF with each command?

Go to Testing for Intermittent Conditions and Poor Connections in Wiring Systems

Go to Step 3

3

  1. Turn OFF the ignition.
  2. Disconnect the horn relay.
  3. Turn ON the ignition, with the engine OFF.
  4. Probe the coil side feed circuit of the horn relay with a test lamp that is connected to a good ground.

Does the test lamp illuminate?

Go to Step 4

Go to Step 10

4

  1. Connect a test lamp between the control circuit of the horn relay and the coil side feed circuit of the horn relay.
  2. With a scan tool, command the horn relay ON and OFF.

Does the test lamp turn ON and OFF with each command?

Go to Step 8

Go to Step 5

5

Does the test lamp remain illuminated with each command?

Go to Step 7

Go to Step 6

6

Test the control circuit of the horn relay for a short to voltage. Refer to Circuit Testing and Wiring Repairs in Wiring Systems.

Did you find and correct the condition?

Go to Step 13

Go to Step 9

7

Test the control circuit of the horn relay for a short to ground. Refer to Circuit Testing and Wiring Repairs in Wiring Systems.

Did you find and correct the condition?

Go to Step 13

Go to Step 9

8

Inspect for poor connections at the horn relay. Refer to Testing for Intermittent Conditions and Poor Connections and Connector Repairs in Wiring Systems.

Did you find and correct the condition?

Go to Step 13

Go to Step 11

9

Inspect for poor connections at the harness connector of the body control module. Refer to Testing for Intermittent Conditions and Poor Connections and Connector Repairs in Wiring Systems.

Did you find and correct the condition?

Go to Step 13

Go to Step 12

10

Repair an open in the coil side feed circuit of the horn relay. Refer to Wiring Repairs in Wiring Systems.

Did you complete the repair?

Go to Step 13

--

11

Replace the horn relay.

Did you complete the replacement?

Go to Step 13

--

12

Replace the body control module. Refer to Body Control Module Replacement in Body Control System.

Important: Perform the set up procedure for the body control module. Refer to Body Control Module (BCM) Programming/RPO Configuration .

Did you complete the replacement?

Go to Step 13

--

13

  1. Use the scan tool in order to clear the DTCs .
  2. Operate the vehicle within the Conditions for Running the DTC as specified in the supporting text.

Does the DTC reset?

Go to Step 2

System OK