GM Service Manual Online
For 1990-2009 cars only

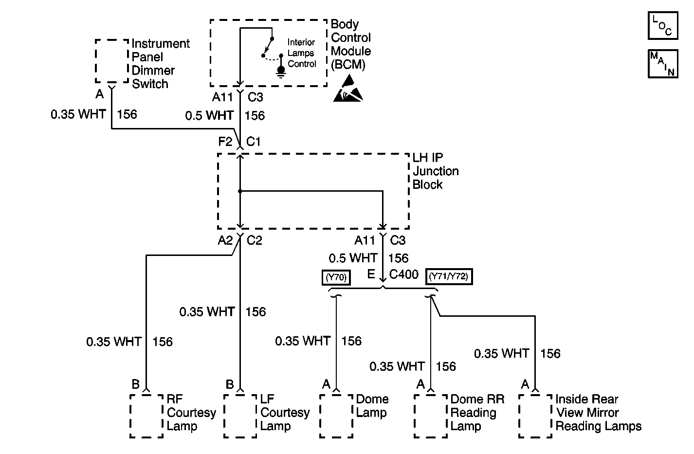
Object Number: 582725  Size: MF
Lighting Systems Components
Interior Lights Schematics

Circuit Description

The interior lamps controlled by the BCM consist of the dome lamp, courtesy lamps and the rearview mirror reading lamps. Battery voltage for the interior lamps is supplied by the BCM through the inadvertent power relay output (circuit 1732) which is internal to the BCM. The interior lamps are controlled by the body control module (BCM) by grounding circuit 156. If circuit 156 becomes shorted to battery voltage, DTC B2558 sets.

Conditions for Running the DTC

The interior lamps are commanded on by the BCM.

Conditions for Setting the DTC

The interior lamp control circuit (156) is shorted to battery positive voltage for .5 second.

Action Taken When the DTC Sets

The BCM disables the interior lamp control output for the remainder of the ignition cycle.

Conditions for Clearing the DTC

    • A current DTC B2558 will clear when the malfunction is no longer present and the ignition switch is cycled.
    • All BCM history codes clear after 100 ignition cycles with no current codes active during the 100 ignition cycles.

Diagnostic Aids

If the DTC is a history DTC, the problem may be intermittent. Try the performing tests while wiggling the wiring and connectors. This can often cause the malfunction to appear.

Test Description

The number(s) below refer to the step number(s) on the diagnostic table.

  1. The normal state of the INTERIOR LAMP OUTPUT parameter with a door open is ON.

  2. The normal state of the INTERIOR LAMP OUTPUT parameter with all doors closed is OFF.

Step

Action

Yes

No

1

Did you perform the Lighting Systems Diagnostic System Check?

Go to Step 2

Go to Diagnostic System Check - Lighting Systems

2

  1. Open the left front door.
  2. Install a scan tool.
  3. Turn ON the ignition, with the engine OFF.
  4. With a scan tool, observe the INTERIOR LAMP OUTPUT parameter in the LAMP STATUS data list.

Does the scan tool display ON?

Go to Step 3

Go to Step 4

3

  1. Close the left front door.
  2. With the scan tool, observe the INTERIOR LAMP OUTPUT parameter.

Does the INTERIOR LAMP OUTPUT parameter change state?

Go to Testing for Intermittent Conditions and Poor Connections in Wiring Systems

Go to Step 4

4

  1. Ensure that the left front door is open.
  2. Turn OFF the ignition.
  3. Disconnect the following components:
  4. • Dome lamp
    • Left and right courtesy lamps
    • Rearview mirror reading lamps (if equipped)
    • The IP compartment lamp
    • The rear compartment lamp
  5. Turn ON the ignition, with the engine OFF.
  6. With a scan tool, observe the INTERIOR LAMP OUTPUT parameter.

Does the scan tool display ON?

Go to Step 7

Go to Step 5

5

Test the signal circuit of the interior lamps for a short to battery. Refer to Circuit Testing and Wiring Repairs in Wiring Systems.

Did you find and correct the condition?

Go to Step 10

Go to Step 6

6

Inspect for poor connections at the harness connector of the BCM. Refer to Testing for Intermittent Conditions and Poor Connections and Connector Repairs in Wiring Systems.

Did you find and correct the condition?

Go to Step 10

Go to Step 8

7

Inspect for poor connections at the harness connectors of the interior lamps. Refer to Testing for Intermittent Conditions and Poor Connections and Connector Repairs in Wiring Systems.

Did you find and correct the condition?

Go to Step 10

Go to Step 9

8

    Important: Perform the set up procedure for the body control module.

  1. Refer to Body Control Module (BCM) Programming/RPO Configuration .
  2. Replace the body control module. Refer to Body Control Module Replacement in Body Control System.

Did you complete the replacement?

Go to Step 10

--

9

Replace the malfunctioning interior lamp or connector.

Did you complete the replacement?

Go to Step 10

--

10

  1. Use the scan tool in order to clear the DTCs.
  2. Operate the vehicle within the Conditions for Running the DTC as specified in the supporting text.

Does the DTC reset?

Go to Step 2

System OK