GM Service Manual Online
For 1990-2009 cars only

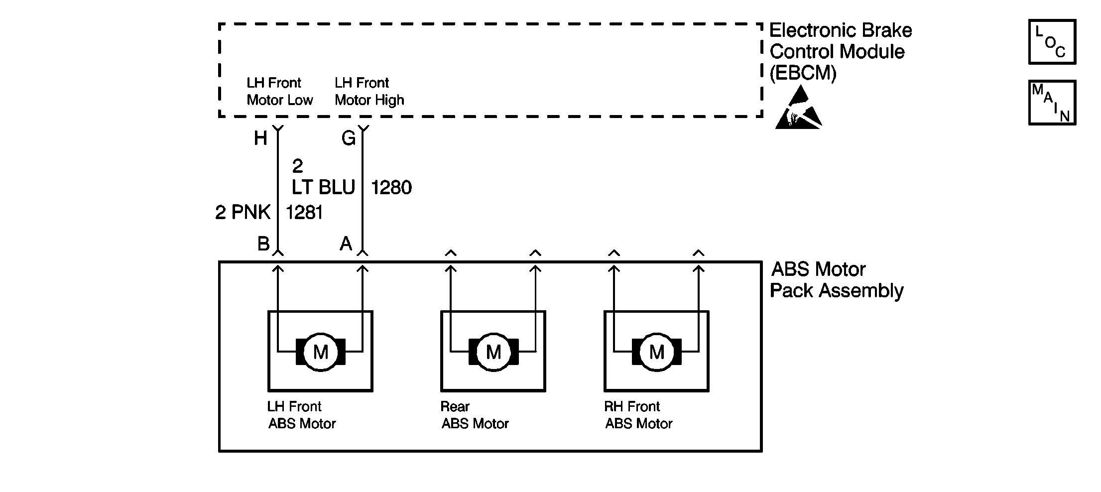
Object Number: 189071  Size: SF
ABS Components
Antilock Brake System Schematics
Handling ESD Sensitive Parts Notice

Circuit Description

DTC C1256 identifies an ABS motor that cannot energize due to an open in the ABS motor circuitry. The malfunction will not allow proper front ABS operation.

Conditions for Setting the DTC

DTC C1256 can only set when the motor is commanded OFF.

A malfunction exists if the EBCM detects an out of range voltage on either of the left front ABS motor circuits. The out of range voltage on either circuit indicates an open circuit exists.

Action Taken When the DTC Sets

    • A malfunction DTC stores.
    • The ABS disables.
    • The ABS warning indicator turns ON.
    • A rehome is commanded on the other two channels to ensure they are in the home position.

Conditions for Clearing the DTC

    • The condition responsible for setting the DTC no longer exists and the Scan Tool Clear DTCs function is used.
    • 100 drive cycles pass with no DTCs detected. A drive cycle consists of starting the vehicle, driving the vehicle over 16 km/h (10 mph), stopping and then turning the ignition OFF.

Diagnostic Aids

Use the Scan Tool Manual Control function in order to exercise ABS motor movement of affected channel in both directions while applying light pressure on the brake pedal.

An intermittent malfunction may be indicated if erratic or jumpy brake pedal movement is detected while performing an apply or release function of the ABS monitor.

The following conditions may cause an intermittent malfunction:

    • A poor connection
    • Rubbed-through wire insulation
    • A broken wire inside the insulation

If the malfunction is not current, use the following procedure to pinpoint an intermittent malfunction in the motor circuitry or connections:

  1. Wiggle the wires of the affected channel.
  2. Inspect if the DTC resets.

Use the enhanced diagnostic function of the Scan Tool in order to measure the frequency of the malfunction.

Thoroughly inspect any circuitry that may be causing the intermittent complaint for the following conditions:

    • Backed out terminals
    • Improper mating
    • Broken locks
    • Improperly formed or damaged terminals
    • Poor terminal-to-wiring connections
    • Physical damage to the wiring harness

Clear the DTCs after completing the diagnosis. Test drive the vehicle for three drive cycles in order to verify that the DTC does not reset. Use the following procedure in order to complete one drive cycle:

  1. Start the vehicle.
  2. Drive the vehicle over 16 km/h (10 mph).
  3. Stop the vehicle.
  4. Turn the ignition switch to the OFF position.

Test Description

  1. This test checks for proper resistance of the motor.

  2. This test checks for an open in the motor high circuitry.

  3. This test checks for an open in the motor low circuitry.

  4. This test determines if the malfunction is caused by the EBCM.

Step

Action

Value(s)

Yes

No

Important: Zero the J 39200 test leads before making any resistance measurements. Refer to the J 39200 user's manual.

1

Was the ABS Diagnostic System Check performed?

--

Go to Step 2

Go to Diagnostic System Check - ABS

2

Does DTC C1256 occur intermittently?

--

Go to Diagnostic Aids

Go to Step 3

3

  1. Turn the ignition switch to the OFF position.
  2. Disconnect the ABS brake motor pack connector.
  3. Use the J 39200 in order to measure the resistance between the ABS brake motor pack terminal A and the ABS brake motor pack terminal B.

Is the resistance within the specified range?

0.2-1.5 ohms

Go to Step 4

Go to Step 8

4

  1. Disconnect the EBCM connector.
  2. Use the J 39200 in order to measure the resistance between the ABS brake motor pack harness connector terminal A and the EBCM harness connector terminal G.

Is the resistance within the specified range?

0-2 ohms

Go to Step 5

Go to Step 9

5

Use the J 39200 in order to measure the resistance between the ABS brake motor pack harness connector terminal B and the EBCM harness connector terminal H.

Is the resistance within the specified range?

0-2 ohms

Go to Step 6

Go to Step 10

6

  1. Inspect the following connectors:
  2. • The ABS brake motor pack connector
    • The ABS brake motor pack harness connector
    • The EBCM connector
    • The EBCM harness connector
  3. Inspect the connectors for the following conditions:
  4. • Poor terminal contact
    • Corrosion

Is there evidence of poor terminal contact and corrosion?

--

Go to Step 11

Go to Step 7

7

  1. Reconnect the ABS brake motor pack connector.
  2. Reconnect the EBCM connector.
  3. Test drive the vehicle.
  4. Be sure to obtain a speed of at least 16 km/h (10 mph).

  5. Turn the ignition switch to the OFF position.
  6. Repeat the drive sequence two more times.
  7. Use the Scan Tool in order to look for DTCs.

Does DTC C1256 set as a current DTC during the last three drive cycles?

--

Go to Step 12

Go to Step 13

8

Replace the ABS brake motor pack. Refer to ABS Motor Pack Replacement .

Is the repair complete?

--

Go to Diagnostic System Check - ABS

--

9

Repair the open or high resistance in CKT 1280. Refer to Wiring Repairs in Wiring Systems.

Is the repair complete?

--

Go to Diagnostic System Check - ABS

--

10

Repair the open or high resistance in CKT 1281. Refer to Wiring Repairs in Wiring Systems.

Is the repair complete?

--

Go to Diagnostic System Check - ABS

--

11

Replace all of the terminals or the connectors that exhibit signs of poor terminal contact, corrosion, or damaged terminal(s) Refer to Wiring Repairs in Wiring Systems.

Is the repair complete?

--

Go to Diagnostic System Check - ABS

--

12

Replace the EBCM. refer to Electronic Brake Control Module Replacement .

Is the repair complete?

--

Go to Diagnostic System Check - ABS

--

13

The malfunction is intermittent or is not present at this time.

Refer to Diagnostic Aids for more information.

Is the action complete?

--

System OK

--