GM Service Manual Online
For 1990-2009 cars only
Table 1: Electronic Brake Control Module (EBCM)
Table 2: Traction Control Switch (Oldsmobile)
Table 3: Traction Control Switch (Pontiac)
Table 4: Wheel Speed Sensor (WSS) -- LF
Table 5: Wheel Speed Sensor (WSS) -- LR
Table 6: Wheel Speed Sensor (WSS) -- RF
Table 7: Wheel Speed Sensor (WSS) -- RR

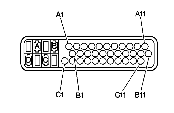
Electronic Brake Control Module (EBCM)


Object Number: 394628  Size: CH

Connector Part Information

    • 15336549
    • 37-Way F Micro-Pack 100 Series (BLK)

Pin

Wire Color

Circuit No.

Function

A

RED

342

Battery Positive Voltage

A1-A2

--

--

Not Used

A3

BLK

884

Left Rear Wheel Speed Sensor Signal

A4

RED

885

Left Rear Wheel Speed Sensor Low Reference

A5

WHT

883

Right Rear Wheel Speed Sensor Low Reference

A6

BRN

882

Right Rear Wheel Speed Sensor Signal

A7

TAN

833

Right Front Wheel Speed Sensor Low Reference

A8

DK GRN

872

Right Front Wheel Speed Sensor Signal

A9

YEL

873

Left Front Wheel Speed Sensor Signal

A10

LT BLU

830

Left Front Wheel Speed Sensor Signal

A11

PNK

139

Ignition 1 Voltage

B

--

--

Not Used

B1-B8

--

--

Not Used

B9

ORN/BLK

556

Low Reference

B10

BRN

1295

Variable Effort Steering Actuator Control

B11

WHT

1294

Variable Effort Steering Actuator Supply Voltage

C

BLK

450

Ground

C1-C4

--

--

Not Used

C5

LT BLU

1059

Steering Wheel Position Sensor Signal

C6

PNK

849

Brake Fluid Level Sensor Signal

C7

LT BLU

20

Stop Lamp Supply Voltage

C8

PPL

1807

Class 2 Serial Data (Primary)

C9

--

--

Not Used

C10

GRY

1056

Steering Wheel Position Sensor 5V Reference Voltage

C11

--

--

Not Used

D

BLK

450

Ground

Traction Control Switch (Oldsmobile)


Object Number: 333035  Size: CH

Connector Part Information

    • 12047781
    • 3-Way F Metri-Pack 150 Series (BLK)

Pin

Wire Color

Circuit No.

Function

A

BRN/WHT

1571

Traction Control Switch Signal

B

BLK/WHT

151

Ground

C

--

--

Not Used

Traction Control Switch (Pontiac)


Object Number: 39660  Size: CH

Connector Part Information

    • 12047785
    • 4-Way F Metri-Pack 150 Series (BLK)

Pin

Wire Color

Circuit No.

Function

A

BRN/WHT

1571

Traction Control Switch Signal

B

BLK

250

Ground

C

GRY

8

Instrument Panel Lamp Supply Voltage - 1

D

BLK/WHT

151

Ground

Wheel Speed Sensor (WSS) -- LF


Object Number: 35437  Size: CH

Connector Part Information

    • 12052644
    • 2-Way F Metri-Pack 150 Series Sealed (GRY)

Pin

Wire Color

Circuit No.

Function

A

LT BLU

830

Left Front Wheel Speed Sensor Signal

B

YEL

873

Left Front Wheel Speed Sensor Low Reference

Wheel Speed Sensor (WSS) -- LR


Object Number: 334633  Size: CH

Connector Part Information

    • 15305168
    • 2-Way F Metri-Pack 150 Series Sealed (GRY)

Pin

Wire Color

Circuit No.

Function

A

BLK

884

Left Rear Wheel Speed Sensor Signal

B

RED

885

Left Rear Wheel Speed Sensor Low Reference

Wheel Speed Sensor (WSS) -- RF


Object Number: 35437  Size: CH

Connector Part Information

    • 12052644
    • 2-Way F Metri-Pack 150 Series Sealed (GRY)

Pin

Wire Color

Circuit No.

Function

A

DK GRN

872

Right Front Wheel Speed Sensor Signal

B

TAN

833

Right Front Wheel Speed Sensor Low Reference

Wheel Speed Sensor (WSS) -- RR


Object Number: 334633  Size: CH

Connector Part Information

    • 15305168
    • 2-Way F Metri-Pack 150 Series Sealed (GRY)

Pin

Wire Color

Circuit No.

Function

A

BRN

882

Right Rear Wheel Speed Sensor Signal

B

WHT

883

Right Rear Wheel Speed Sensor Low Reference