GM Service Manual Online
For 1990-2009 cars only

Removal Procedure

  1. Raise and support the vehicle. Refer to Lifting and Jacking the Vehicle in General Information.

  2. Object Number: 414963  Size: SH
  3. Support the transmission with a jack and wood block.

  4. Object Number: 622146  Size: SH
  5. Remove the through-bolt.

  6. Object Number: 621549  Size: SH
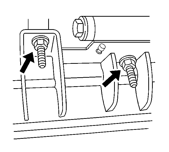
  7. Remove the rear mount to transmission bolts.
  8. Remove the rear mount.

  9. Object Number: 622149  Size: SH
  10. Remove the 2 rear bracket cradle nuts.

  11. Object Number: 621546  Size: SH
  12. Remove the rear bracket to cradle bolt.
  13. Remove the bracket.

Installation Procedure


    Object Number: 621546  Size: SH

    Notice: Use the correct fastener in the correct location. Replacement fasteners must be the correct part number for that application. Fasteners requiring replacement or fasteners requiring the use of thread locking compound or sealant are identified in the service procedure. Do not use paints, lubricants, or corrosion inhibitors on fasteners or fastener joint surfaces unless specified. These coatings affect fastener torque and joint clamping force and may damage the fastener. Use the correct tightening sequence and specifications when installing fasteners in order to avoid damage to parts and systems.

  1. Install the rear bracket and rear bracket to cradle bolt.
  2. Tighten
    Tighten the rear bracket to cradle bolt to 66 N·m (49 lb ft).


    Object Number: 622149  Size: SH
  3. Install the 2 rear bracket to cradle nuts.
  4. Tighten
    Tighten the cradle nuts to 66 N·m (49 lb ft).


    Object Number: 621549  Size: SH
  5. Install the rear mount and the rear mount to transmission bolts.
  6. Tighten
    Tighten the rear mount to transmission bolts to 110 N·m (81 lb ft).


    Object Number: 622146  Size: SH
  7. Install the through-bolt.
  8. Tighten
    Tighten the through-bolt to 130 N·m (96 lb ft).


    Object Number: 414963  Size: SH
  9. Remove the block of wood and jack from underneath the transmission.
  10. Lower the vehicle.