GM Service Manual Online
For 1990-2009 cars only

Removal Procedure

  1. Open and support the door.
  2. Remove the rubber conduit at the front door pillar. Refer to Front Side Door Conduit Replacement .
  3. Disconnect the electrical connector to the body wire harness.
  4. Remove the front door check link bolt. Refer to Door Check Link Replacement .

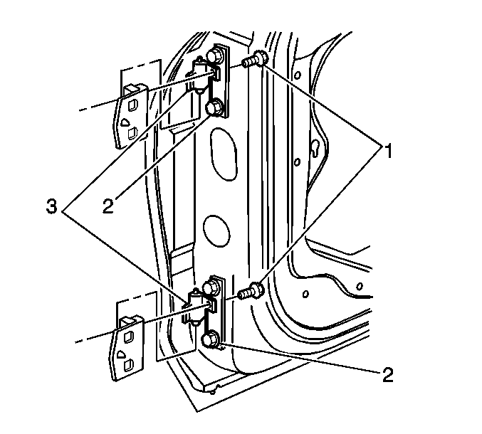
  5. Object Number: 736499  Size: SH
  6. Remove the intermediate bolts (1) on the door hinges.
  7. Remove the door from the vehicle.
  8. Clean the area around the hinges and mark the location with a grease pencil.
  9. Remove the bolts (2) securing the hinge (3) to the door.

  10. Object Number: 737650  Size: SH
  11. Remove the bolts securing the hinge to the hinge pillar.
  12. Remove the front door hinge.

Installation Procedure


    Object Number: 737650  Size: SH
  1. Position the front door hinge to the alignment marks on the hinge pillar.
  2. Notice: Use the correct fastener in the correct location. Replacement fasteners must be the correct part number for that application. Fasteners requiring replacement or fasteners requiring the use of thread locking compound or sealant are identified in the service procedure. Do not use paints, lubricants, or corrosion inhibitors on fasteners or fastener joint surfaces unless specified. These coatings affect fastener torque and joint clamping force and may damage the fastener. Use the correct tightening sequence and specifications when installing fasteners in order to avoid damage to parts and systems.

  3. Install the bolts attaching the front door hinge to the hinge pillar
  4. Tighten
    Tighten the front door hinge bolts to 28 N·m (21 lb ft).


    Object Number: 736499  Size: SH
  5. Position the front door hinge to the alignment marks on the front door.
  6. Install the bolts (2) attaching the hinge (2) to the door.
  7. Tighten
    Tighten the front door hinge bolts to 28 N·m (21 lb ft).

  8. Position the door by the vehicle.
  9. Install the wire harness electrical connector to the body harness.
  10. Install the wire harness conduit to the body access hole.

  11. Object Number: 737652  Size: SH
  12. Install the front door check link to the hinge pillar bolt.
  13. Tighten
    Tighten the front door check link to door bolt to 9 N·m (80 lb in).


    Object Number: 736499  Size: SH
  14. Install the intermediate bolts (1) to the door hinges.
  15. Tighten
    Tighten the door intermediate hinge bolts to 25 N·m (18 lb ft).

  16. Remove the support from the front door.
  17. Inspect the front door for proper operation.