GM Service Manual Online
For 1990-2009 cars only

Removal Procedure

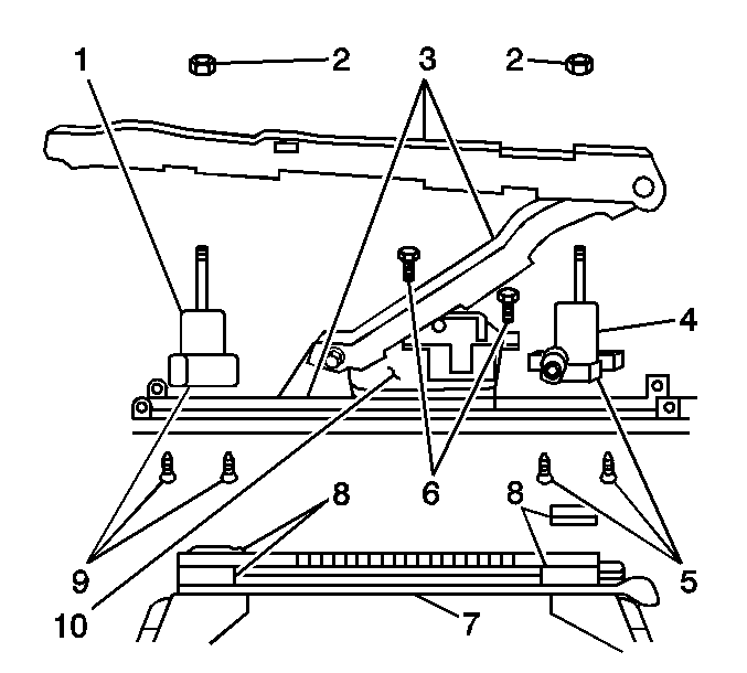
Important: Place the front seat in the highest vertical setting prior to removal. This is necessary to gain access to the horizontal actuator bolts.


    Object Number: 820752  Size: SH
  1. Remove the front seat from the vehicle. Refer to Front Seat Replacement - Bucket .
  2. If the actuator is next to the horizontal motor you will have to remove motor support bracket. Refer to Front Seat Adjuster Motor Replacement .
  3. Squeeze the oblong connector at the horizontal actuator (10).
  4. Remove the bolts (6) from the horizontal actuator (10).
  5. Remove the actuator (10) from the upper channel (3).

Installation Procedure


    Object Number: 820752  Size: SH
  1. Install the actuator (10) to the upper channel (3).
  2. Notice: Use the correct fastener in the correct location. Replacement fasteners must be the correct part number for that application. Fasteners requiring replacement or fasteners requiring the use of thread locking compound or sealant are identified in the service procedure. Do not use paints, lubricants, or corrosion inhibitors on fasteners or fastener joint surfaces unless specified. These coatings affect fastener torque and joint clamping force and may damage the fastener. Use the correct tightening sequence and specifications when installing fasteners in order to avoid damage to parts and systems.

  3. Install the bolts (6) to the horizontal actuator (10).
  4. Tighten
    Tighten the bolts to 11 N·m (97 lb in).

  5. Install the horizontal drive cable into the actuator (10).
  6. Push the oblong connector into the horizontal actuator (10) until a loud audible click is heard.
  7. Install the motor support bracket, if previously removed. Refer to Front Seat Adjuster Motor Replacement .
  8. Install the front seat to the vehicle. Refer to Front Seat Replacement - Bucket .