GM Service Manual Online
For 1990-2009 cars only

Rear Compartment Lid Latch Striker Replacement Grand Am

Removal Procedure

  1. Remove the push in retainers from the top of the rear fascia.

  2. Object Number: 277664  Size: SH
  3. Lift up on the fascia and remove the rear compartment lid lock striker nuts (2).
  4. Remove the rear compartment sill plate. Refer to Rear Compartment Sill Trim Plate Replacement .

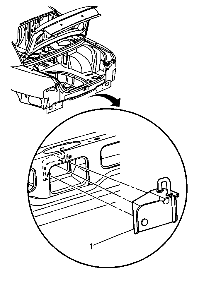
  5. Object Number: 277681  Size: MH
  6. Pull back the rear compartment trim in order to access the lock striker.
  7. Remove the rear compartment lid lock striker (1) from the rear compartment.

Installation Procedure


    Object Number: 277681  Size: MH
  1. Position the rear compartment lid lock striker (1) in the rear compartment.

  2. Object Number: 277664  Size: SH
  3. Hand tighten the rear compartment lid lock striker nuts (2).
  4. Verify that the rear compartment lid lock striker and the rear compartment lid lock are properly aligned.
  5. Notice: Use the correct fastener in the correct location. Replacement fasteners must be the correct part number for that application. Fasteners requiring replacement or fasteners requiring the use of thread locking compound or sealant are identified in the service procedure. Do not use paints, lubricants, or corrosion inhibitors on fasteners or fastener joint surfaces unless specified. These coatings affect fastener torque and joint clamping force and may damage the fastener. Use the correct tightening sequence and specifications when installing fasteners in order to avoid damage to parts and systems.

  6. Tighten the rear compartment lid lock striker nuts.
  7. Tighten
    Tighten the nuts to 7 N·m (62 lb in).

  8. Install the rear bumper fascia. Refer to Rear Bumper Fascia Replacement .

Rear Compartment Lid Latch Striker Replacement Alero

Removal Procedure

  1. Remove the push in retainers from the top of the rear fascia.

  2. Object Number: 277664  Size: SH
  3. Lift up on the fascia and remove the lid lock striker nuts (2).
  4. Remove the rear compartment sill plate. Refer to Rear Compartment Sill Trim Plate Replacement .
  5. Pull back the rear compartment trim in order to access the lock striker.

  6. Object Number: 277681  Size: MH
  7. Remove the rear compartment lid lock striker (1) from the rear compartment.

Installation Procedure


    Object Number: 277681  Size: MH
  1. Position the lock striker (1) in the rear compartment.

  2. Object Number: 277664  Size: SH
  3. Hand tighten the lid lock striker nuts (2).
  4. Verify that the rear compartment lid lock striker and the rear compartment lid lock are properly aligned.
  5. Notice: Use the correct fastener in the correct location. Replacement fasteners must be the correct part number for that application. Fasteners requiring replacement or fasteners requiring the use of thread locking compound or sealant are identified in the service procedure. Do not use paints, lubricants, or corrosion inhibitors on fasteners or fastener joint surfaces unless specified. These coatings affect fastener torque and joint clamping force and may damage the fastener. Use the correct tightening sequence and specifications when installing fasteners in order to avoid damage to parts and systems.

  6. Tighten the rear compartment lock striker nuts.
  7. Tighten
    Tighten the rear compartment lid lock striker nuts to 7 N·m (62 lb in).

  8. Install the push in retainers on the rear fascia.
  9. Return the rear compartment trim to the installed position.
  10. Install the rear compartment sill plate. Refer to Rear Compartment Sill Trim Plate Replacement .