GM Service Manual Online
For 1990-2009 cars only
Makes
🢒
Pontiac
🢒
2001
🢒
Grand Am
🢒
Body and Accessories
🢒
Wiring Systems
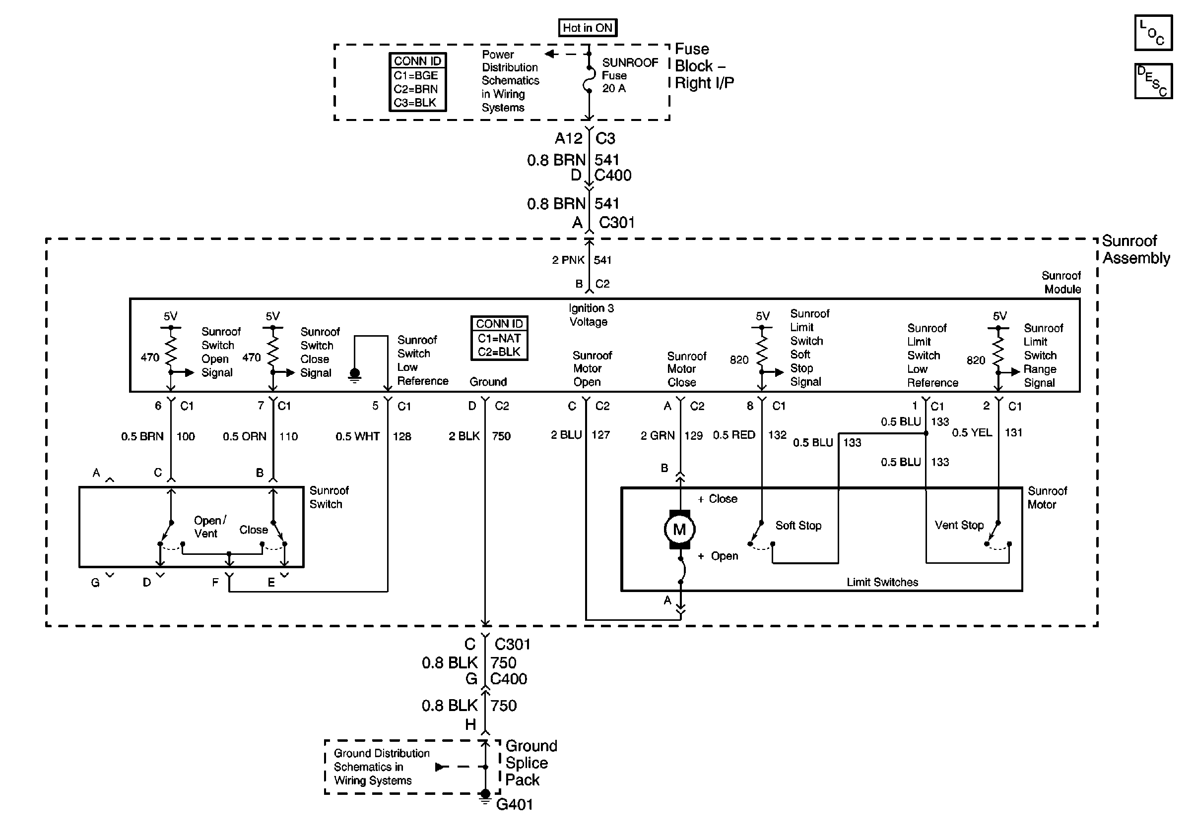
🢒 Sunroof Schematics
Master Electrical Component List
Sunroof Description and Operation
PWR WNDWS Circuit Breaker, CRUISE SW, Cruise, SUNROOF, HVAC BLOWERFuses
G401