GM Service Manual Online
For 1990-2009 cars only
Makes
🢒
Pontiac
🢒
2001
🢒
Grand Am
🢒 Tire Pressure Monitoring System (Oldsmobile)
Tire Pressure Monitoring System (Oldsmobile)
Master Electrical Component List
Tire Pressure Monitor Description and Operation
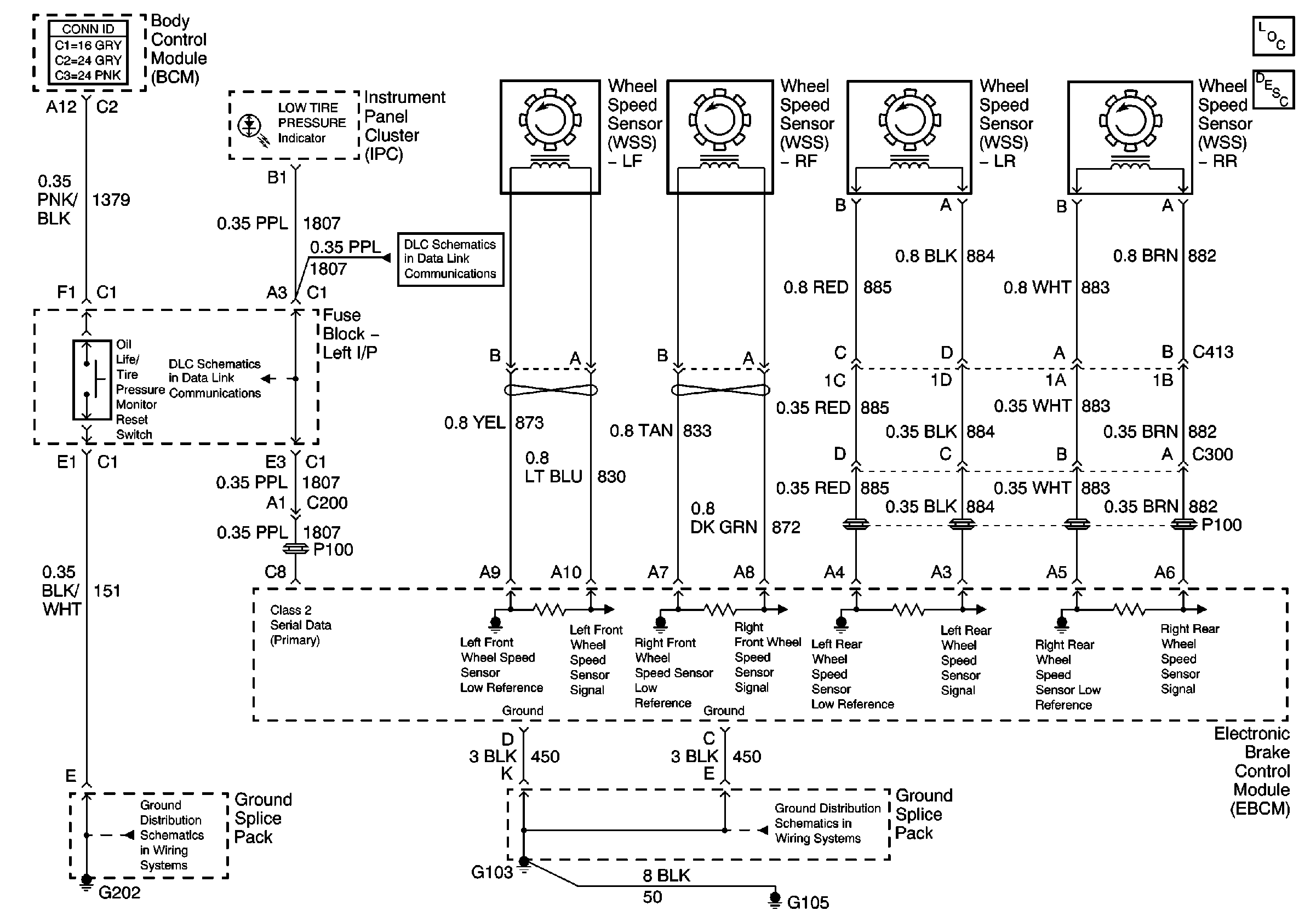
G103 and G105
G202
Data Link Connector Schematics
Data Link Connector Schematics