GM Service Manual Online
For 1990-2009 cars only
Makes
🢒
Pontiac
🢒
2001
🢒
Grand Am
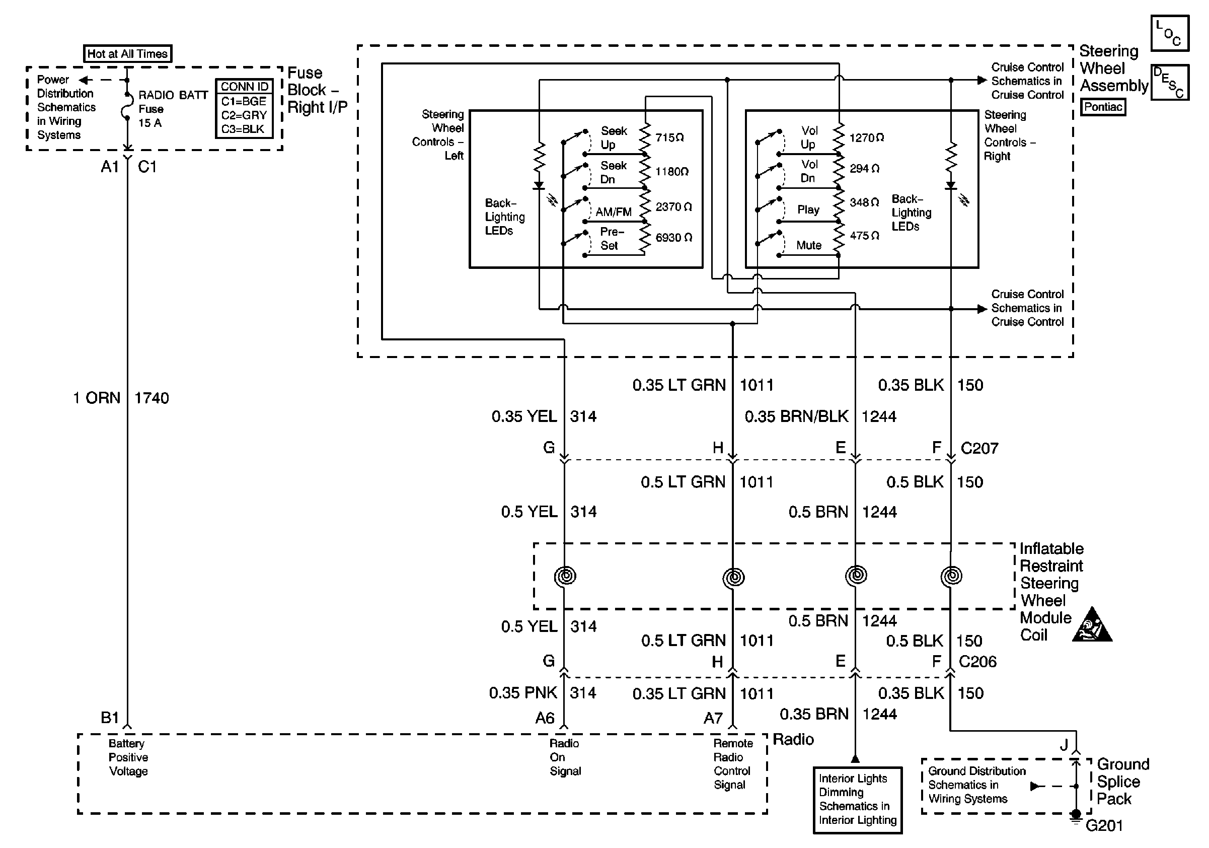
🢒 Steering Wheel Controls Schematics
Steering Wheel Controls Schematics
Master Electrical Component List
Radio/Audio System Description and Operation
G201