GM Service Manual Online
For 1990-2009 cars only

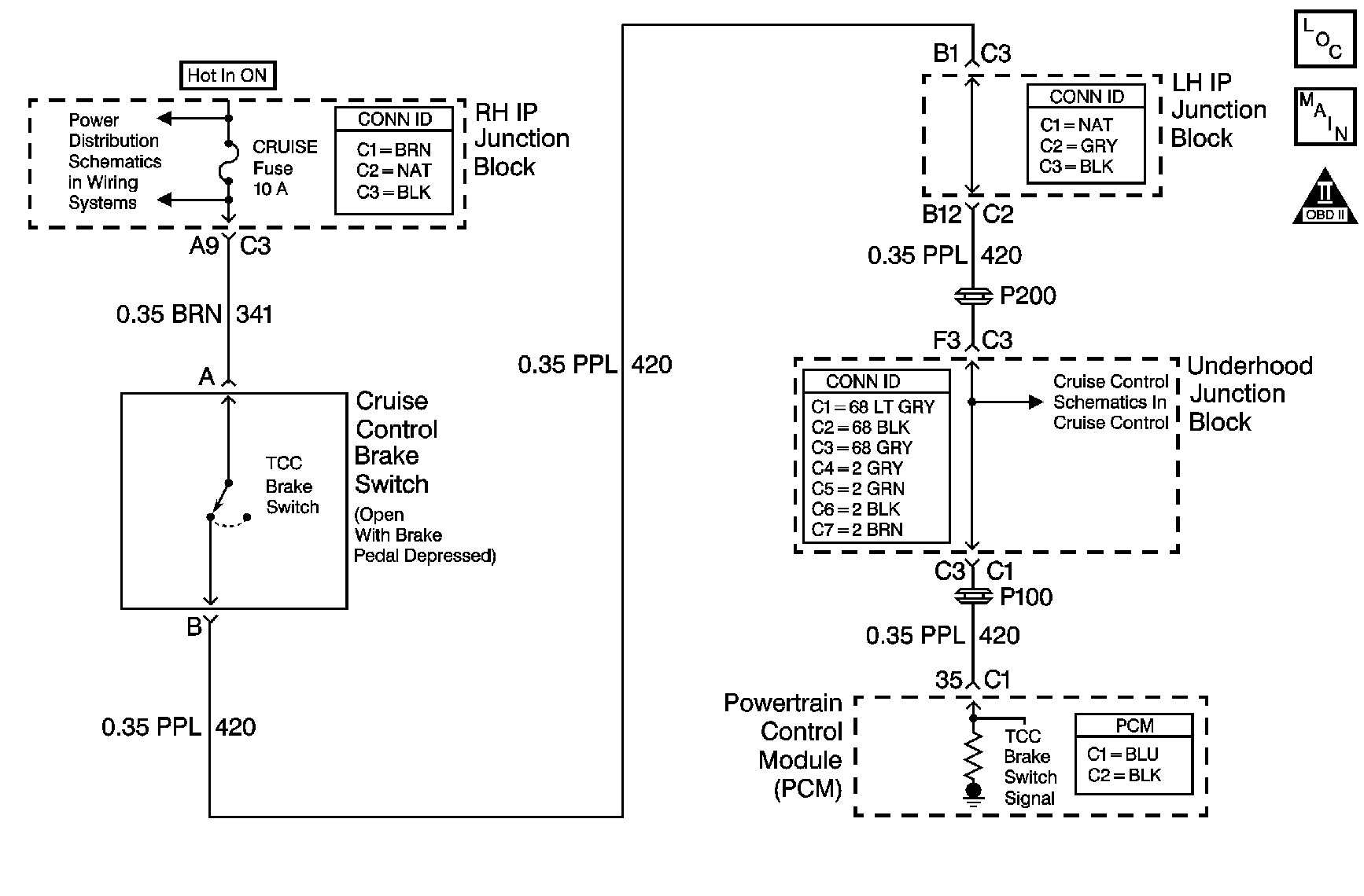
DTC P0719 2.4 L


Object Number: 653031  Size: MF
Master Electrical Component List
Automatic Transmission Controls Schematics LD9
OBD II Symbol Description Notice

Circuit Description

The brake switch indicates brake pedal status to the PCM. The normally-closed brake switch supplies ignition voltage to the PCM. Applying the brake pedal opens the switch, interrupting voltage to the PCM. Releasing the brake pedal resumes voltage to the PCM. When the PCM senses 0 volts at the brake switch input, the PCM de-energizes the torque converter clutch (TCC) solenoid valve.

When the PCM detects an open brake switch (stuck ON) during accelerations, then DTC P0719 sets. DTC P0719 is a type C DTC.

Conditions for Running the DTC

    • The ignition switch is in the ON position.
    • The system voltage is 8-18 volts.

Conditions for Setting the DTC

DTC P0719 sets if the PCM detects an open brake switch or circuit (0 volts) for 15 minutes and the following conditions occur eight times:

    • The vehicle speed is less than 8 km/h (5 mph);
    • then, the vehicle speed is 8-32 km/h (5-20 mph) for 3 seconds;
    • then, the vehicle speed is greater than 32 km/h (20 mph) for 6 seconds.

Action Taken When the DTC Sets

    • The PCM does not illuminate the malfunction indicator lamp (MIL).
    • The PCM disregards the brake switch input for TCC scheduling. The PCM then uses throttle position and vehicle speed inputs to determine TCC application and release. Use of these inputs may result in a noticeable harsh apply or abrupt release of the TCC.
    • The PCM records the operating conditions when the Conditions for Setting the DTC are met. The PCM stores this information as Failure Records.
    • The PCM stores DTC P0719 in PCM history.

Conditions for Clearing the DTC

    • A scan tool can clear the DTC.
    • The PCM clears the DTC from PCM history if the vehicle completes 40 warm-up cycles without a non-emission related diagnostic fault occurring.
    • The PCM cancels the DTC default actions when the fault no longer exists and the DTC passes.

Test Description

The numbers below refer to the step numbers on the diagnostic table.

  1. Disconnecting the brake switch connector, jumping the circuit, and observing a status change, isolates the brake switch as the source of the DTC.

  2. If the ignition 3 voltage circuit shorts to ground, the CRUISE fuse opens.

  3. If the brake switch is properly adjusted, then the brake switch must be replaced.

  4. Replace the PCM only after you have completed the preceding diagnostic steps.

DTC P0719 Brake Switch Circuit -- Low Input

Step

Action

Value(s)

Yes

No

1

Did you perform the Powertrain Diagnostic System Check?

--

Go to Step 2

Go to Diagnostic System Check - Engine Controls in Engine Controls

2

  1. Install a Scan Tool .
  2. Turn ON the ignition, with the engine OFF.
  3. Important: Before clearing the DTC, use the Scan Tool in order to record the Failure Records. Using the Clear Info function erases the Failure Records from the PCM.

  4. Record the DTC Failure Records.
  5. Clear the DTC.
  6. Select Brake Switch on the Scan Tool .
  7. Disconnect the brake switch connector.
  8. Using the J 35616 connector test adapter kit, install a fused jumper wire between terminals A and B of the brake switch connector.

Did the brake switch status change from Open to Closed?

--

Go to Step 5

Go to Step 3

3

  1. Remove the CRUISE fuse.
  2. Inspect the fuse for an open.

Refer to Wiring Repairs in Wiring Systems.

Is the fuse open?

--

Go to Step 4

Go to Step 6

4

Important: The condition that affects this circuit may exist in other connecting branches of the circuit. Refer to Power Distribution Schematics in Wiring Systems for complete circuit distribution.

Test the ignition 3 voltage circuit (CKT 341) of the brake switch for a short to ground.

Refer to Circuit Testing and Wiring Repairs in Wiring Systems.

Did you find and correct the condition?

--

Go to Step 9

--

5

  1. Inspect the brake switch for proper adjustment.
  2. Adjust the brake switch as necessary.

Refer to Stop Lamp Switch Adjustment in Hydraulic Brakes.

Did the brake switch require adjustment?

--

Go to Step 9

Go to Step 7

6

  1. Test the ignition 3 voltage circuit (CKT 341) of the brake switch for an open.
  2. Test the signal circuit (CKT 420) of the brake switch for an open.

Refer to Circuit Testing and Wiring Repairs in Wiring Systems.

Did you find and correct a condition?

--

Go to Step 9

Go to Step 8

7

Replace the brake switch.

Refer to Stop Lamp Switch Replacement in Hydraulic Brakes.

Did you complete the replacement?

--

Go to Step 9

--

8

Replace the PCM.

Refer to Powertrain Control Module Replacement in Engine Controls.

Did you complete the replacement?

--

Go to Step 9

--

9

Perform the following procedure in order to verify the repair:

  1. Select DTC.
  2. Select Clear Info.
  3. Operate the vehicle under the following conditions:
  4. • Turn ON the ignition, with the engine OFF.
    • Apply and release the brake pedal.
    • The PCM must receive 12 volts (brake switch closed) on the circuit.
  5. Select Specific DTC.
  6. Enter DTC P0719.

Has the test run and passed?

--

System OK

Go to Step 1

DTC P0719 3.4 L


Object Number: 653045  Size: MF
Master Electrical Component List
Automatic Transmission Controls Schematics LA1
OBD II Symbol Description Notice

Circuit Description

The brake switch indicates brake pedal status to the PCM. The normally-closed brake switch supplies ignition voltage to the PCM. Applying the brake pedal opens the switch, interrupting voltage to the PCM. Releasing the brake pedal resumes voltage to the PCM. When the PCM senses 0 volts at the brake switch input, the PCM de-energizes the torque converter clutch (TCC) solenoid valve.

When the PCM detects an open brake switch (stuck ON) during accelerations, then DTC P0719 sets. DTC P0719 is a type C DTC.

Conditions for Running the DTC

    • The ignition switch is in the ON position.
    • The system voltage is 8-18 volts.

Conditions for Setting the DTC

DTC P0719 sets if the PCM detects an open brake switch or circuit (0 volts) for 15 minutes and the following conditions occur eight times:

    • The vehicle speed is less than 8 km/h (5 mph);
    • then, the vehicle speed is 8-32 km/h (5-20 mph) for 3 seconds;
    • then, the vehicle speed is greater than 32 km/h (20 mph) for 6 seconds.

Action Taken When the DTC Sets

    • The PCM does not illuminate the malfunction indicator lamp (MIL).
    • The PCM disregards the brake switch input for TCC scheduling. The PCM then uses throttle position and vehicle speed inputs to determine TCC application and release. Use of these inputs may result in a noticeable harsh apply or abrupt release of the TCC.
    • The PCM records the operating conditions when the Conditions for Setting the DTC are met. The PCM stores this information as Failure Records.
    • The PCM stores DTC P0719 in PCM history.

Conditions for Clearing the DTC

    • A scan tool can clear the DTC.
    • The PCM clears the DTC from PCM history if the vehicle completes 40 warm-up cycles without a non-emission related diagnostic fault occurring.
    • The PCM cancels the DTC default actions when the fault no longer exists and the DTC passes.

Test Description

The numbers below refer to the step numbers on the diagnostic table.

  1. Disconnecting the brake switch connector, jumping the circuit, and observing a status change, isolates the brake switch as the source of the DTC.

  2. If the ignition 3 voltage circuit shorts to ground, the CRUISE fuse opens.

  3. If the brake switch is properly adjusted, then the brake switch must be replaced.

  4. Replace the PCM only after you have completed the preceding diagnostic steps.

DTC P0719 Brake Switch Circuit -- Low Input

Step

Action

Value(s)

Yes

No

1

Did you perform the Powertrain Diagnostic System Check?

--

Go to Step 2

Go to Diagnostic System Check - Engine Controls in Engine Controls

2

  1. Install a Scan Tool .
  2. Turn ON the ignition, with the engine OFF.
  3. Important: Before clearing the DTC, use the Scan Tool in order to record the Failure Records. Using the Clear Info function erases the Failure Records from the PCM.

  4. Record the DTC Failure Records.
  5. Clear the DTC.
  6. Select Brake Switch on the Scan Tool .
  7. Disconnect the brake switch connector.
  8. Using the J 35616 connector test adapter kit, install a fused jumper wire between terminals A and B of the brake switch connector.

Did the brake switch status change from Open to Closed?

--

Go to Step 5

Go to Step 3

3

  1. Remove the CRUISE fuse.
  2. Inspect the fuse for an open.

Refer to Wiring Repairs in Wiring Systems.

Is the fuse open?

--

Go to Step 4

Go to Step 6

4

Important: The condition that affects this circuit may exist in other connecting branches of the circuit. Refer to Power Distribution Schematics in Wiring Systems for complete circuit distribution.

Test the ignition 3 voltage circuit (CKT 341) of the brake switch for a short to ground.

Refer to Circuit Testing and Wiring Repairs in Wiring Systems.

Did you find and correct the condition?

--

Go to Step 9

--

5

  1. Inspect the brake switch for proper adjustment.
  2. Adjust the brake switch as necessary.

Refer to Stop Lamp Switch Adjustment in Hydraulic Brakes.

Did the brake switch require adjustment?

--

Go to Step 9

Go to Step 7

6

  1. Test the ignition 3 voltage circuit (CKT 341) of the brake switch for an open.
  2. Test the signal circuit (CKT 420) of the brake switch for an open.

Refer to Circuit Testing and Wiring Repairs in Wiring Systems.

Did you find and correct a condition?

--

Go to Step 9

Go to Step 8

7

Replace the brake switch.

Refer to Stop Lamp Switch Replacement in Hydraulic Brakes.

Did you complete the replacement?

--

Go to Step 9

--

8

Replace the PCM.

Refer to Powertrain Control Module Replacement in Engine Controls.

Did you complete the replacement?

--

Go to Step 9

--

9

Perform the following procedure in order to verify the repair:

  1. Select DTC.
  2. Select Clear Info.
  3. Operate the vehicle under the following conditions:
  4. • Turn ON the ignition, with the engine OFF.
    • Apply and release the brake pedal.
    • The PCM must receive 12 volts (brake switch closed) on the circuit.
  5. Select Specific DTC.
  6. Enter DTC P0719.

Has the test run and passed?

--

System OK

Go to Step 1