GM Service Manual Online
For 1990-2009 cars only
Makes
🢒
Pontiac
🢒
2002
🢒
Grand Am
🢒 EVAP Controls
EVAP Controls
EVAP Controls
Master Electrical Component List
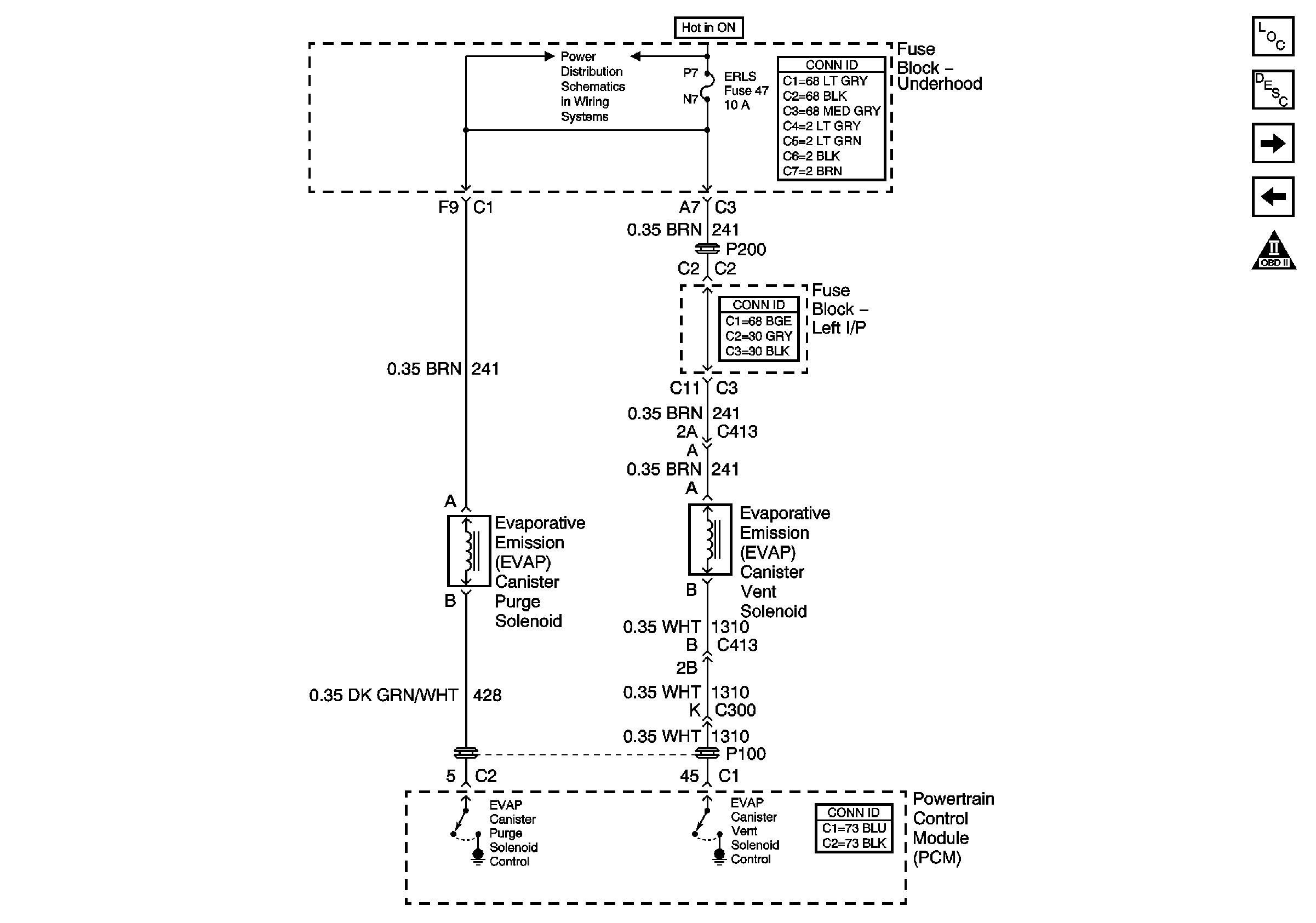
Evaporative Emission Control System Description
IAC Valve
Fuel Injectors
OBD II Symbol Description Notice
IGN SW-BATT1, HTR-A/C, ERLS, CRANK, PCM ACC, IPC/BFC/ACC Fuses
Compressor Controls