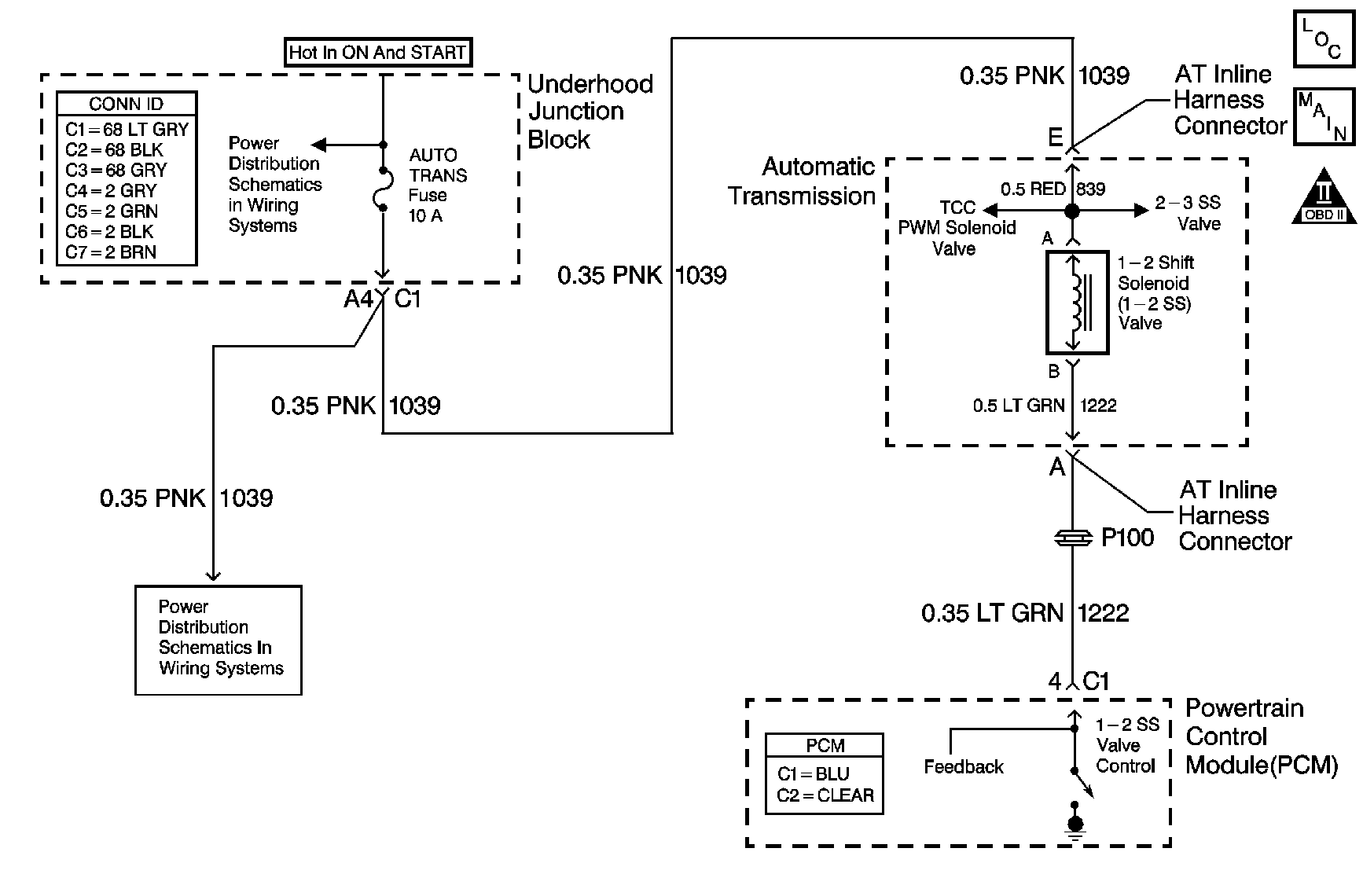
The 1-2 shift solenoid (SS) valve controls fluid flow acting on the 1-2 shift valve. The solenoid is a normally-open valve that, in conjunction with the 2-3 shift solenoid (SS) valve, allows four different shifting combinations. Refer to the Shift Solenoid Valve State and Gear Ratio table. The 1-2 SS valve is attached to the control valve body, within the transmission.
The solenoid receives ignition voltage through the fused power feed circuit. The PCM commands the solenoid ON or OFF by providing a ground path.
When the PCM detects a continuous open, short to ground, or short to voltage in the 1-2 SS valve circuit, then DTC P0753 sets. DTC P0753 is a type A DTC.
| • | The ignition switch is in the ON position. |
| • | The system voltage is 8-18 volts. |
One of the following conditions occurs for 4.3 seconds:
| • | The PCM commands the solenoid ON, and the voltage feedback remains high, B+. |
| • | The PCM commands the solenoid OFF, and the voltage feedback remains low, 0 volts. |
| • | The PCM illuminates the malfunction indicator lamp (MIL). |
| • | The PCM commands maximum line pressure. |
| • | The PCM inhibits TCC engagement. |
| • | The PCM inhibits 3-2 downshifts above 56 km/h (35 mph). |
| • | The PCM freezes transmission adapt functions. |
| • | The PCM records the operating conditions when the Conditions for Setting the DTC are met. The PCM stores this information as Freeze Frame and Failure Records. |
| • | The PCM stores DTC P0753 in PCM history. |
| • | The PCM turns OFF the MIL during the third consecutive trip in which the diagnostic test runs and passes. |
| • | A scan tool can clear the MIL/DTC. |
| • | The PCM clears the DTC from PCM history if the vehicle completes 40 warm-up cycles without an emission-related diagnostic fault occurring. |
| • | The PCM cancels the DTC default actions when the ignition switch is OFF long enough in order to power down the PCM. |
Ensure the wiring harness is not stretched too tightly or other components are pressing on the connector body. Also, inspect for proper clearance to any other components and wiring. Refer to Testing for Intermittent Conditions and Poor Connections in Wiring Systems.
The numbers below refer to the step numbers on the diagnostic table.
This step tests the electrical operation of the solenoid.
This step tests the PCM and the wiring to the transmission.
This step verifies that the circuit has the correct resistance.
Step | Action | Value(s) | Yes | No | ||||
|---|---|---|---|---|---|---|---|---|
1 | Did you perform the Powertrain Diagnostic System Check? | -- | Go to Step 2 | Go to Diagnostic System Check - Engine Controls in Engine Controls - 2.2 L | ||||
2 |
Important: Before clearing the DTC, use the Scan Tool in order to record the Freeze Frame and Failure Records. Using the Clear Info function erases the Freeze Frame and Failure Records from the PCM. Is DTC P0758 or P1860 also set? | -- | Go to Step 3 | Go to Step 8 | ||||
3 |
Refer to Wiring Repairs in Wiring Systems. Did you find the condition? | -- | Go to Step 4 | Go to Step 6 | ||||
4 |
Important: The condition that affects this circuit may exist in other connecting branches of the circuit. Refer to Power Distribution Schematics in Wiring Systems for complete circuit distribution. Test the ignition 1 voltage circuit (CKT 1039) of the 1-2 SS valve for a short to ground between the underhood junction block and the AT inline 20-way connector. Refer to Circuit Testing and Wiring Repairs in Wiring Systems. Did you find and correct the condition? | -- | Go to Step 26 | Go to Step 5 | ||||
5 |
Important: The condition that affects this circuit may exist in other connecting branches of the circuit. Refer to Power Distribution Schematics in Wiring Systems for complete circuit distribution. Test the ignition 1 voltage circuit (CKT 839) of the 1-2 SS valve for a short to ground between the AT inline 20-way connector and the 1-2 SS valve. Refer to Circuit Testing in Wiring Systems. Did you find the condition? | -- | Go to Step 23 | -- | ||||
6 | Test the ignition 1 voltage circuit (CKT 1039) of the 1-2 SS valve for an open between the underhood junction block and the AT inline 20-way connector. Refer to Circuit Testing and Wiring Repairs in Wiring Systems. Did you find and correct the condition? | -- | Go to Step 26 | Go to Step 7 | ||||
7 | Test the ignition 1 voltage circuit (CKT 839) of the 1-2 SS valve for an open between the AT inline 20-way connector and the 1-2 SS valve. Refer to Circuit Testing in Wiring Systems. Did you find the condition? | -- | Go to Step 23 | -- | ||||
Does the solenoid click when commanded ON and OFF? | -- | Go to Intermittent Conditions in Engine Controls - 2.2 L | Go to Step 9 | |||||
Refer to Automatic Transmission Inline Harness Connector End View . Is the test lamp ON when you command the solenoid ON, and OFF when you command the solenoid OFF? | -- | Go to Step 17 | Go to Step 10 | |||||
10 | Is the test lamp always ON? | -- | Go to Step 11 | Go to Step 13 | ||||
11 |
Is the test lamp ON? | -- | Go to Step 12 | Go to Step 25 | ||||
12 | Test the control circuit (CKT 1222) of the 1-2 SS valve for a short to ground between the PCM connector C2 and the AT inline 20-way connector. Refer to Circuit Testing and Wiring Repairs in Wiring Systems. Did you find and correct the condition? | -- | Go to Step 26 | -- | ||||
13 | Is the test lamp always OFF? | -- | Go to Step 14 | -- | ||||
14 | Test the control circuit (CKT 1222) of the 1-2 SS valve for an open between the PCM connector C2 and the AT inline 20-way connector. Refer to Circuit Testing and Wiring Repairs in Wiring Systems. Did you find and correct the condition? | -- | Go to Step 26 | Go to Step 15 | ||||
15 | Connect a test lamp from terminal A of the J 44152 to ground. Refer to Automatic Transmission Inline Harness Connector End View . Is the test lamp ON? | -- | Go to Step 16 | Go to Step 25 | ||||
16 | Test the control circuit (CKT 1222) of the 1-2 SS valve for a short to voltage between the PCM connector C2 and the AT inline 20-way connector. Refer to Circuit Testing and Wiring Repairs in Wiring Systems. Did you find and correct the condition? | -- | Go to Step 26 | -- | ||||
Refer to Automatic Transmission Inline Harness Connector End View . Is the resistance within the specified range? | 19-31 ohms | Go to Step 20 | Go to Step 18 | |||||
18 | Is the resistance greater than the specified value? | 31 ohms | Go to Step 19 | Go to Step 20 | ||||
19 |
Refer to Circuit Testing in Wiring Systems. Did you find a condition? | -- | Go to Step 23 | Go to Step 24 | ||||
20 | Measure the resistance from terminal A of the J 44152 to ground. Refer to Automatic Transmission Inline Harness Connector End View . Is the resistance less than the specified value? | 1,000 ohms | Go to Step 21 | Go to Step 22 | ||||
21 | Test the control circuit (CKT 1222) of the 1-2 SS valve for a short to ground between the AT inline 20-way connector and the 1-2 SS valve. Refer to Circuit Testing in Wiring Systems. Did you find the condition? | -- | Go to Step 23 | -- | ||||
22 | Measure the resistance between terminal A and all other terminals, except terminal B, E and T, of the J 44152 . Refer to Automatic Transmission Inline Harness Connector End View . Is the resistance between terminal A and any other terminal, except terminal B, E and T, less than the specified value? | 1,000 ohms | Go to Step 23 | Go to Step 24 | ||||
23 | Replace the automatic transmission wiring harness. Refer to Transmission Overhaul in Transmission Unit Repair Manual. Did you complete the replacement? | -- | Go to Step 26 | -- | ||||
24 | Replace the 1-2 SS valve. Refer to 1-2 Shift Solenoid Valve Replacement . Did you complete the replacement? | -- | Go to Step 26 | -- | ||||
25 | Replace the PCM. Refer to Powertrain Control Module Replacement in Engine Controls - 2.2 L. Did you complete the replacement? | -- | Go to Step 26 | -- | ||||
26 | Perform the following procedure in order to verify the repair:
Has the test run and passed? | -- | System OK | Go to Step 1 |
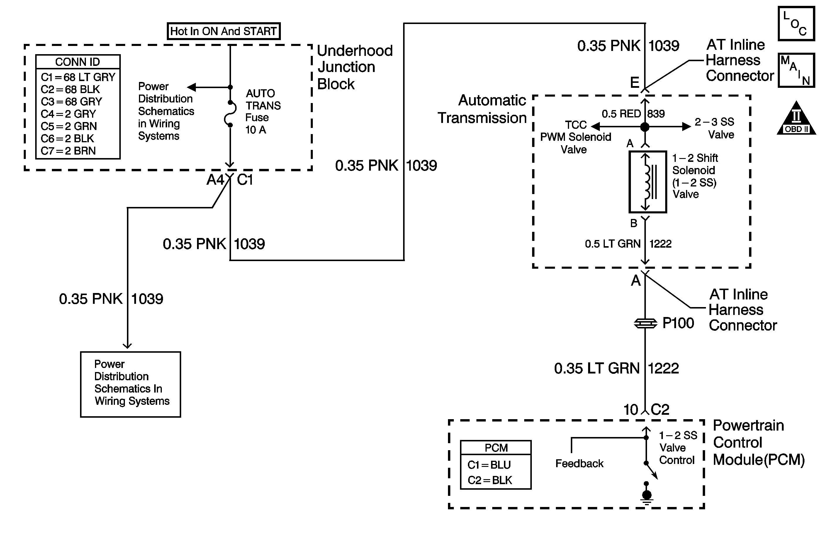
The 1-2 shift solenoid (SS) valve controls fluid flow acting on the 1-2 shift valve. The solenoid is a normally-open valve that, in conjunction with the 2-3 shift solenoid (SS) valve, allows four different shifting combinations. Refer to the Shift Solenoid Valve State and Gear Ratio table. The 1-2 SS valve is attached to the control valve body within the transmission.
The solenoid receives ignition voltage through the fused power feed circuit. The PCM commands the solenoid ON or OFF by providing a ground path.
When the PCM detects a continuous open, short to ground, or short to voltage in the 1-2 SS valve circuit, then DTC P0753 sets. DTC P0753 is a type A DTC.
| • | The ignition switch is in the ON position. |
| • | The system voltage is 8-18 volts. |
One of the following conditions occurs for 4.3 seconds:
| • | The PCM commands the solenoid ON, and the voltage feedback remains high, B+. |
| • | The PCM commands the solenoid OFF, and the voltage feedback remains low, 0 volts. |
| • | The PCM illuminates the malfunction indicator lamp (MIL). |
| • | The PCM commands maximum line pressure. |
| • | The PCM inhibits TCC engagement. |
| • | The PCM inhibits 3-2 downshifts above 52 km/h (32 mph). |
| • | The PCM freezes transmission adapt functions. |
| • | The PCM records the operating conditions when the Conditions for Setting the DTC are met. The PCM stores this information as Freeze Frame and Failure Records. |
| • | The PCM stores DTC P0753 in PCM history. |
| • | The PCM turns OFF the MIL during the third consecutive trip in which the diagnostic test runs and passes. |
| • | A scan tool can clear the MIL/DTC. |
| • | The PCM clears the DTC from PCM history if the vehicle completes 40 warm-up cycles without an emission-related diagnostic fault occurring. |
| • | The PCM cancels the DTC default actions when the ignition switch is OFF long enough in order to power down the PCM. |
Ensure the wiring harness is not stretched too tightly or other components are pressing on the connector body. Also, inspect for proper clearance to any other components and wiring. Refer to Testing for Intermittent Conditions and Poor Connections in Wiring Systems.
The numbers below refer to the step numbers on the diagnostic table.
This step tests the electrical operation of the solenoid.
This step tests the PCM and the wiring to the transmission.
This step verifies that the circuit has the correct resistance.
Step | Action | Value(s) | Yes | No | ||||
|---|---|---|---|---|---|---|---|---|
1 | Did you perform the Powertrain Diagnostic System Check? | -- | Go to Step 2 | Go to Diagnostic System Check - Engine Controls in Engine Controls - 3.4 L | ||||
2 |
Important: Before clearing the DTC, use the Scan Tool in order to record the Freeze Frame and Failure Records. Using the Clear Info function erases the Freeze Frame and Failure Records from the PCM. Is DTC P0758 or P1860 also set? | -- | Go to Step 3 | Go to Step 8 | ||||
3 |
Refer to Wiring Repairs in Wiring Systems. Did you find the condition? | -- | Go to Step 4 | Go to Step 6 | ||||
4 |
Important: The condition that affects this circuit may exist in other connecting branches of the circuit. Refer to Power Distribution Schematics in Wiring Systems for complete circuit distribution. Test the ignition 1 voltage circuit (CKT 1039) of the 1-2 SS valve for a short to ground between the underhood junction block and the AT inline 20-way connector. Refer to Circuit Testing and Wiring Repairs in Wiring Systems. Did you find and correct the condition? | -- | Go to Step 26 | Go to Step 5 | ||||
5 |
Important: The condition that affects this circuit may exist in other connecting branches of the circuit. Refer to Power Distribution Schematics in Wiring Systems for complete circuit distribution. Test the ignition 1 voltage circuit (CKT 839) of the 1-2 SS valve for a short to ground between the AT inline 20-way connector and the 1-2 SS valve. Refer to Circuit Testing in Wiring Systems. Did you find the condition? | -- | Go to Step 23 | -- | ||||
6 | Test the ignition 1 voltage circuit (CKT 1039) of the 1-2 SS valve for an open between the underhood junction block and the AT inline 20-way connector. Refer to Circuit Testing and Wiring Repairs in Wiring Systems. Did you find and correct the condition? | -- | Go to Step 26 | Go to Step 7 | ||||
7 | Test the ignition 1 voltage circuit (CKT 839) of the 1-2 SS valve for an open between the AT inline 20-way connector and the 1-2 SS valve. Refer to Circuit Testing in Wiring Systems. Did you find the condition? | -- | Go to Step 23 | -- | ||||
Does the solenoid click when commanded ON and OFF? | -- | Go to Intermittent Conditions in Engine Controls - 3.4 L | Go to Step 9 | |||||
Refer to Automatic Transmission Inline Harness Connector End View . Is the test lamp ON when you command the solenoid ON, and OFF when you command the solenoid OFF? | -- | Go to Step 17 | Go to Step 10 | |||||
10 | Is the test lamp always ON? | -- | Go to Step 11 | Go to Step 13 | ||||
11 |
Is the test lamp ON? | -- | Go to Step 12 | Go to Step 25 | ||||
12 | Test the control circuit (CKT 1222) of the 1-2 SS valve for a short to ground between the PCM connector C1 and the AT inline 20-way connector. Refer to Circuit Testing and Wiring Repairs in Wiring Systems. Did you find and correct the condition? | -- | Go to Step 26 | -- | ||||
13 | Is the test lamp always OFF? | -- | Go to Step 14 | -- | ||||
14 | Test the control circuit (CKT 1222) of the 1-2 SS valve for an open between the PCM connector C1 and the AT inline 20-way connector. Refer to Circuit Testing and Wiring Repairs in Wiring Systems. Did you find and correct the condition? | -- | Go to Step 26 | Go to Step 15 | ||||
15 | Connect a test lamp from terminal A of the J 44152 to ground. Refer to Automatic Transmission Inline Harness Connector End View . Is the test lamp ON? | -- | Go to Step 16 | Go to Step 25 | ||||
16 | Test the control circuit (CKT 1222) of the 1-2 SS valve for a short to voltage between the PCM connector C1 and the AT inline 20-way connector. Refer to Circuit Testing and Wiring Repairs in Wiring Systems. Did you find and correct the condition? | -- | Go to Step 26 | -- | ||||
Refer to Automatic Transmission Inline Harness Connector End View . Is the resistance within the specified range? | 19-31 ohms | Go to Step 20 | Go to Step 18 | |||||
18 | Is the resistance greater than the specified value? | 31 ohms | Go to Step 19 | Go to Step 20 | ||||
19 |
Refer to Circuit Testing in Wiring Systems. Did you find a condition? | -- | Go to Step 23 | Go to Step 24 | ||||
20 | Measure the resistance from terminal A of the J 44152 to ground. Refer to Automatic Transmission Inline Harness Connector End View . Is the resistance less than the specified value? | 1,000 ohms | Go to Step 21 | Go to Step 22 | ||||
21 | Test the control circuit (CKT 1222) of the 1-2 SS valve for a short to ground between the AT inline 20-way connector and the 1-2 SS valve. Refer to Circuit Testing in Wiring Systems. Did you find the condition? | -- | Go to Step 23 | -- | ||||
22 | Measure the resistance between terminal A and all other terminals, except terminal B, E and T, of the J 44152 . Refer to Automatic Transmission Inline Harness Connector End View . Is the resistance between terminal A and any other terminal, except terminal B, E and T, less than the specified value? | 1,000 ohms | Go to Step 23 | Go to Step 24 | ||||
23 | Replace the automatic transmission wiring harness. Refer to Transmission Overhaul in Transmission Unit Repair Manual. Did you complete the replacement? | -- | Go to Step 26 | -- | ||||
24 | Replace the 1-2 SS valve. Refer to 1-2 Shift Solenoid Valve Replacement . Did you complete the replacement? | -- | Go to Step 26 | -- | ||||
25 | Replace the PCM. Refer to Powertrain Control Module Replacement in Engine Controls - 3.4 L. Did you complete the replacement? | -- | Go to Step 26 | -- | ||||
26 | Perform the following procedure in order to verify the repair:
Has the test run and passed? | -- | System OK | Go to Step 1 |