GM Service Manual Online
For 1990-2009 cars only
Figure 1:

Center of I/P


Object Number: 476438  Size: LF
(1)Radio
(2)HVAC Control Assembly
Figure 2:

Right Front of the Passenger Compartment


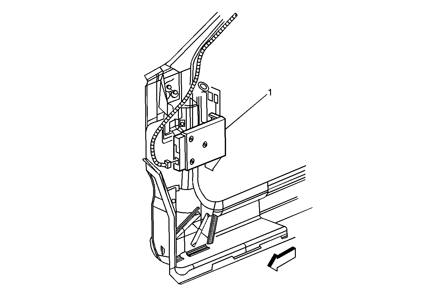
Object Number: 948614  Size: LF
(1)C209
Figure 3:

RF of the Passenger Compartment


Object Number: 871039  Size: MF
(1)Digital Radio Receiver (U2K)
Figure 4:

Front Center of the Roof


Object Number: 871042  Size: MF
(1)Digital Radio Antenna (U2K)
Figure 5:

Right Side of the Passenger Compartment, Rear Package Shelf


Object Number: 264446  Size: LF
(1)Rear Window Defogger Grid Connector
(2)Speaker - LR Connector
(3)Rear Compartment Courtesy Lamp Connector
(4)Remote Control Door Lock Receiver (RCDLR) Connector
(5)Speaker - RR Connector
Figure 6:

Left C Pillar


Object Number: 328340  Size: LF
(1)Antenna Choke
Figure 7:

Right C Pillar


Object Number: 328338  Size: LF
(1)Antenna Amplifier Module
Figure 8:

Speaker - RF, LF Similar


Object Number: 328355  Size: LF
(1)Speaker - RF, LF Similar
Figure 9:

Inside the Rear Compartment


Object Number: 328295  Size: MF
(1)Audio Amplifier (U85)
Figure 10:

Rear Package Shelf


Object Number: 328364  Size: LF
(1)Speaker - RR, LR Similar
Figure 11:

Speaker - RF Tweeter


Object Number: 328356  Size: LF
(1)Speaker - RF Tweeter