GM Service Manual Online
For 1990-2009 cars only
Makes
🢒
Pontiac
🢒
2003
🢒
Grand Am
🢒 Washer System
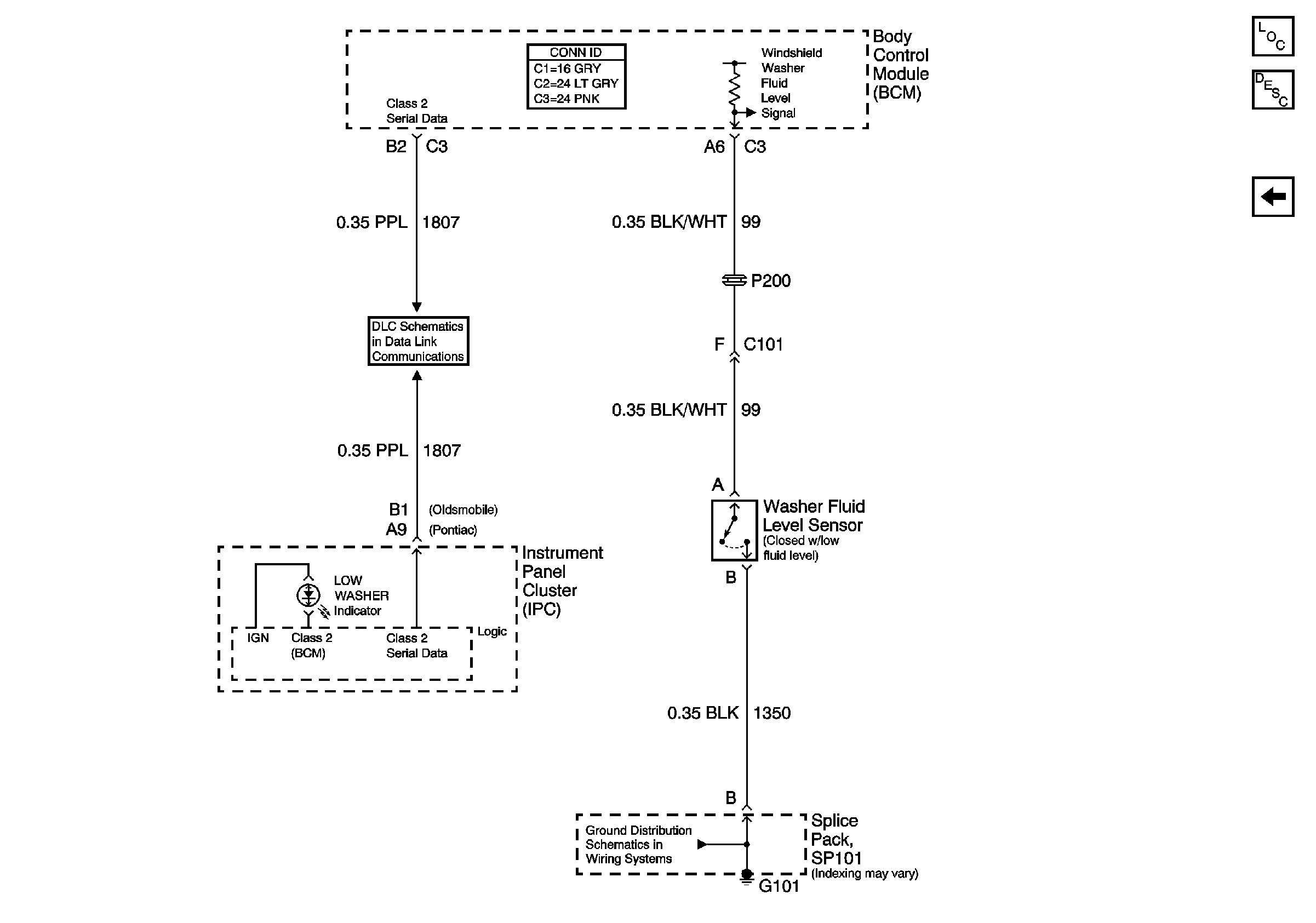
Washer System
Washer System
Master Electrical Component List
Wiper/Washer System Description and Operation
Wiper System
Data Link Connector (DLC) Schematics
G101