GM Service Manual Online
For 1990-2009 cars only
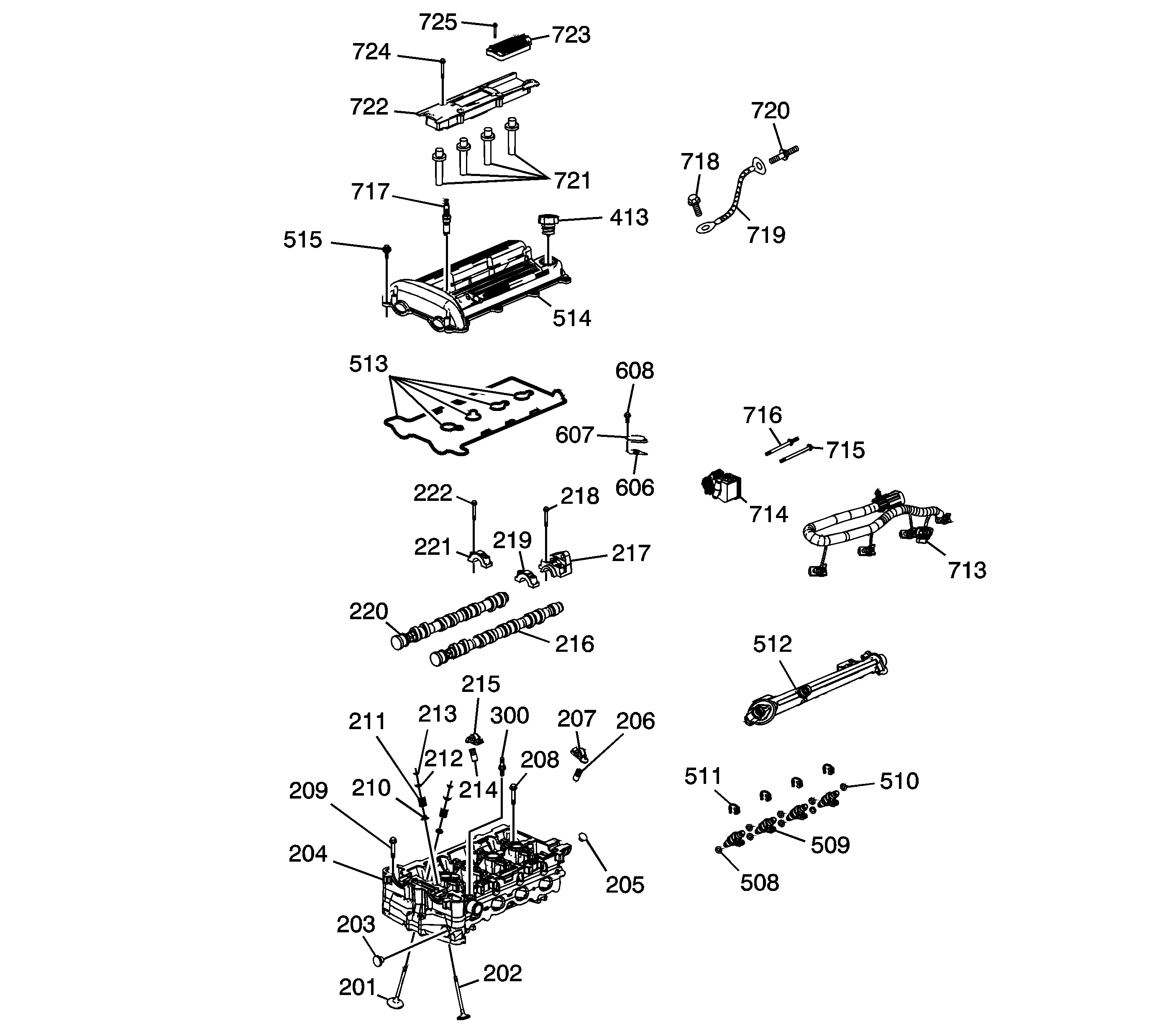
Figure 1:

Cylinder Head and Components


Object Number: 1365039  Size: LF
(201)Exhaust Valve
(202)Intake Valve
(203)Timing Chain Guide Bolt Access Hole
(204)Cylinder Head
(205)Cylinder Head Gallery Plug
(206)Hydraulic Lash Adjuster
(207)Roller Finger Follower
(208)Cylinder Head Bolt
(209)Small Cylinder Head Bolt
(210)Valve Stem Seal
(211)Valve Spring
(212)Valve Spring Retainer
(213)Valve Keys
(214)Hydraulic Lash Adjuster
(215)Roller Finger Follower
(216)Intake Camshaft
(217)Camshaft Rear Cap
(218)Camshaft Rear Cap Bolt
(219)Camshaft Cap
(220)Exhaust Camshaft
(221)Camshaft Cap
(222)Camshaft Cap Bolt
(300)Coolant Air Bleed Fitting
(413)Engine Oil Fill Cap
(508)Fuel Injector O-ring
(509)Fuel Injector
(510)Fuel Injector O-ring
(511)Fuel Injector Clip
(512)Fuel Rail
(513)Camshaft Cover Gasket
(514)Camshaft Cover
(515)Camshaft Cover Bolt
(606)EGR Port Cover Gasket
(607)EGR Port Cover
(608)EGR Port Cover Bolt
(713)Fuel Injector Wiring Harness
(714)Power Steering Pump
(715)Power Steering Pump Bolt
(716)Power Steering Pump Bolt Studs
(717)Spark Plug
(718)Ground Strap Bolt
(719)Ground Strap
(720)Ground Strap Bolt Stud
(721)Spark Plug Boots
(722)Ignition Module
(723)Ignition Coil
(724)Ignition Module Bolt
(725)Ignition Coil Screw
Figure 2:

Intake Manifold and Components


Object Number: 1244838  Size: LF
(408)Oil Indicator Tube O-ring
(409)Oil Indicator Tube
(410)Oil Indicator Tube Bolt
(411)Oil Indicator O-ring
(412)Oil Indicator
(500)Intake Manifold Gasket
(501)Intake Manifold Bolt
(502)Intake Manifold
(503)Throttle Body Seal
(504)Throttle Body
(505)Accelerator Control Cable Bracket
(506)Throttle Body Bolt
(711)Map Sensor
Figure 3:

Exhaust Manifold and Components


Object Number: 1244840  Size: LF
(600)Exhaust Manifold Stud
(601)Exhaust Manifold Gasket
(602)Exhaust Manifold
(603)Exhaust Manifold Nut
(604)Exhaust Manifold Heat Shield
(605)Exhaust Manifold Heat Shield Stud
(712)Oxygen Sensor
Figure 4:

Engine Block and Components


Object Number: 1244841  Size: LF
(100)Engine Block
(101)Crankshaft Bearing - Upper
(102)Crankshaft Thrust Bearing - Upper
(103)Crankshaft
(104)Crankshaft Bearing - Lower
(105)Crankshaft Thrust Bearing - Lower
(106)Lower Crankcase
(107)Lower Crankcase Perimeter Bolt
(108)Lower Crankcase Main Bearing Bolt
(109)Crankshaft Rear Seal
(110)Flywheel - Automatic Transmission
(111)Automatic Transaxle Flywheel to Crankshaft Bolt
(112)Manual Transaxle Flywheel
(113) Manual Transaxle Flywheel Bolt
(114)Engine Block to Transaxle Alignment Pin
(115)Engine Block Gallery Plug
(116)Cylinder Head Alignment Pin
(117)Cylinder Bore Sleeve
(118)Connecting Rod Cap Bolt
(119)Connecting Rod
(120)Connecting Rod Bearing
(121)Piston Assembly
(122)Piston Ring Assembly
(200)Cylinder Head Gasket
(301)Thermostat Housing
(302)Thermostat Housing to Block Gasket
(303)Water Pipe Support Bracket Bolt
(304)Water Pipe Support Bracket Bolt Stud
(305)Water Pipe Support Bracket
(306)Thermostat Gasket
(307)Thermostat
(308)Thermostat Housing Cap
(309)Thermostat Housing Cap Bolt
(310)Water Transfer Pipe
(311)Water Transfer Pipe O-ring Seals
(312)Water Pump
(313)Water Pump to Engine Block Seal
(400)Engine Oil Pan
(401)Engine Oil Pan Alignment Pins
(402)Engine Oil Pan Drain Plug
(403)Engine Oil Pan Bolt
(404)Engine Oil Pan Long Bolt
(405)Oil Filter
(406)Oil Filter Cap O-ring
(407)Oil Filter Cap
(700)Oil Pressure Switch
(701)Crankshaft Position Sensor Bolt
(702)Crankshaft Position Sensor
(703)Knock Sensor
(706)Coolant Temperature Sensor
Figure 5:

Timing Chain and Components


Object Number: 1244842  Size: LF
(123)Balance Shaft Rear Bearing
(124)Exhaust Balance Shaft
(125)Intake Balance Shaft
(126)Exhaust Balance Shaft Bearing Carrier
(127)Intake Balance Shaft Bearing Carrier
(128)Exhaust Balance Shaft Drive Sprocket
(129)Intake Balance Shaft Drive Sprocket
(130)Balance Shaft Drive Sprocket Bolts
(223)Upper Timing Chain Guide Bolt
(224)Upper Timing Chain Guide
(225)Exhaust Camshaft Sprocket
(226)Intake Camshaft Sprocket
(227)Camshaft Sprocket to Camshaft Bolt
(228)Timing Chain Oil Nozzle
(229)Timing Chain Oil Nozzle Bolt
(230)Timing Chain Drive Sprocket
(231)Fixed Timing Chain Guide
(232)Fixed Timing Chain Guide Bolt
(233)Timing Chain
(234)Timing Chain Tensioner Washer
(235)Timing Chain Tensioner Body
(236)Timing Chain Tensioner O-Ring Seal
(237)Timing Chain Tensioner Plunger
(238)Adjustable Timing Chain Guide
(239)Adjustable Timing Chain Guide Bolt
(240)Balance Shaft Drive Sprocket
(241)Balance Shaft Drive Chain Guide
(242)Balance Shaft Drive Chain Guide Bolt
(243)Balance Shaft Drive Chain Guide
(244)Balance Shaft Drive Chain Guide Bolt
(245)Balance Shaft Drive Chain
(246)Balance Shaft Drive Chain Tensioner Assembly
(247)Balance Shaft Drive Chain Tensioner Assembly Bolt
(248)Adjustable Balance Shaft Drive Chain Guide
(249)Adjustable Balance Shaft Drive Chain Guide Bolt
(314)Water Pump Drive Sprocket
(315)Water Pump Drive Sprocket Bolt
(316)Water Pump Bolt
(317)Engine Front Cover Access Plate Gasket
(318)Engine Front Cover Access Plate
(319)Engine Front Cover Access Plate Bolt
(414)Engine Front Cover Alignment Pins
(415)Engine Front Cover Gasket
(416)Oil Pump Cover Bolt
(417)Oil Pump Cover
(418)Oil Pump Outer Gerotor
(419)Oil Pump Inner Gerotor
(420)Engine Front Cover
(421)Engine Front Cover Bolt
(422)Oil Pressure Relief Valve Spring
(423)Oil Pressure Relief Valve Plunger
(424)Oil Pressure Relief Valve O-Ring Seal
(425)Oil Pressure Relief Valve Plug
(426)Crankshaft Front Seal
(427)Crankshaft Dampener
(428)Crankshaft Dampener Bolt
(704)Belt Tensioner
(705)Belt Tensioner Bolt