GM Service Manual Online
For 1990-2009 cars only
Makes
🢒
Pontiac
🢒
2005
🢒
Grand Am
🢒 w/o ABS
w/o ABS
w/o ABS
Master Electrical Component List
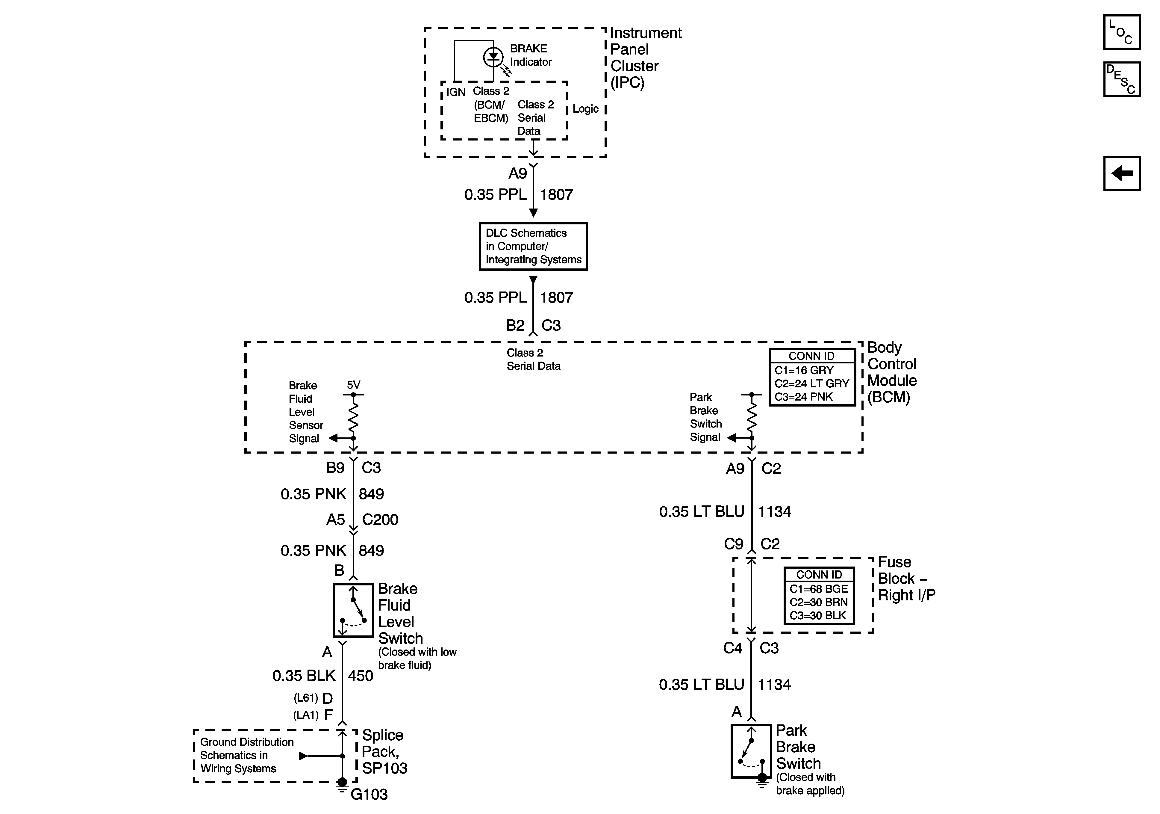
Brake Warning System Description and Operation
ABS
Data Link Connector (DLC) Schematics
G103 and G105
G103 and G105