GM Service Manual Online
For 1990-2009 cars only
Makes
🢒
Pontiac
🢒
2005
🢒
Grand Am
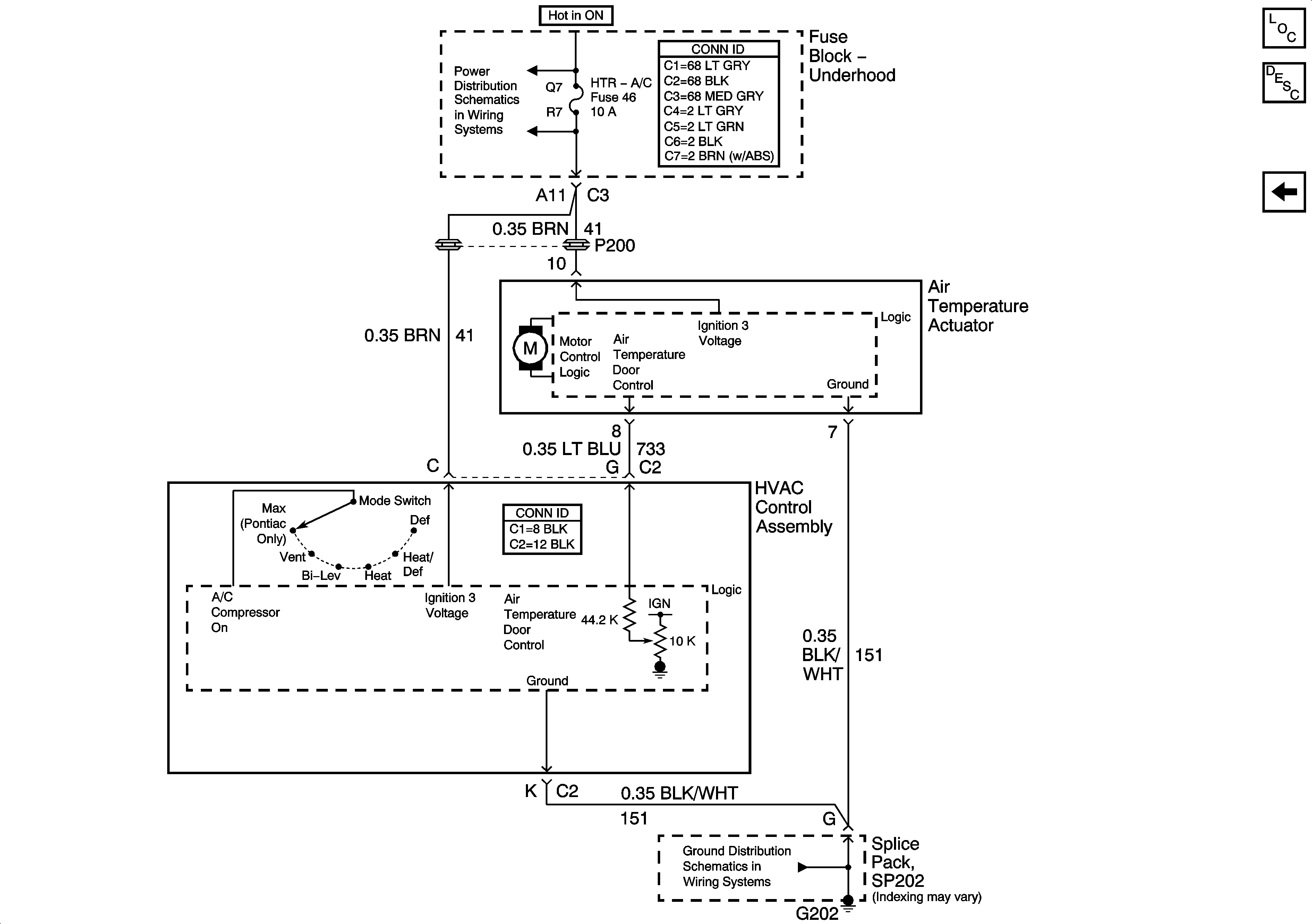
🢒 Temperature Controls
Temperature Controls
Temperature Controls
Master Electrical Component List
Air Delivery Description and Operation
Compressor Controls
IGN SW BATT1, ERLS, HTR-A/C and CRANK Fuses
G202