GM Service Manual Online
For 1990-2009 cars only
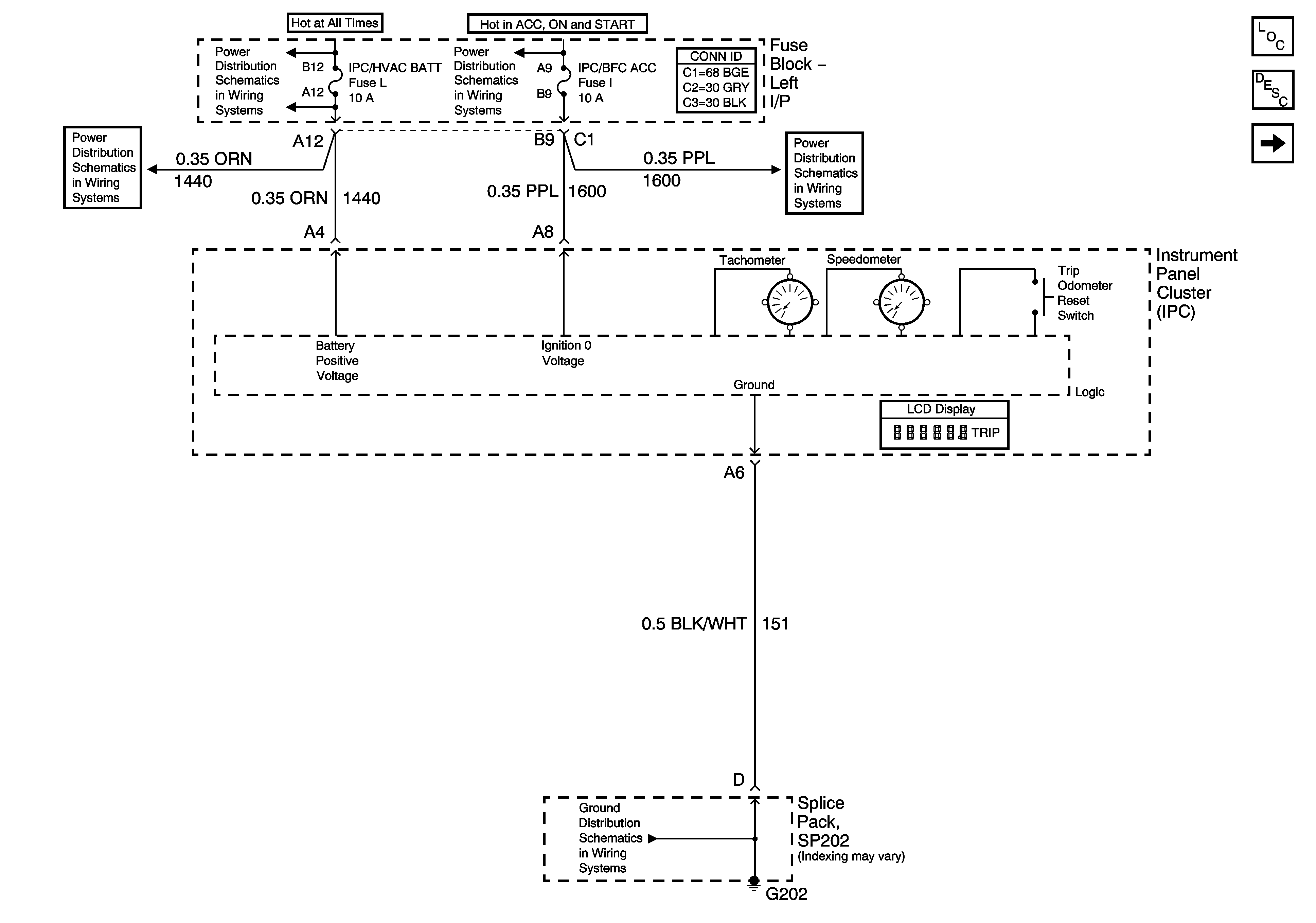
Figure 1:

Power, Ground, Tachometer, Speedometer, and Odometer


Object Number: 1392103  Size: FS
Figure 2:

Indicators


Object Number: 1392104  Size: FS
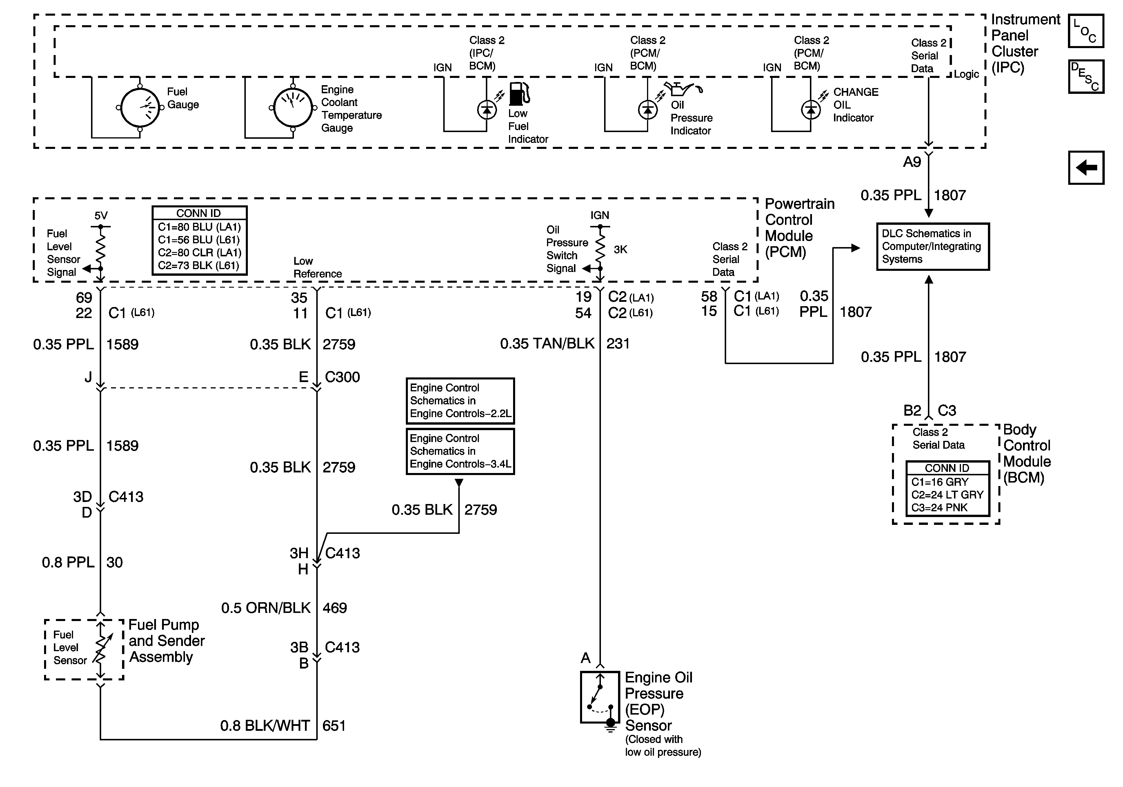
Figure 3:

Fuel Level and Oil Pressure


Object Number: 1392105  Size: FS