GM Service Manual Online
For 1990-2009 cars only

INADEQUATE HEATER PERFORMANCE (REWORK HEATER OUTLET)

HEATER PERFORMANCE

Vehicles Affected: 1988 "W" BODY VEHICLES ------------------

This bulletin is being revised to clarify the procedure steps.

Some comments about heater system performance with 1988 GM "W" cars, such as it being slow to warm up or having inadequate heat, may be received from some customers.

If the heater system is operating properly and the engine temperature is in the operating range, the cause of the problem may be reduced air/heat distribution from the heater outlet.

This condition may be addressed by the following rework procedure of the sound insulator panel and heater outlet duct.

Procedure:

1. Remove the left hand sound insulator panel from under the instrument panel (I.P.).

2. Remove the right hand sound insulator panel from under the dash panel.

3. Pull front seat (floor area) carpet back far enough to expose adapter duct screws and remove adapter duct where it joins the heater module to the rear seat heater duct (see Figure 1).

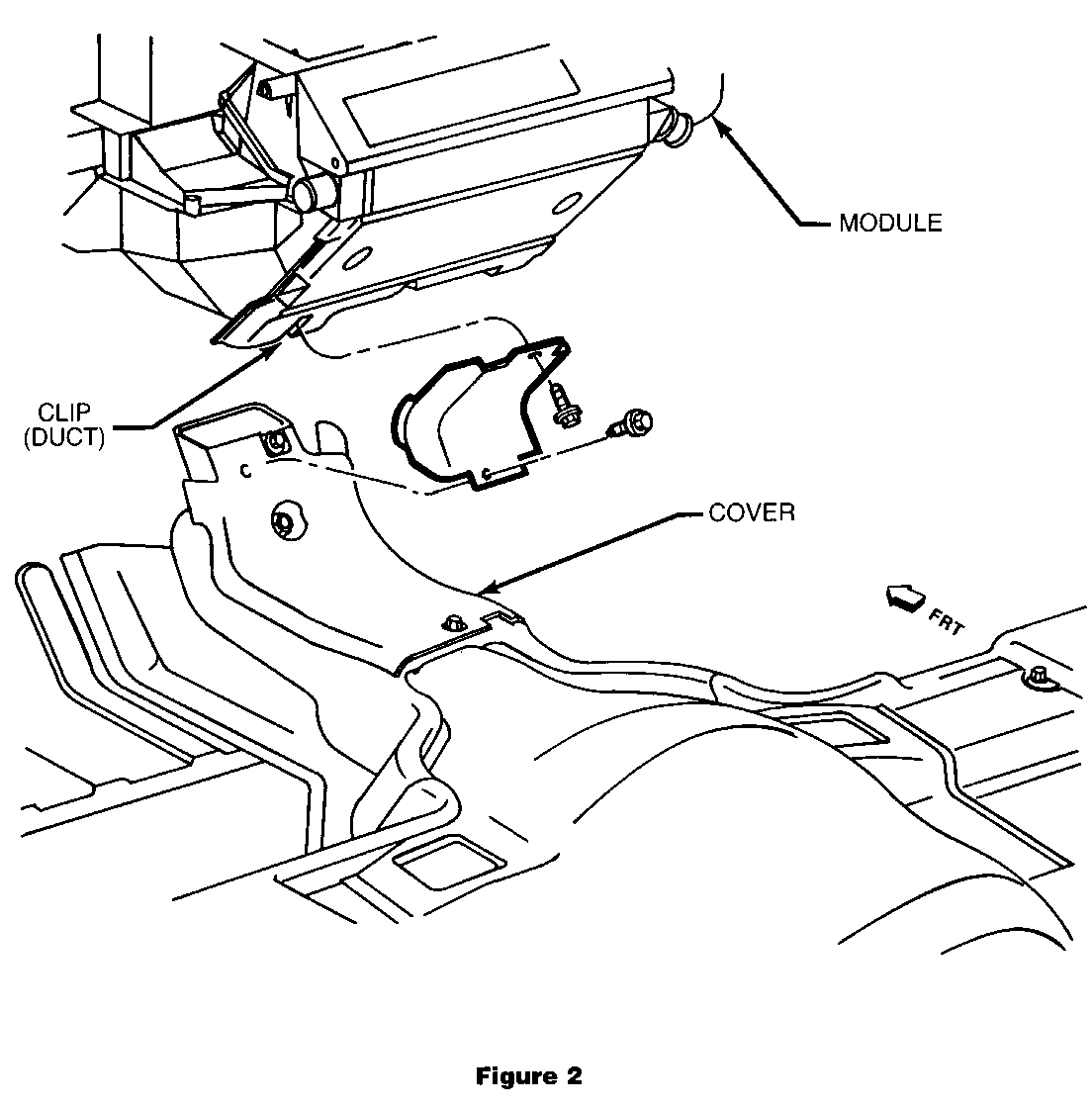
4. Remove rear outlet heater duct that is mounted with three (3) screws to the heater module (see Figure 2).

5. Using a sawblade cut off the right hand side of the sound insulator panel (as shown in Figure 3).

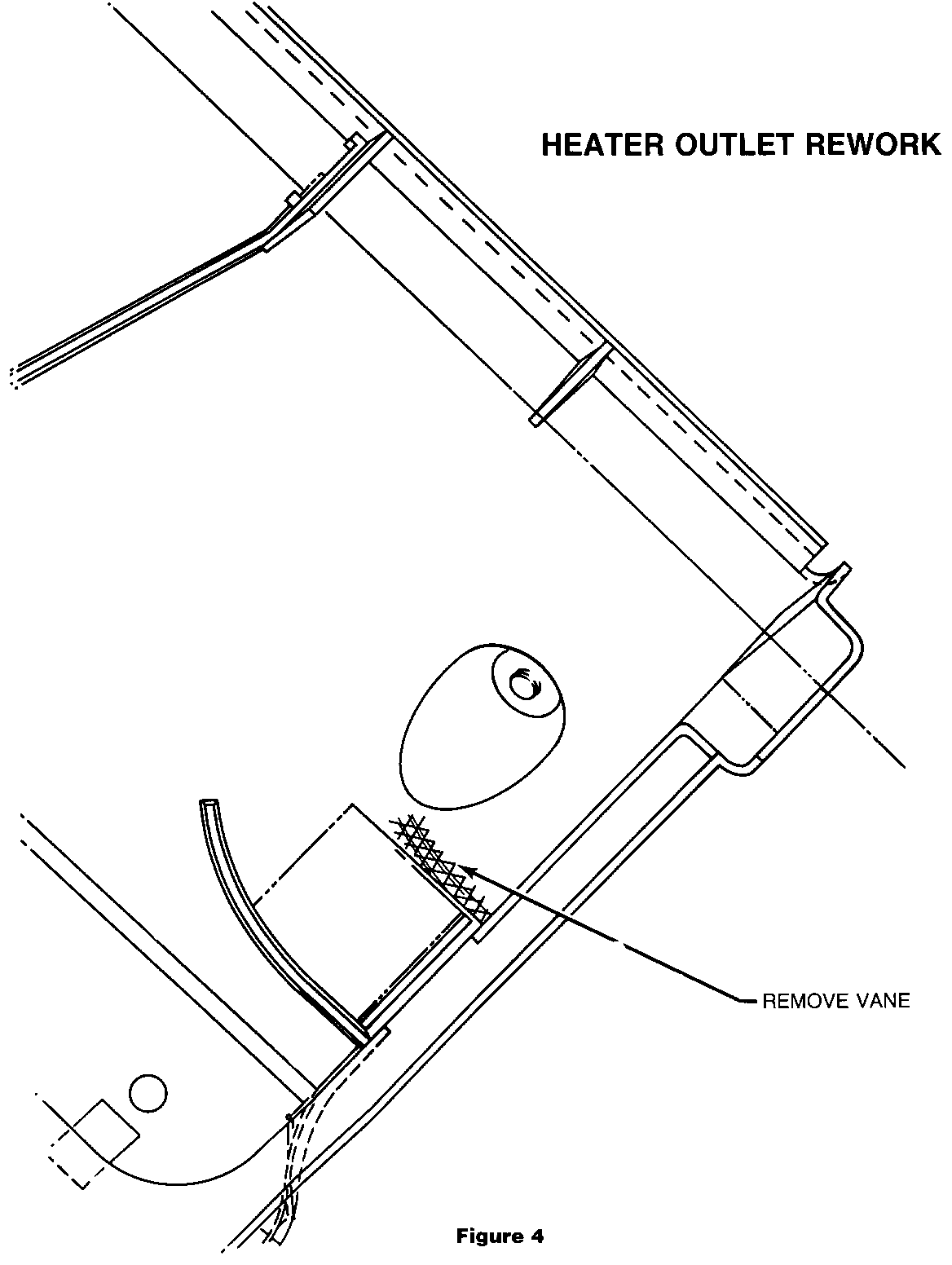
6. Using a sawblade or diagonal wire cutters, cut off the short vane on the rear outlet heater duct (vane located at the top side of the rectangular outlet hole as shown in Figure 4.)

7. Reinstall the rear heater duct, adapter duct, carpet, right and left hand sound insulator panels.

Assembly plant breakpoints on production corrections are not available at this time.

Use the most applicable labour operation from the Canadian Labour Time Guide.


Object Number: 75119  Size: FS


Object Number: 81665  Size: FS


Object Number: 77386  Size: FS


Object Number: 77385  Size: FS

General Motors bulletins are intended for use by professional technicians, not a "do-it-yourselfer". They are written to inform those technicians of conditions that may occur on some vehicles, or to provide information that could assist in the proper service of a vehicle. Properly trained technicians have the equipment, tools, safety instructions and know-how to do a job properly and safely. If a condition is described, do not assume that the bulletin applies to your vehicle, or that your vehicle will have that condition. See a General Motors dealer servicing your brand of General Motors vehicle for information on whether your vehicle may benefit from the information.