GM Service Manual Online
For 1990-2009 cars only

SHIFT SOLENOID RESISTANCE TEST (A&B, TCC & TCC/PWM SOLENOIDS

TRANSMISSION APPLICATIONS: 4T60-E

TRANSMISSION MODELS:

SUBJECT: SOLENOID(S) RESISTANCE TEST FOR: SHIFT SOLENOIDS - A AND B, TCC SOLENOID,TCC PWM SOLENOID

VEHICLE APPLICATIONS: 1991 C,E,K,W CARS

Bulletin Covers:

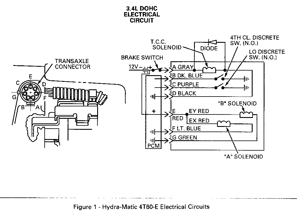
Resistance test values of solenoids on a vehicle equipped with a HYDRA-MATIC 4T60-E transaxle.

SERVICE PROCEDURE: Refer to Figure 1 -------------------------------------- Reference the resistance values below when testing solenoids with the Transaxle Test Box J 38791, following all instructions and notices included with the tool.

RESISTANCE RESISTANCE @ 20 degrees C @ 88 degrees C SOLENOID (68 degrees F) (190 degrees F) --------------------------- --------------- ---------------- Shift Solenoids A and B *20-30 Ohms *23-50 Ohms

TCC (Torque Converter Clutch) *20-30 Ohms *23-50 Ohms Solenoid

TCC PWM (Pulse Width Modulated) *101-15 Ohms *11-25 Ohms

(1991 Twin DOHC 3.4L HYDRA-MATIC 4T60-E W-car models do not have a PWM Solenoid)

* These resistance vales are measured at specified temperatures, and the resistance values could be greater at higher temperatures and reduced at lower temperatures.

SERVICE MANUAL REFERENCE:

Refer to 1991 Service Manual On-Car section for proper disassembly and assembly procedures.

SERVICE NOTES:

NOTICE: If energizing the TCC solenoid without using the Transaxle Test Box J 38791, ensure that the positive lead is connected to the "A" terminal and the negative lead to the "D" terminal. If the leads are reversed, the TCC solenoid diode will be damaged by the reverse polarity. A damaged TCC diode will allow the brake switch to be damaged by high voltage arcing, when the brake switch is depressed.


Object Number: 86441  Size: LF

General Motors bulletins are intended for use by professional technicians, not a "do-it-yourselfer". They are written to inform those technicians of conditions that may occur on some vehicles, or to provide information that could assist in the proper service of a vehicle. Properly trained technicians have the equipment, tools, safety instructions and know-how to do a job properly and safely. If a condition is described, do not assume that the bulletin applies to your vehicle, or that your vehicle will have that condition. See a General Motors dealer servicing your brand of General Motors vehicle for information on whether your vehicle may benefit from the information.