GM Service Manual Online
For 1990-2009 cars only

Removal Procedure

Notice: Do Not handle the fuel sender assembly by the fuel pipes. The amount of leverage generated by handling the fuel pipes could damage the joints.


    Object Number: 12753  Size: SH
  1. Relieve the fuel system fuel pressure. Refer to Fuel Pressure Relief W 3800, Fuel Pressure Relief W 3100, Fuel Pressure Relief W 3.4L.
  2. Drain the fuel tank. Refer to Fuel Tank Draining Procedure W 3800, Fuel Tank Draining W 3100, Fuel Tank Draining Procedure W 3.4L.
  3. Remove the fuel tank. Refer to Fuel Tank Replacement ,W 3800 Fuel Tank Replacement W 3100, Fuel Tank Replacement W 3.4L.
  4. Remove the fuel sender assembly. Refer to Fuel Sender Assembly Replacement W 3800, Fuel Sender Assembly Replacement W 3100, Fuel Sender Assembly Replacement W 3.4L.
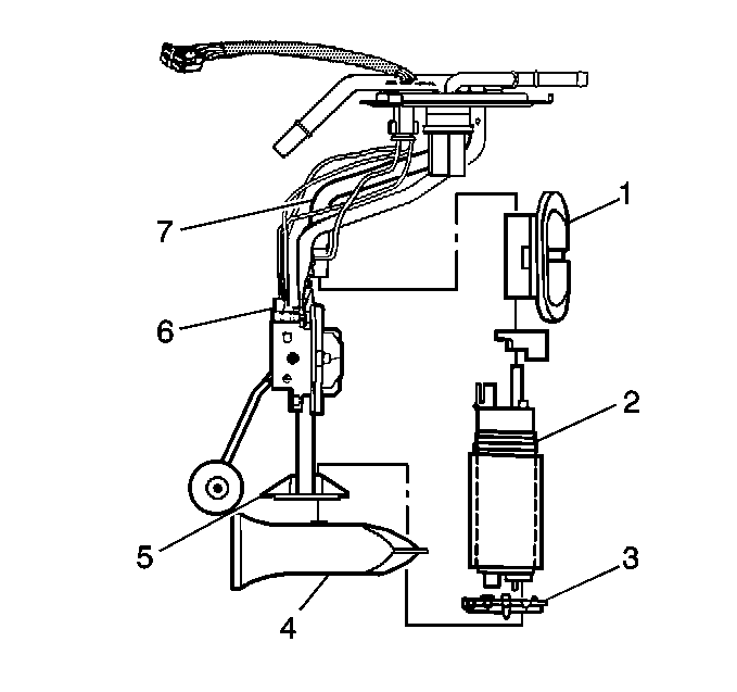
  5. Note the position of the fuel pump fuel strainer for the installation.
  6. Support the fuel pump with one hand and grasp the fuel pump fuel strainer with the other hand.
  7. Pull the fuel pump fuel strainer (4) off of the fuel pump (2).
  8. Inspect the fuel pump fuel strainer. If the fuel pump fuel strainer is contaminated, the fuel tank should be cleaned.
  9. Discard the fuel pump fuel strainer after inspection.
  10. Inspect the fuel pump inlet for dirt and debris. If dirt and debris are found, the fuel pump should be replaced.
  11. Remove the fuel pump electrical connector (6).
  12. Place the fuel sender assembly upside down on a bench.
  13. Pull the fuel pump downward in order to remove the fuel pump from the fuel pump mounting bracket (5), then tilt the fuel pump outward and remove the fuel pump from the fuel feed pipe.
  14. Note the position of the fuel pulse dampener (1) on the fuel pump inlet pipe (7), then remove the fuel pulse dampener from the fuel pump inlet pipe.
  15. Transfer the fuel pump to the new fuel sender.
  16. Dry the fuel pulse dampener with a shop towel.
  17. Shake the fuel pulse dampener while listening for trapped fuel movement inside the fuel pulse dampener.
  18. Notice: In order to prevent damage to the fuel pump, Do Not run the fuel pump unless the fuel pump is submerged in fuel.

  19. If the fuel is heard inside of the fuel pulse dampener, replace the fuel pulse dampener.
  20. Remove the fuel pump strainer. If the fuel pump strainer is contaminated, the fuel tank should be cleaned.
  21. Inspect the fuel pump inlet for dirt and debris. If dirt and debris are found, the fuel pump should be replaced.

Installation Procedure


    Object Number: 12753  Size: SH
  1. Install the fuel pulse dampener (1) in the same position as noted during disassembly.
  2. Install the rubber insulator (3) on the fuel pump.
  3. Position the fuel sender assembly upside down.
  4. Install the fuel pump (2) between the fuel pulse dampener and the fuel pump mounting bracket (5).
  5. Install the fuel pump electrical connector (6).
  6. Important: Always install a new fuel pump fuel strainer when installing a fuel pump.

  7. Position the new fuel pump fuel strainer (4) on the fuel pump and push on the outer edge of the fuel pump fuel strainer until the fuel pump fuel strainer is fully seated.
  8. Install the fuel sender assembly. Refer to Fuel Sender Assembly Replacement W 3800, Fuel Sender Assembly Replacement W 3100, Fuel Sender Assembly Replacement W 3.4L.
  9. Install the fuel tank. Refer to Fuel Tank Replacement W 3800, Fuel Tank Replacement W 3100, Fuel Tank Replacement W 3.4L.
  10. Lower the vehicle.
  11. Add fuel and install the fuel tank filler pipe cap.
  12. Install the negative battery cable.
  13. Inspect for leaks.
  14. 12.1. Inspect turn the ignition switch to the ON position for two seconds.
    12.2. Turn the ignition switch to the OFF position for ten seconds.
    12.3. Turn the ignition switch back to the ON position.
    12.4. Check for fuel leaks.