GM Service Manual Online
For 1990-2009 cars only

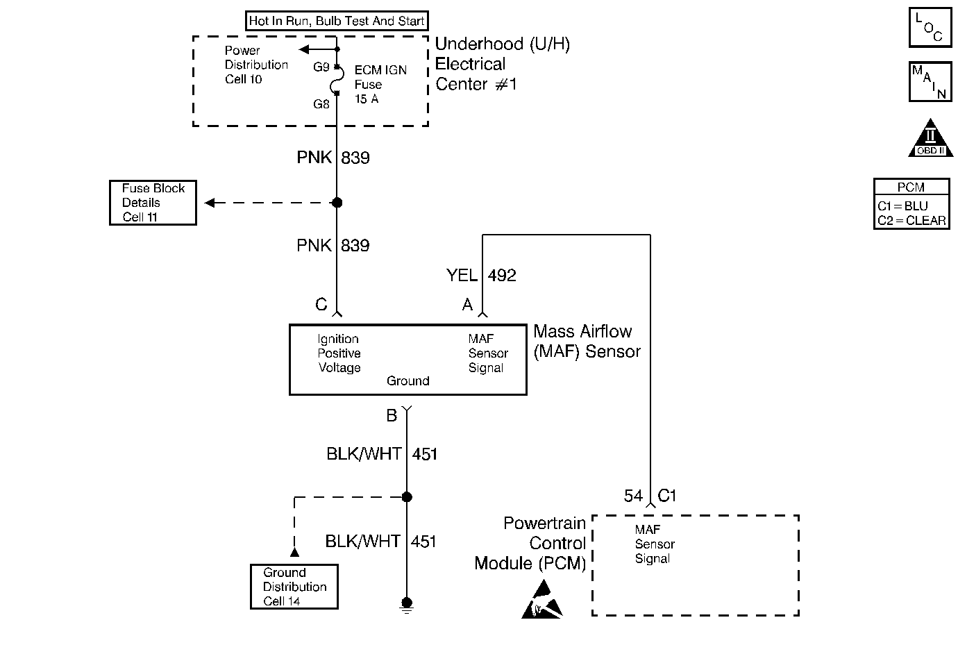
Object Number: 23442  Size: MF
Engine Controls Components
MAF Sensor, EVAP System EGR Valve
OBD II Symbol Description Notice

Circuit Description

The mass air flow (MAF) sensor measures the amount of air which passes through it into the engine during a given time. The PCM uses the mass air flow information to monitor engine operating conditions for fuel delivery calculations. A large quantity of air entering the engine indicates an acceleration or high load situation, while a small quantity of air indicates deceleration or idle. The MAF sensor produces a frequency signal which can be monitored using a scan tool. The frequency will vary within a range of around 2,000 Hertz at idle to about 10,000 Hertz at maximum engine load. DTC P0102 will be set if the signal frequency from the MAF sensor is lower than the possible range of a normally operating MAF sensor.

Conditions for Setting the DTC

    • The engine is running.
    • MAF signal frequency is less than 1200 Hertz
    • Above conditions present for over 3 seconds.

Action Taken When the DTC Sets

    • The PCM will illuminate the malfunction indicator lamp (MIL) the first time the malfunction is detected.
    • The PCM calculates an airflow value based on idle air control valve position, throttle position, RPM and barometric pressure.
    • The PCM will store conditions which were present when the DTC set as Freeze Frame and Failure Records data.

Conditions for Clearing the MIL/DTC

    • The PCM will turn OFF the MIL during the third consecutive trip in which the diagnostic has been run and passed.
    • The History DTC will clear after 40 consecutive warm-up cycles have occurred without a malfunction.
    • The DTC can be cleared by using the scan tool.

Diagnostic Aids

A low minimum air rate can cause DTC P0102 to be set during deceleration. Check the minimum air rate as follows:

  1. Run the engine until fully warm (above 85°C / 185°F).
  2. With the engine idling, use the scan tool RPM control function to command the IAC valve to the fully extended position (0 counts).
  3. With the IAC fully extended, observe the Mass Air Flow reading on the scan tool.
  4. Check for conditions that can cause a low minimum air rate, including throttle bore and throttle plate coking if the Mass Air Flow reading is less than 2.58 gm/sec.
  5. If the minimum Air rate is less than specifications, clean or replace the throttle body as necessary.

Check for the following conditions:

    • Poor connection at PCM. Inspect harness connectors for backed out terminals, improper mating, broken locks, improperly formed or damaged terminals, and poor terminal to wire connection.
    • Misrouted harness. Inspect the MAF sensor harness to ensure that it is not routed too close to high voltage wires such as spark plug leads.
    • Damaged harness. Inspect the wiring harness for damage. If the harness appears to be OK, observe the scan tool while moving connectors and wiring harnesses related to the MAF sensor. A change in the display will indicate the location of the fault.
    • Plugged intake air duct or filter element. A Wide-Open throttle acceleration from a stop should cause the Mass Air Flow displayed on a scan tool to increase from about 4-7 gm/s at idle to 100 gm/s or greater at the time of the 1-2 shift. If not, check for a restriction. Refer to Air Induction System .

If DTC P0102 cannot be duplicated, the information included in the Fail Records data can be useful in determining vehicle mileage since the DTC was last set.

Test Description

Number(s) below refer to the Step number(s) on the Diagnostic Chart:

  1. This step verifies that the problem is present at idle.

  2. A voltage reading of less than 4 or over 6 volts at the MAF sensor signal circuit indicates a fault in the wiring or a poor connection.

  3. Verifies that ignition feed voltage and a good ground are available at the MAF sensor.

  4. This vehicle is equipped with a PCM which utilizes an Electrically Erasable Programmable Read Only Memory (EEPROM). When the PCM is being replaced, the new PCM must be programmed. Refer to PCM Replacement and Programming Procedures in Powertrain Control Module (PCM) and Sensors.

DTC P0102 - MAF Sensor Circuit Low Frequency

Step

Action

Value(s)

Yes

No

1

Was the Powertrain On-Diagnostic System Check performed?

--

Go to Step 2

Go to the Powertrain OBD System Check

2

  1. Start engine.
  2. With the engine idling, monitor MAF FREQUENCY display on the scan tool Eng 1 data list.

Is MAF FREQUENCY below the specified value?

1150 Hz

Go to Step 4

Go to Step 3

3

  1. Turn ON the ignition switch, engine OFF.
  2. Review and record scan tool Fail Records data
  3. Operate vehicle within Fail Records conditions as noted.
  4. Using a scan tool, monitor Specific DTC info for DTC P0102.

Does scan tool indicate DTC P0102 failed this ign?

--

Go to Step 4

Refer to Diagnostic Aids

4

  1. Check for the following conditions:
  2. • Objects blocking the MAF sensor inlet screen;
    • Intake manifold vacuum leaks;
    • Vacuum leaks at throttle body;
    • Vacuum leaks at EGR valve flange and pipes
    • PCV valve faulty, missing, or incorrectly installed.
    • Low minimum air rate. Refer to Diagnostic Aids.
  3. If a problem is found, repair as necessary.

Was a problem found?

--

Go to Step 14

Go to Step 5

5

  1. Turn OFF the ignition switch.
  2. Disconnect the MAF sensor connector.
  3. Turn ON the ignition switch, engine OFF.
  4. Using a DVM, measure voltage between the MAF signal circuit and battery ground.

Is the voltage near the specified value?

5V

Go to Step 6

Go to Step 9

6

Connect a test light between the MAF sensor ignition feed and ground circuits at the MAF sensor harness connector.

Is the test light ON?

--

Go to Step 8

Go to Step 7

7

Connect a test light between MAF sensor ignition feed circuit and battery ground

Is the test light ON?

--

Go to Step 10

Go to Step 11

8

  1. Check for a poor connection at the MAF sensor.
  2. If a poor connection is found, replace faulty terminal(s). Refer to Repair Procedures in Electrical Diagnosis.

Was a poor connection found?

--

Go to Step 14

Go to Step 12

9

  1. Check the MAF signal circuit between the PCM and the MAF sensor for an open, short to ground, short to the MAF ground circuit, or short to voltage.
  2. If the MAF signal circuit is open or shorted, repair it as necessary (refer to Repair Procedures in Electrical Diagnosis.

Was the MAF signal circuit open or shorted?

--

Go to Step 14

Go to Step 13

10

Locate and repair the open in the ground circuit to the MAF sensor. Refer to Repair Procedures in Electrical Diagnosis.

Is action complete?

--

Go to Step 14

--

11

Locate and repair the open in the ignition feed circuit to the MAF sensor Refer to Repair Procedures in Electrical Diagnosis.

Is action complete?

--

Go to Step 14

--

12

Replace the MAF sensor.

Is action complete?

--

Go to Step 14

--

13

Replace the PCM.

Important: Replacement PCM must be programmed Refer to On-Vehicle Service in Powertrain Control Module and Sensors for procedures.

Is action complete?

--

Go to Step 14

--

14

  1. Turn ON the ignition switch, engine OFF, review and record scan tool Fail Records data.
  2. Clear DTCs.
  3. Operate vehicle within Fail Records conditions as noted.
  4. Using a scan tool, monitor Specific DTC info for DTC P0102.

Does scan tool indicate DTC P0102 failed this ign?

--

Go to Step 2

System OK