GM Service Manual Online
For 1990-2009 cars only

Radiator Air Baffle Assemblies and Deflectors Radiator Air Baffle Chevy

Removal Procedure

  1. Raise the Hood.

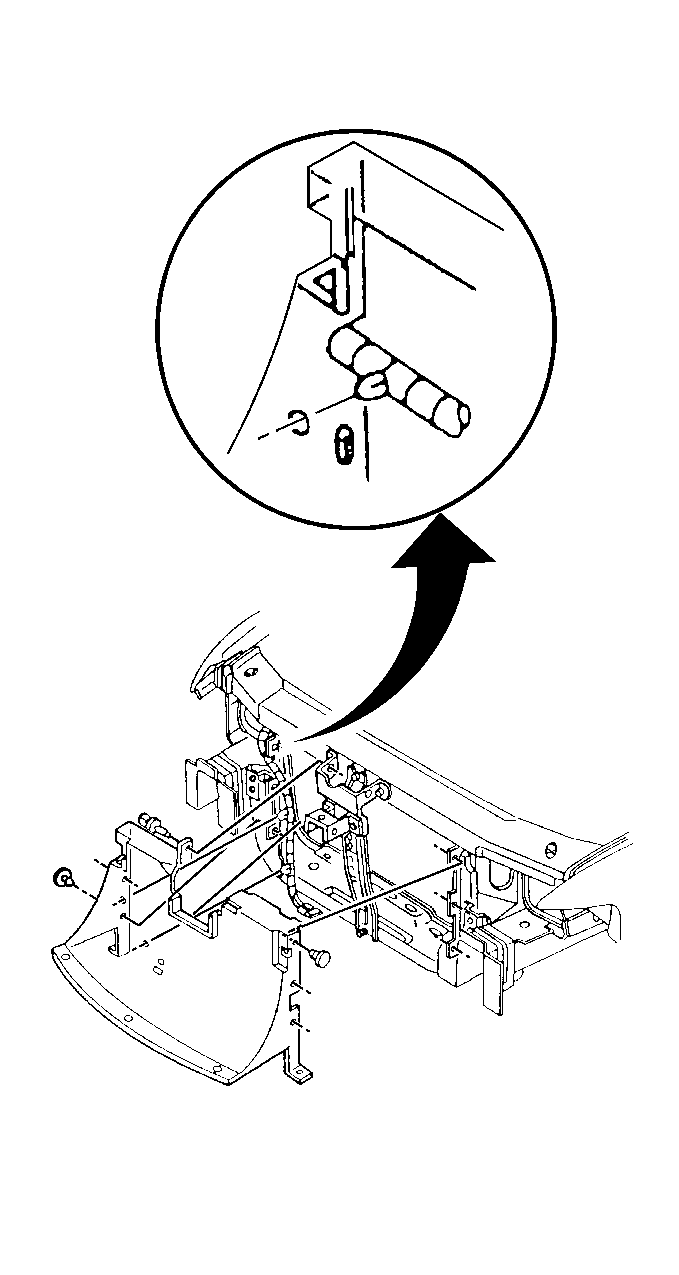
  2. Object Number: 163462  Size: LH
  3. Remove the radiator air baffle upper retaining clips.
  4. Remove the radiator air baffle upper mounting bolts.
  5. Disconnect the side air baffles from the upper air baffle.
  6. Remove the radiator upper air baffle.
  7. Remove the radiator side air baffle mounting bolts.
  8. Remove the radiator side air baffles.

Installation Procedure

  1. Install the radiator side air baffles.

  2. Object Number: 163462  Size: LH
  3. Install the radiator side air baffle mounting bolts.
  4. Tighten
    Tighten the bolts to 10 N·m (89 lb in)

    Notice: Use the correct fastener in the correct location. Replacement fasteners must be the correct part number for that application. Fasteners requiring replacement or fasteners requiring the use of thread locking compound or sealant are identified in the service procedure. Do not use paints, lubricants, or corrosion inhibitors on fasteners or fastener joint surfaces unless specified. These coatings affect fastener torque and joint clamping force and may damage the fastener. Use the correct tightening sequence and specifications when installing fasteners in order to avoid damage to parts and systems.

  5. Install the radiator upper air baffle.
  6. Connect the side air baffles to the upper air baffle.
  7. Install the radiator air baffle upper mounting bolts.
  8. Tighten
    Tighten the bolts to 10 N·m (89 lb in)

    Notice: Use the correct fastener in the correct location. Replacement fasteners must be the correct part number for that application. Fasteners requiring replacement or fasteners requiring the use of thread locking compound or sealant are identified in the service procedure. Do not use paints, lubricants, or corrosion inhibitors on fasteners or fastener joint surfaces unless specified. These coatings affect fastener torque and joint clamping force and may damage the fastener. Use the correct tightening sequence and specifications when installing fasteners in order to avoid damage to parts and systems.

  9. Install the radiator air baffle upper retaining clips.
  10. Lower the hood.

Radiator Air Baffle Assemblies and Deflectors Radiator Air Baffle Olds

Removal Procedure

  1. Raise the Hood.

  2. Object Number: 163465  Size: MH
  3. Remove the radiator air baffle upper retaining clips.

  4. Object Number: 163467  Size: MH
  5. Raise and suitably support the vehicle. Refer to General Information.
  6. Remove the outside air temperature sensor. Refer to Automatic Control Air Conditioning.
  7. Remove the radiator air baffle lower retaining clips.
  8. Remove the radiator air baffle.

Installation Procedure

  1. Install the radiator air baffle.

  2. Object Number: 163467  Size: MH
  3. Install the radiator air baffle lower retaining clips.
  4. Install the outside air temperature sensor. Refer to Automatic Control Air Conditioning.
  5. Lower the vehicle.

  6. Object Number: 163465  Size: MH
  7. Install the radiator air baffle upper retaining clips.
  8. Lower the hood.

Radiator Air Baffle Assemblies and Deflectors Radiator Air Baffle Pon/Bui

Removal Procedure

  1. Raise the Hood.

  2. Object Number: 163476  Size: SH
  3. Remove the radiator air baffle upper retaining clips.

  4. Object Number: 163483  Size: SH
  5. Raise and suitably support the vehicle. Refer to General Information.
  6. Remove the outside air temperature sensor. Refer to Automatic Control Air Conditioning.
  7. Remove the radiator air baffle lower retaining clips.
  8. Remove the radiator air baffle.

Installation Procedure

  1. Install the radiator air baffle.

  2. Object Number: 163483  Size: SH
  3. Install the radiator air baffle lower retaining clips.
  4. Install the outside air temperature sensor. Refer to Automatic Control Air Conditioning.
  5. Lower the vehicle.

  6. Object Number: 163476  Size: SH
  7. Install the radiator air baffle upper retaining clips.
  8. Lower the hood.

Radiator Air Baffle Assemblies and Deflectors Lower Air Deflector Chevy

Removal Procedure

  1. Raise and suitably support the vehicle. Refer to General Information.

  2. Object Number: 163471  Size: SH
  3. Remove the radiator lower air deflector mounting bolts.
  4. Remove the radiator lower air deflector.

Installation Procedure

  1. Install the radiator lower air deflector.

  2. Object Number: 163471  Size: SH
  3. Install the radiator lower air deflector mounting bolts.
  4. Tighten
    Tighten the bolts to 20 N·m (15 lb ft)

    Notice: Use the correct fastener in the correct location. Replacement fasteners must be the correct part number for that application. Fasteners requiring replacement or fasteners requiring the use of thread locking compound or sealant are identified in the service procedure. Do not use paints, lubricants, or corrosion inhibitors on fasteners or fastener joint surfaces unless specified. These coatings affect fastener torque and joint clamping force and may damage the fastener. Use the correct tightening sequence and specifications when installing fasteners in order to avoid damage to parts and systems.

  5. Lower the vehicle.

Radiator Air Baffle Assemblies and Deflectors Lower Air Deflector Olds

Removal Procedure

  1. Raise and suitably support the vehicle. Refer to General Information.

  2. Object Number: 163473  Size: SH
  3. Remove the radiator lower air deflector mounting bolts.
  4. Remove the radiator lower air deflector.

Installation Procedure

  1. Install the radiator lower air deflector.

  2. Object Number: 163473  Size: SH
  3. Install the radiator lower air deflector mounting bolts.
  4. Tighten
    Tighten the bolts to 20 N·m (15 lb ft)

    Notice: Use the correct fastener in the correct location. Replacement fasteners must be the correct part number for that application. Fasteners requiring replacement or fasteners requiring the use of thread locking compound or sealant are identified in the service procedure. Do not use paints, lubricants, or corrosion inhibitors on fasteners or fastener joint surfaces unless specified. These coatings affect fastener torque and joint clamping force and may damage the fastener. Use the correct tightening sequence and specifications when installing fasteners in order to avoid damage to parts and systems.

  5. Lower the vehicle.

Radiator Air Baffle Assemblies and Deflectors Lower Air Deflector Pon/Bui

Removal Procedure

  1. Raise and suitably support the vehicle. Refer to General Information.

  2. Object Number: 163489  Size: SH
  3. Remove the radiator lower air deflector mounting bolts.
  4. Remove the radiator lower air deflector.

Installation Procedure

  1. Install the radiator lower air deflector.

  2. Object Number: 163489  Size: SH
  3. Install the radiator lower air deflector mounting bolts.
  4. Tighten
    Tighten the bolts to 20 N·m (15 lb ft)

    Notice: Use the correct fastener in the correct location. Replacement fasteners must be the correct part number for that application. Fasteners requiring replacement or fasteners requiring the use of thread locking compound or sealant are identified in the service procedure. Do not use paints, lubricants, or corrosion inhibitors on fasteners or fastener joint surfaces unless specified. These coatings affect fastener torque and joint clamping force and may damage the fastener. Use the correct tightening sequence and specifications when installing fasteners in order to avoid damage to parts and systems.

  5. Lower the vehicle.