GM Service Manual Online
For 1990-2009 cars only

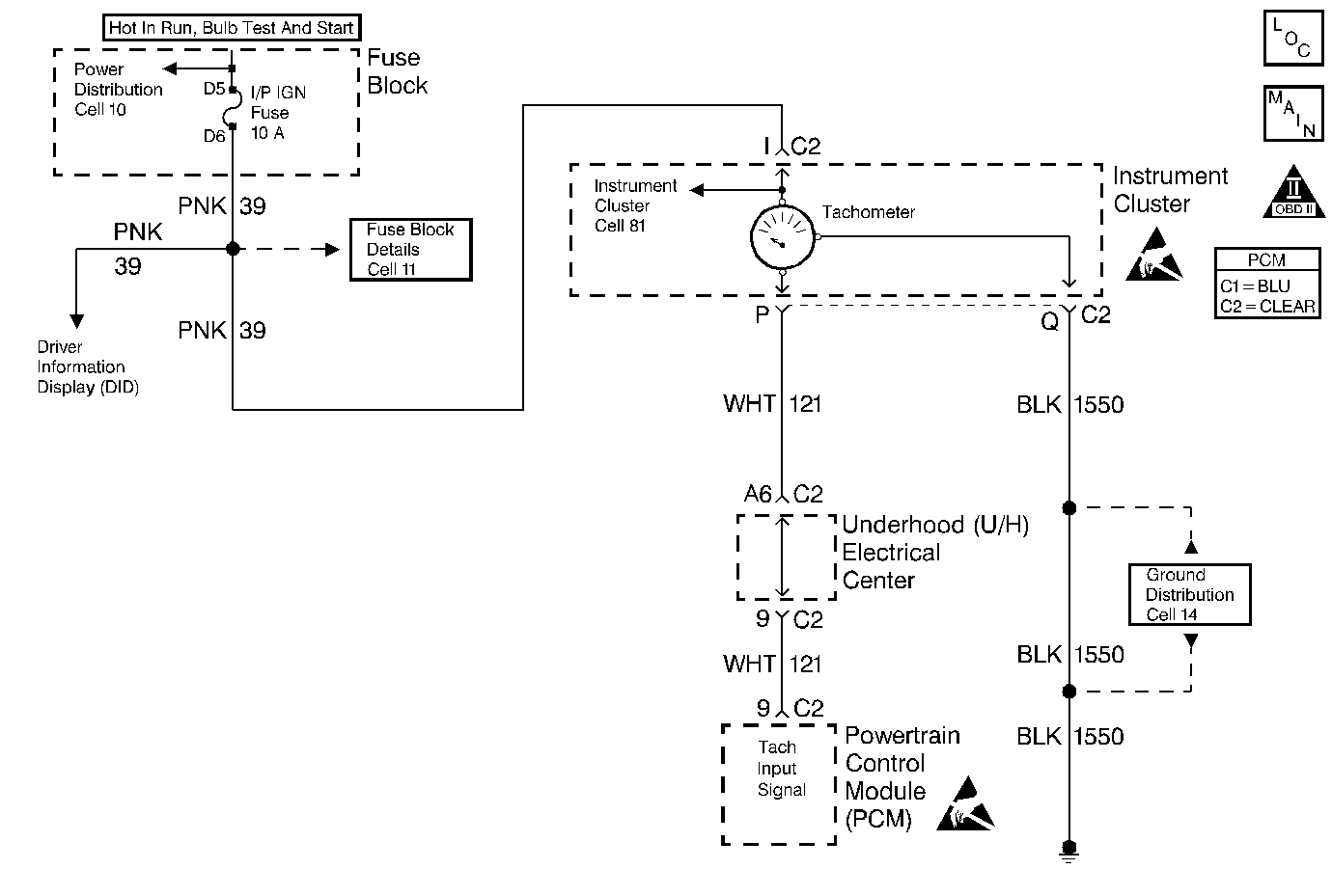
Powertrain Control Module Controlled Warning Lamps Diagnosis Tachometer


Object Number: 106837  Size: MF
Engine Controls Components
Indicator Lamps
OBD II Symbol Description Notice
Handling ESD Sensitive Parts Notice
Handling ESD Sensitive Parts Notice

Circuit Description

The PCM supplies the ground to energize the Instrument Cluster tachometer. When the ignition switch is first turned on the PCM grounds the tachometer circuit. The circuit will remain grounded until the PCM receives the first 24X reference pulse. Once the 24X reference pulse is received, the PCM controls the pulse frequency in relationship to engine RPM. The tachometer is controlled at a rate of two pulses per crankshaft revolution.

Diagnostic Aids

Refer to Instrument Cluster in Electrical Diagnosis for additional diagnostic information.

Check for the following conditions:

    • Poor connection at the PCM or instrument cluster. Inspect harness connectors for backed out terminals, improper mating, broken locks, improperly formed or damaged terminals, and poor terminal to wire connection.
    • Damaged harness. Inspect the wiring harness for damage. If the harness appears to be OK, disconnect the PCM, turn the ignition ON and observe a voltmeter connected to the tachometer control circuit at the PCM harness connector while moving connectors and wiring harnesses related to the tachometer control circuit. A change in voltage will indicate the location of the fault.

Test Description

Number(s) below refer to the step number(s) on the Diagnostic Chart.

  1. Normally, ignition feed voltage should be present on the output driver circuit with the PCM disconnected and the ignition turned ON.

  2. Checks for a shorted component or a short to B+ on the output driver circuit. Either condition would result in a measured current of over 0.5 amps.

  3. Checks for a faulty instrument cluster.

  4. A fault in the 24X/Camshaft position sensors feed or ground circuits will result in the loss of both PCM input pulses. Without a 24X reference pulse the PCM can not begin tachometer pulse control causing an inoperative tachometer.

  5. This vehicle is equipped with a PCM which utilizes an Electrically Erasable Programmable Read Only Memory (EEPROM). When the PCM is being replaced, the new PCM must be programmed. Refer to PCM Replacement and Programming Procedures in Powertrain Control Module (PCM) and Sensors.

Tachometer Control Circuit

Step

Action

Value(s)

Yes

No

1

Was Instrument Cluster diagnosis in Electrical Diagnosis performed?

--

Go to Step 2

Go to Instrument Cluster diagnosis in Electrical Diagnosis

2

Was the Powertrain On-Board Diagnostic System Check performed?

--

Go to Step 3

Go to Powertrain On Board Diagnostic (OBD) System Check Powertrain OBD System Check

3

  1. Turn OFF the ignition switch, disconnect the PCM.
  2. Turn ON the ignition switch.
  3. Using DMM (J 39200), measure voltage between the tachometer control circuit at the PCM harness connector and ground.

Is voltage near the specified value?

B+

Go to Step 4

Go to Step 7

4

  1. Set up DMM to measure 10 amp range.
  2. Measure current between the tachometer control circuit and ground.
  3. Monitor the current reading on the DMM for at least 2 minutes.

Does the current reading remain less than the specified value?

0.5 Amp

Go to Step 12

Go to Step 5

5

  1. Disconnect the instrument cluster (leave the PCM disconnected).
  2. Using DMM, measure voltage between the tachometer control circuit and ground.

Is voltage at the specified value?

0V

Go to Step 17

Go to Step 6

6

Locate and repair short to voltage in the tachometer control circuit. Refer to Repair Procedures in Electrical Diagnosis.

Is action complete?

--

Go to Step 19

--

7

Check the ignition feed fuse for the instrument cluster.

Is the fuse blown?

--

Go to Step 8

Go to Step 9

8

  1. Locate and repair the following short condition:
  2. • Short to ground in ignition feed circuit.
    • Shorted component. Refer to Fuse Block Details in Electrical Diagnosis.
  3. Replace fuse.

Is action complete?

--

Go to Step 19

--

9

  1. Disconnect the instrument cluster.
  2. Turn ON the ignition switch, measure voltage between the ignition feed circuit for the instrument cluster and ground.

Is voltage near the specified value?

B+

Go to Step 10

Go to Step 16

10

  1. Check the tachometer control circuit for an open or a short to ground.
  2. If a problem is found, repair the tachometer control circuit.

Was a problem found?

--

Go to Step 19

Go to Step 11

11

  1. Check the tachometer control circuit and the ignition feed circuit for a poor connection at the instrument cluster and at the PCM.
  2. If a problem is found, replace faulty terminal(s).

Was a problem found?

--

Go to Step 19

Go to Step 17

12

  1. Turn OFF the ignition switch, reconnect the PCM and disconnect the instrument cluster.
  2. Connect a test light between the tachometer control circuit and the tachometer feed circuit at the instrument cluster harness connector.
  3. With the engine idling, observe the test light.

Does the test light flash ON and OFF?

--

Refer to Diagnostic Aids

Go to Step 13

13

Is the test light on steady?

--

Go to Step 14

Go to Step 15

14

Locate and repair the following circuit condition:

    • Short to ground in the 24X/Camshaft position sensor feed circuit.
    • Open in the 24X/Camshaft position sensor ground circuit.
    • Faulty splice connection in the 24X/Camshaft position sensor feed or ground circuit.

Is action complete?

--

Go to Step 19

--

15

  1. Check the tachometer control circuit for a poor connection at the PCM.
  2. If a problem is found, replace faulty terminal.

Was a problem found?

--

Go to Step 19

Go to Step 18

16

Locate and repair open in ignition feed circuit to the instrument cluster. Refer to Repair Procedures in Electrical Diagnosis.

Is action complete?

--

Go to Step 19

--

17

Replace the instrument cluster.

Is action complete?

--

Go to Step 19

--

18

Replace the PCM.

Important: Replacement PCM must be programmed. Refer to Powertrain Control Module Replacement/Programming PCM Replacement/Programmingfor procedures.

Is action complete?

--

Go to Step 19

--

19

Operate the vehicle while observing the I/P tachometer.

Does the I/P tachometer operate properly?

--

System OK

Go to Instrument Cluster diagnosis in Electrical Diagnosis.

Powertrain Control Module Controlled Warning Lamps Diagnosis Lamps

Refer to

Indicator Lamps


Object Number: 82359  Size: FS
Engine Controls Components
Information Sensors
Engine Data Sensors-A/C Refrigerant Pressure, TP, MAP, ECT, IAT
Fuel Injectors
OBD II Symbol Description Notice
Handling ESD Sensitive Parts Notice
Handling ESD Sensitive Parts Notice
.

Circuit Description

The PCM controlled lamps are powered through the I/P IGN. The PCM turns ON the bulb, LED, or driver info center indicator by supplying a path to ground through the PCM.

Conditions which will illuminate each lamp are as follows:

    • Change Oil Soon - The PCM will command the Change oil soon lamp on when the following conditions are met:
        1. When the PCM determines that only 11% of the Oil Life is remaining.
        2. The Change Oil Lamp will illuminate for about 1 minute.
    • Generator Lamp - The PCM supplies battery voltage to the generator's internal regulator (generator terminal L). When a fault in the Charging System occurs, the internal regulator grounds the L terminal voltage and the PCM commands the generator lamp ON. The PCM will command the generator lamp ON when the following condition(s) are present:
       - Engine speed is above 1200 RPM and system voltage is below 10 volts for at least 10 seconds.
       - The PCM detects a low voltage condition on the generator's L terminal for at least 10 seconds.
    • Hot Coolant Lamp - The PCM will command the hot coolant lamp on when engine coolant temperature rises above 124°C (255°F). The PCM will turn the hot coolant lamp OFF when engine coolant temperature decreases to below 121°C (248°F).

Diagnostic Aids

A PCM controlled lamp ON at all times most likely indicates that a condition is present which requires the attention of the vehicle operator.

Check for the following conditions:

    • Poor connection at PCM. Inspect harness connectors for backed out terminals, improper mating, broken locks, improperly formed or damaged terminals, and poor terminal to wire connection.
    • Damaged harness. Inspect the wiring harness for damage. If the harness appears to be OK, disconnect the PCM and turn the ignition ON . Observe a voltmeter connected to the affected PCM output circuit while moving connectors and wiring harnesses related to the PCM output circuit. A change in voltage will indicate the location of the fault.
    • Engine Oil Level Switch circuit: Use the Engine Oil Level Switch Diagnosis.

Test Description

Number(s) below refer to the step number(s) on the Diagnostic Chart.

  1. Normally, ignition feed voltage should be present on the output control circuit with the PCM disconnected and the ignition turned ON.

  2. Checks for a shorted component or a short to B+ on the output control circuit. Either condition would result in a measured current of over 1.5 amps. Also checks for a component that is going open while being operated, resulting in a measured current of 0 amps.

  3. Checks for a malfunctioning instrument cluster.

  4. This vehicle is equipped with a PCM which utilizes an Electrically Erasable Programmable Read Only Memory (EEPROM). When the PCM is being replaced, the new PCM must be programmed.

PCM Controlled Lamps

Step

Action

Value(s)

Yes

No

1

Was the Powertrain On-Board Diagnostic (OBD) System Check performed?

--

Go to Step 2

Go to the Powertrain On Board Diagnostic (OBD) System Check

2

Was the Instrument Cluster System check in Electrical Diagnosis performed?

--

Go to Step 3

Go to the Instrument Cluster System Check in Electrical Diagnosis

3

  1. Turn OFF the ignition switch.
  2. Disconnect the PCM.
  3. Turn ON the ignition switch.
  4. Using a J 39200 Digital Multimeter, measure voltage between the affected PCM output circuit at the PCM harness connector and ground.

Is voltage near the specified value?

B+

Go to Step 4

Go to Step 7

4

  1. Set the digital multimeter to the 10 amp scale and install the digital multimeter to measure current between the affected PCM output circuit and ground.
  2. Monitor the current reading on the digital multimeter for at least 2 minutes.

Does the current reading remain between the specified values?

0.05 Amp-1.5 Amps

Go to Step 12

Go to Step 5

5

  1. Disconnect the instrument panel cluster (leave the PCM disconnected).
  2. Measure voltage between the affected PCM output circuit and ground.

Is voltage at the specified value?

0V

Go to Step 15

Go to Step 6

6

Locate and repair the short to voltage in the affected PCM output circuit. Refer to in Electrical Diagnosis.

Is action complete?

--

Go to Step 17

--

7

Check the fuse for the instrument panel cluster indicator lamps.

Is the the fuse blown?

--

Go to Step 8

Go to Step 9

8

  1. Locate and repair the short to ground in the ignition feed circuit for the instrument panel cluster indicator lamps. Refer to in Electrical Diagnosis.
  2. Replace the fuse.

Is action complete?

--

Go to Step 17

--

9

  1. Disconnect the instrument panel cluster.
  2. Turn ON the ignition switch.
  3. Measure voltage between the ignition feed circuit for the instrument panel cluster indicator lamps and ground.

Is voltage near the specified value?

B+

Go to Step 10

Go to Step 14

10

  1. Check the affected lamp control circuit for an open or a short to ground.
  2. If a problem is found repair as necessary. Refer to Repair Procedures in Electrical Diagnosis.

Was a problem found?

--

Go to Step 17

Go to Step 11

11

  1. Check the affected lamp control circuit and the ignition feed circuit for a poor connection at the instrument panel cluster or at the PCM.
  2. If a problem is found, replace the terminal(s). Refer to Repair Procedures in Electrical Diagnosis.

Was a problem found?

--

Go to Step 17

Go to Step 15

12

  1. Turn OFF the ignition switch.
  2. Reconnect the PCM and disconnect the instrument panel cluster.
  3. Turn ON the ignition switch.
  4. Connect a test light between the affected PCM output circuit and the ignition feed circuit at the instrument panel cluster harness connector.
  5. Using the scan tool outputs test function, cycle the affected lamp ON and OFF.

Does the test light flash ON and OFF?

--

Refer to Diagnostic Aids

Go to Step 13

13

  1. Check the affected lamp control circuit for a poor connection at the PCM.
  2. If a problem is found, replace the terminal. Refer to Repair Procedures in Electrical Diagnosis.

Was a problem found?

--

Go to Step 17

Go to Step 16

14

Locate and repair open in the ignition feed circuit to the instrument panel cluster indicator lamps. Refer to Repair Procedures in Electrical Diagnosis.

Is action complete?

--

Go to Step 17

--

15

Replace the instrument panel cluster. Refer to On-Vehicle Service in Instrument Panel, Gages and Console.

Is action complete?

--

Go to Step 17

--

16

Replace the PCM.

Important: Replacement PCM must be programmed. Refer to Powertrain Control Module Replacement/Programming .

Is action complete?

--

Go to Step 17

--

17

Operate the affected lamp using the scan tool output tests function.

Does the affected lamp operate properly?

--

System OK

Go to Step 3