GM Service Manual Online
For 1990-2009 cars only
Makes
🢒
Pontiac
🢒
1997
🢒
Grand Prix
🢒
Engine
🢒
Engine Controls - 3.8L
🢒 Emission Hose Routing Diagram
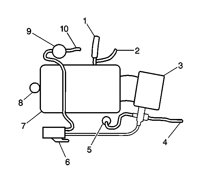
Figure
1:
Pontiac (VIN K)
(1)
To Vacuum Brake Booster
(2)
To Accessory
(3)
Throttle Body
(4)
To Transaxle
(5)
Fuel Pressure Regulator
(6)
EVAP Canister Purge Valve
(7)
Intake Manifold
(8)
PCV Valve
(9)
EVAP Vacuum Switch
(10)
To EVAP Canister (AT Rear of Vehicle)
Figure
2:
Pontiac (VIN 1)
(1)
EVAP Vacuum Switch
(2)
PCV Valve
(3)
To Accessory
(4)
To EVAP Canister (At Rear of Vehicle)
(5)
To Vacuum Brake Booster
(6)
Throttle Body
(7)
Supercharger Bypass Solenoid (Boost Control Solenoid)
(8)
Supercharger Bypass Actuator (Bypass Valve Actuator)
(9)
Manifold Vacuum Source
(10)
Fuel Pressure Regulator
(11)
Supercharger Assembly
(12)
MAP Sensor
(13)
EVAP Canister Purge Valve