GM Service Manual Online
For 1990-2009 cars only

INFO. BALANCING ALUMINUM WHEELS

SUBJECT: INFORMATION - BALANCING ALUMINUM WHEELS

MODELS: 1998 CADILLAC SEVILLE 1997-98 CHEVROLET VENTURE 1997-98 OLDSMOBILE SILHOUETTE 1997-98 PONTIAC GRAND PRIX, TRANS SPORT

THE ALUMINUM WHEELS USED ON SOME OF THE ABOVE MODELS (AND POSSIBLY OTHERS) MAY NOT PROPERLY FIT ONTO SOME WHEEL BALANCERS. THE BALANCER'S LOCATING CONE MAY INTERFERE WITH THE WHEEL'S HUB CAP DIAMETER. THIS WILL CAUSE THE WHEEL TO MISLOCATE ON THE BALANCER'S SHAFT, AND WILL NOT PROVIDE AN ACCURATE WHEEL BALANCE.

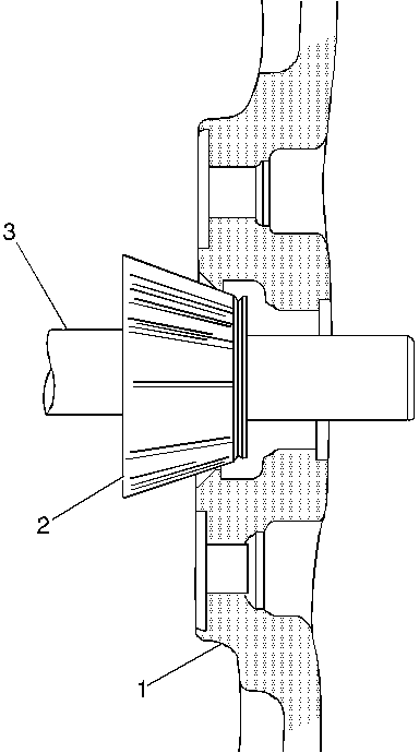
THE WHEEL'S DESIGN IS SUCH THAT ITS CENTER PILOT HOLE HUB CAP DIAMETER (OUTBOARD SIDE) IS SIGNIFICANTLY LESS THAN THE MOUNTING SURFACE DIAMETER (INBOARD SIDE). THESE TWO DIFFERENT DIAMETERS ARE ALSO VERY CLOSE TO EACH OTHER. WHEN THE BALANCER'S CONE IS INSERTED FROM THE BACK SIDE OF THE WHEEL, IT MAY BOTTOM OUT ON THE SMALLER HUB CAP DIAMETER INSTEAD OF THE LARGER MOUNTING SURFACE HUB DIAMETER (SEE FIGURE 1).

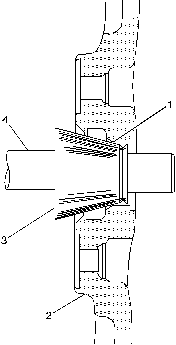
NEW INTERMEDIATE CONES ARE AVAILABLE THAT WILL PROPERLY LOCATE SUCH WHEELS ON THE BALANCER (SEE FIGURE 2). DEPENDING ON YOUR DEALERSHIP'S BRAND OF WHEEL BALANCER, CONTACT GM DEALER EQUIPMENT (GMDE) OR THE BALANCER MANUFACTURER TO PURCHASE THESE CONES. THESE CONES WILL ALSO WORK ON WHEELS THAT DO NOT REQUIRE THEM.

FIGURES: 02 ATTACHMENTS: 00

FIGURE 1 - INCORRECT A. BALANCER SHAFT B. BALANCE CONE C. WHEEL D. INTERFERENCE

FIGURE 2 - CORRECT A. BALANCER SHAFT B. BALANCE CONE C. WHEEL


Object Number: 170062  Size: LH


Object Number: 170063  Size: LH

GENERAL MOTORS BULLETINS ARE INTENDED FOR USE BY PROFESSIONAL TECHNICIANS, NOT A "DO-IT-YOURSELFER". THEY ARE WRITTEN TO INFORM THOSE TECHNICIANS OF CONDITIONS THAT MAY OCCUR ON SOME VEHICLES, OR TO PROVIDE INFORMATION THAT COULD ASSIST IN THE PROPER SERVICE OF A VEHICLE. PROPERLY TRAINED TECHNICIANS HAVE THE EQUIPMENT, TOOLS, SAFETY INSTRUCTIONS AND KNOW-HOW TO DO A JOB PROPERLY AND SAFELY. IF A CONDITION IS DESCRIBED, DO NOT ASSUME THAT THE BULLETIN APPLIES TO YOUR VEHICLE, OR THAT YOUR VEHICLE WILL HAVE THAT CONDITION. SEE A GENERAL MOTORS DEALER SERVICING YOUR BRAND OF GENERAL MOTORS VEHICLE FOR INFORMATION ON WHETHER YOUR VEHICLE MAY BENEFIT FROM THE INFORMATION.

COPYRIGHT 1997 GENERAL MOTORS CORPORATION. ALL RIGHTS RESERVED.