GM Service Manual Online
For 1990-2009 cars only
Makes
🢒
Pontiac
🢒
1997
🢒
Grand Prix
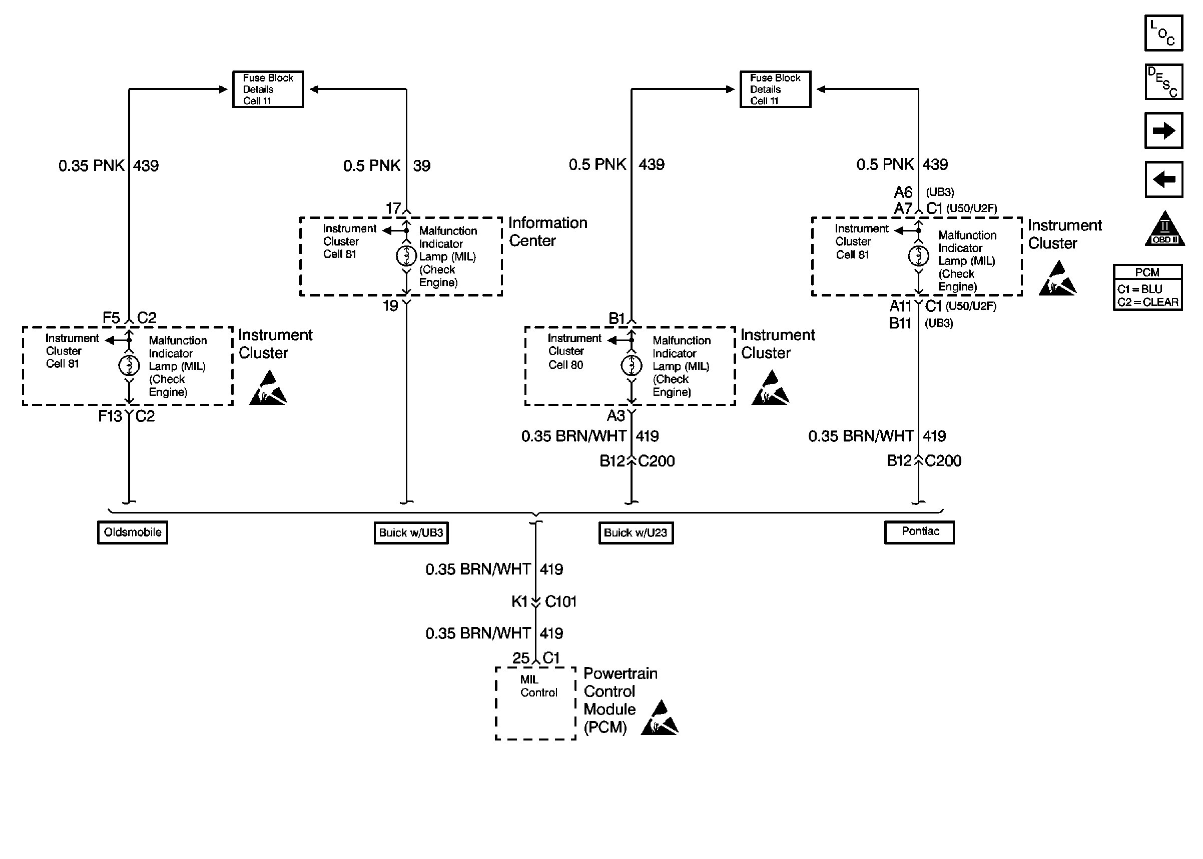
🢒 MIL Control
MIL Control
MIL Control
Engine Controls Components
Malfunction Indicator Lamp (MIL) Inoperative
Ignition Control Module
OBD II Symbol Description Notice
Grounds, Serial Data
Handling ESD Sensitive Parts Notice
Handling ESD Sensitive Parts Notice
Handling ESD Sensitive Parts Notice
Handling ESD Sensitive Parts Notice