GM Service Manual Online
For 1990-2009 cars only

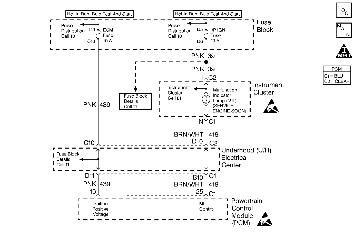
Object Number: 104935  Size: MF
Power, Ground, MIL, DLC
OBD II Symbol Description Notice

Circuit Description

The PCM monitors system voltage on the PCM ignition feed circuit. If the system voltage is out of tolerance, DTC P0560 will be set. When the conditions that set DTC P0560 are present, operation of some vehicle systems and components may be affected.

Conditions for Running the DTC

The engine is running.

Conditions for Setting the DTC

    • System voltage monitored at the PCM ignition feed circuit is less than 10 volts or greater than 16 volts.
    • Above conditions for longer than 2 seconds.

Action Taken When the DTC Sets

    • The PCM will not illuminate the Malfunction Indicator Lamp (MIL).
    • The PCM will store conditions which were present when the DTC set as Fail Records data only. This information will not be stored as Freeze Frame data.
    • The PCM will default the transmission default to 3rd gear.
    • The PCM will inhibit TCC operation.

Conditions for Clearing the MIL/DTC

    • A history DTC will clear after 40 consecutive warm-up cycles have occurred without a malfunction.
    • DTC can be cleared by using the scan tool Clear Info function or by disconnecting the PCM battery feed.

Diagnostic Aids

Check for the following conditions:

       Important:: Be sure to inspect PCM engine grounds for being secure and clean.

    • Poor connection at PCM. Inspect harness connectors for the following items:
       - Backed out terminals
       - Improper mating
       - Broken locks
       - Improperly formed or damaged terminals
       - Poor terminal to wire connections
    • Damaged harness. Inspect the wiring harness for damage.
    • If the harness appears to be OK, observe the Ignition 1 voltage display on the scan tool while moving connectors and wiring related to the PCM, dash harness, and engine harness. A change in the display will indicate the location of the malfunction.

Important: Charging with a battery charger while starting the engine can cause DTC P0560 to be set.

If DTC P0560 cannot be duplicated, reviewing the Fail Records vehicle mileage since the diagnostic test last failed may help determine how often the condition that caused the DTC to be set occurs. This may assist in diagnosing the condition. For complete information and additional diagnostics for the vehicle charging system, refer to Charging System.

Test Description

Number(s) below refer to the step number(s) on the Diagnostic Table .

  1. This vehicle is equipped with a PCM which utilizes an Electrically Erasabl e Programmable Read Only Memory (EEPROM). When the PCM is being replaced, th e new PCM must be programmed.

DTC P0560 - System Voltage

Step

Actio n

Value(s)

Yes

No

1

Was the Powertrain On-Boar d Diagnostic System Check performed?

--

Go to Step 2

Go to the Powertrain On Board Diagnostic (OBD) System Check

2

Is DTC P1635 also set?

--

Go to DTC P1635 5 Volt Reference Circuit

Go to Step 3

3

  1. Start and run engine above 1000 RPM.
  2. Observe Ignition 1 on the scan tool.

Is Ignition 1 voltage between the specified values?

10 V-16 V

Go to Step 4

Go to Step 5

4

  1. Review and record the scan tool Fail Records data.
  2. Clear the DTC P0560 and operate the vehicle to duplicate the Fai l Records conditions.
  3. Using a scan tool, monitor Specific DTC info for DTC P0560 unti l the DTC P0560 test runs.

Does the scan tool indicate DTC failed this ign?

--

Go to Step 5

Refer to Diagnostic Aids

5

  1. Install a J 39200 Digital Multimeter between the battery terminals.
  2. Monitor the digital multimeter while running the engine abov e 1000 RPM.

Does digital multimeter show battery voltage between the specified values ?

10 V-16  V

Go to Step 6

Go to Step 7

6

  1. Load the electrical system by turning ON the headlamps and th e HVAC high blower.
  2. Monitor the digital multimeter while running the engine abov e 2000 RPM.

Does the digital multimeter show battery voltage between the specifie d values?

10 V-16  V

Go to Step 8

Go to Step 7

7

  1. Turn OFF the ignition switch.
  2. Disconnect the generator electrical connector.
  3. Turn the Turn ON the ignition switch.
  4. Connect a digital multimeter to measure voltage between the generato r control circuit at the generator harness connector and ground.
  5. Command the Gen. L Term. ON using the scan tool.

Does the digital multimeter display voltage near the specified valu e with the Gen. L Term. commanded ON?

B+

Go to Step 12

Go to Step 10

8

Compare the Ignition 1 voltag e displayed on the scan tool with the actual battery voltage read with the digita l multimeter.

Does the scan tool Ignition 1 value closely match the actual value rea d with the digital multimeter?

--

Refe r to Diagnostic Aids

Go to Step 9

9

  1. Check the PCM ignition feed circuit for a poor connection betwee n the ignition switch and the PCM. Refer to Fuse Block Details in Electrica l Diagnosis.
  2. If a problem is found, replace loose terminal(s).

Was a problem found?

--

Go to Step 14

Go to Step 13

10

  1. Check the generator control circuit for an open or a short t o ground between the PCM and the generator.
  2. If a problem is found, repair as necessary. Refer to Repair Procedures in Electrical Diagnosis.

Was a problem found?

--

Go to Step 14

Go to Step 11

11

  1. Check the generator control circuit for a poor terminal connectio n at the PCM.
  2. If a problem is found, repair as necessary. Refer to Repair Procedures in Electrical Diagnosis.

Was a problem found?

--

Go to Step 14

Go to Step 13

12

  1. Check the generator control circuit for a poor terminal connectio n at the generator.
  2. If a problem is found, repair as necessary. Refer to Repair Procedures in Electrical Diagnosis.

Was a problem found?

--

Go to Step 14

Refer to Diagnosis in Charging Systems

13

Replace the PCM.

Important:: The replacement PCM must be programmed. Refer to Powertrain Control Module Replacement/Programming .

Is action complete?

--

Go to Step 14

--

1 4

  1. Start and run the engine above 1000 RPM.
  2. Observe Ignition 1 on the scan tool.

Is Ignition 1 voltage between the specified values?

10 V-16 V

System OK

Go to Step 5