GM Service Manual Online
For 1990-2009 cars only

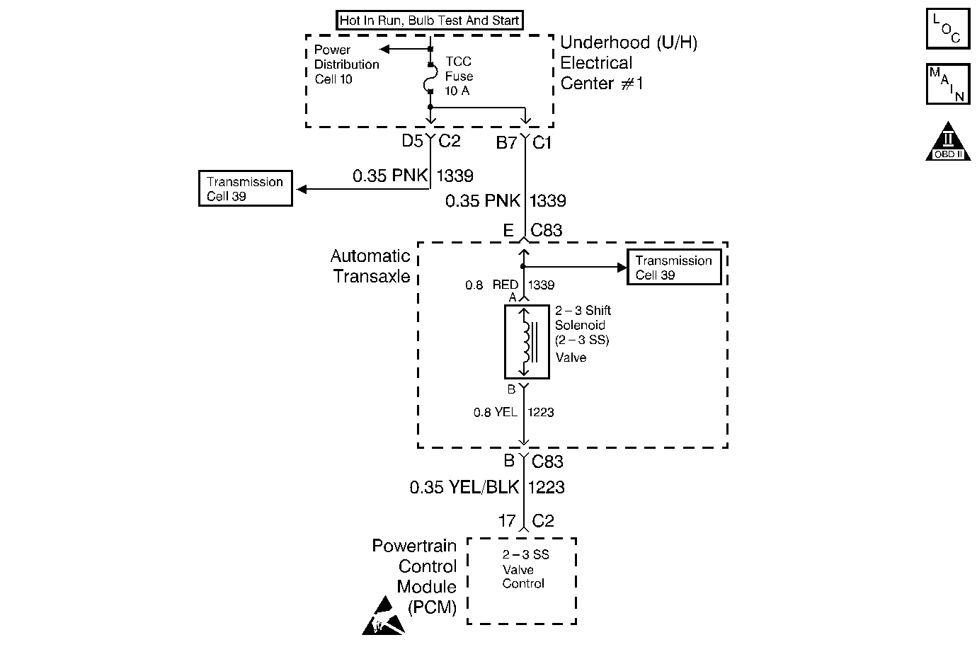
Object Number: 106853  Size: MF

Circuit Description

The 2-3 Shift Solenoid Valve (2-3 SS Valve) controls the transmission fluid pressure on the 2-3 shift valve. The TCC fuse provides ignition voltage to the solenoid. The Output Driver Module (ODM), within the Powertrain Control Module (PCM), provides ground. The PCM monitors voltage levels at the ODM. When you command the 2-3 SS Valve ON, the PCM receives low voltage. When you command the 2-3 SS Valve OFF, the PCM receives high voltage.

DTC P0758 sets if the received voltage is outside the calibration limits. DTC P0758 is a type A DTC.

Conditions for Setting the DTC

    • System voltage is 10-16 volts.
    • The engine speed is greater than 500 RPM.
    • Not in fuel shut off.
    • The PCM commands the solenoid ON and the voltage remains high (B+).
    • The PCM commands the solenoid OFF and the voltage remains low (0 volts).

All of the above conditions are met for 5 seconds.

Action Taken When the DTC Sets

    • The transmission will default to 3rd gear.
    • The PCM inhibits TCC operation.
    • The PCM illuminates the Malfunction Indicator Lamp (MIL).

Conditions for Clearing the MIL/DTC

    • The PCM turns OFF the MIL after three consecutive ignition cycles without a failure reported.
    • A scan tool can clear the DTC from the PCM history. The PCM clears the DTC from the PCM history if the vehicle completes 40 warm-up cycles without a failure reported.
    • The PCM cancels the DTC default actions when the fault no longer exists and the ignition is OFF long enough in order to power down the PCM.

Diagnostic Aids

    • Inspect the wiring for poor electrical connections at the PCM. Inspect the wiring at the Automatic Transmission 7-way connector. Inspect the wiring at the 2-3 SS Valve connector. Look for the following conditions:
       - A bent terminal
       - A backed out terminal
       - A damaged terminal
       - Poor terminal tension
       - A chafed wire
       - A broken wire inside the insulation
    • When diagnosing for an intermittent short or open condition, massage the wiring harness while watching the test equipment for a change.
    • Ensure that the scan tool commanded gear has correct solenoid states and ratio. Refer to Shift Solenoid Valve State and Gear Ratio table.

Test Description

The numbers below refer to the step numbers on the diagnostic table.

  1. This step isolates the fault between the engine harness and the transmission harness.

  2. This step verifies that circuit 1223 is not open or shorted to power.

  3. This step verifies that the 2-3 solenoid is not shorted across its windings nor increased its resistance.

DTC P0758 2-3 Shift Solenoid -- Electrical (Pontiac)

Step

Action

Value(s)

Yes

No

1

Were you sent here from the Powertrain On-Board Diagnostic (OBD) System Check?

--

Go to Step 2

Go to Powertrain On Board Diagnostic (OBD) System Check

2

  1. Install the Scan Tool ®.
  2. With the engine OFF, turn the ignition switch to the RUN position.
  3. Important: Before clearing the DTCs, use the scan tool in order to record the Freeze Frame and Failure Records for reference. The Clear Info function will erase the data.

  4. Record the DTC Freeze Frame and Failure Records.

Are DTCs P0753, P1860 or P0740 set?

--

Go to Step 3

Go to Step 6

3

Remove the TCC fuse. Inspect the fuse for an open. Refer to Troubleshooting Procedures, Section 8.

Was a condition found and corrected?

--

Go to Step 4

Go to Step 5

4

Repair the short to ground in circuit 1339. Refer to Troubleshooting Procedures, Section 8.

Was a condition found and corrected?

--

Go to Step 19

--

5

Repair open in circuit 1339. Refer to Troubleshooting Procedures, Section 8.

Was a condition found and corrected?

--

Go to Step 19

--

6

  1. Turn the ignition switch OFF.
  2. Disconnect the Automatic Transmission 7-way connector.
  3. Install the J 38835 Transmission Electrical Jumper to the engine harness connector.
  4. Connect a test lamp from terminal E to terminal B of the jumper using a J 35616-A Connector Test Adapter Kit.
  5. Important: Additional DTCs will set.

  6. With the engine OFF, turn the ignition switch to the RUN position.

Is the test lamp ON?

--

Go to Step 7

Go to Step 8

7

Inspect circuit 1223 for a short to ground. Refer to Troubleshooting Procedures, Section 8.

Was a condition found and corrected?

--

Go to Step 19

Go to Step 18

8

  1. Select A/T Outputs, 2-3 Solenoid.
  2. Cycle the 2-3 solenoid ON and OFF three times.

Does the test lamp cycle ON and OFF as you commanded?

--

Go to Step 11

Go to Step 9

9

Inspect circuit 1223 for an open. Refer to Troubleshooting Procedures, Section 8.

Was a condition found and corrected?

--

Go to Step 19

Go to Step 10

10

Inspect circuit 1223 for a short to power. Refer to Troubleshooting Procedures, Section 8.

Was a condition found and corrected?

--

Go to Step 19

Go to Step 17

11

  1. Turn the ignition OFF.
  2. Disconnect the Transmission Jumper from the engine harness.
  3. Connect the J 38835 Transmission Electrical Jumper to the Automatic Transmission 7-way connector.
  4. Connect a J 39200 Digital Multimeter (DMM) from terminal E to terminal B of the jumper.

Is the measured resistance within the specified range?

19 ohms to 31 ohms

Go to Step 18

Go to Step 12

12

Is the resistance greater than the specified value?

100 ohms

Go to Step 13

Go to Step 14

13

Inspect the RED wire circuit 1339 and the YEL wire circuit 1223 for an open. Refer to Troubleshooting Procedures, Section 8.

Was a condition found and corrected?

--

Go to Step 19

Go to Step 16

14

Connect a J 39200 Digital Multimeter from terminal B of the jumper to ground.

Is the measured resistance less than the specified value?

100 ohms

Go to Step 15

Go to Step 16

15

Inspect the YEL wire circuit 1223 for a short to ground.

Was a condition found and corrected?

--

Go to Step 19

--

16

Replace the 2-3 Shift Solenoid. Refer to Solenoids and Wiring Harness, Section 7.

Is the replacement complete?

--

Go to Step 19

--

17

Inspect PCM connector C1 for bent, damaged or backed out connector pins.

Was a condition found and corrected?

--

Go to Step 19

Go to Step 18

18

Replace the PCM. Refer to Powertrain Control Module Replacement/Programming , Section 6.

Is the replacement complete?

--

Go to Step 19

--

19

In order to verify your repair, perform the following procedure:

  1. Select DTC.
  2. Select Clear Info.
  3. Operate the vehicle under the following conditions:
  4. • The ignition switch is ON.
    • The engine speed is more than 500 RPM.
    • The vehicle is not in fuel shut off.
    • The system voltage is 10-16 volts.
    • When the 2-3 SS Valve is commanded ON, the voltage decreases to zero.
    • When the 2-3 SS Valve is commanded OFF, the voltage increases to B+.
    • All of the above conditions are met for 5 seconds.
  5. Select Specific DTC. Enter DTC P0758.

Has the test run and passed?

--

System OK

Begin the diagnosis again. Go to Step 1