GM Service Manual Online
For 1990-2009 cars only
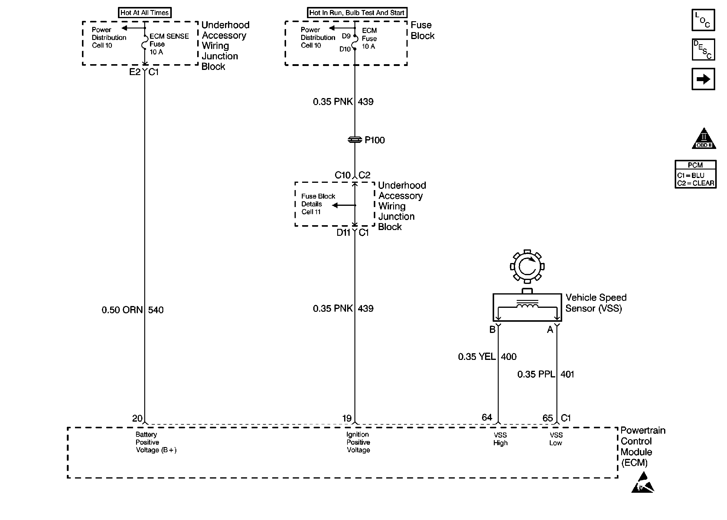
Figure 1:

Power, VSS


Object Number: 214380  Size: FS
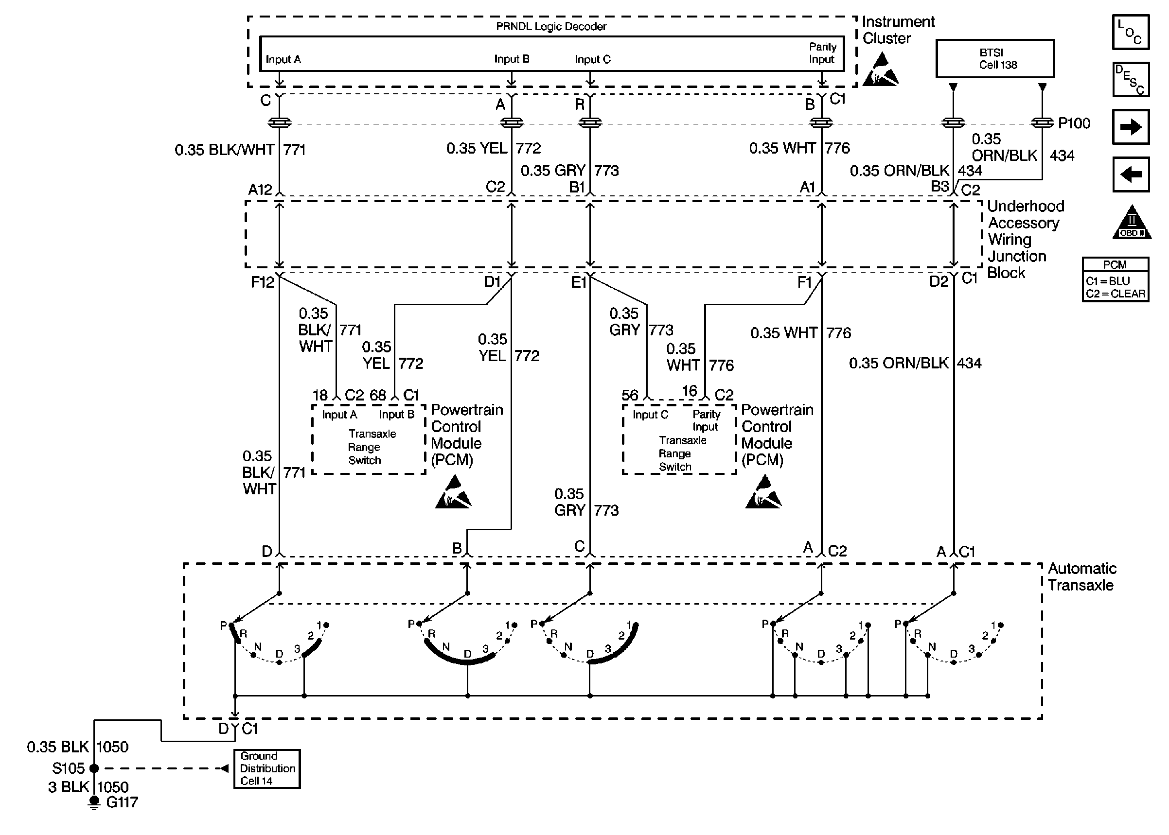
Figure 2:

Shifting Control


Object Number: 214381  Size: FS
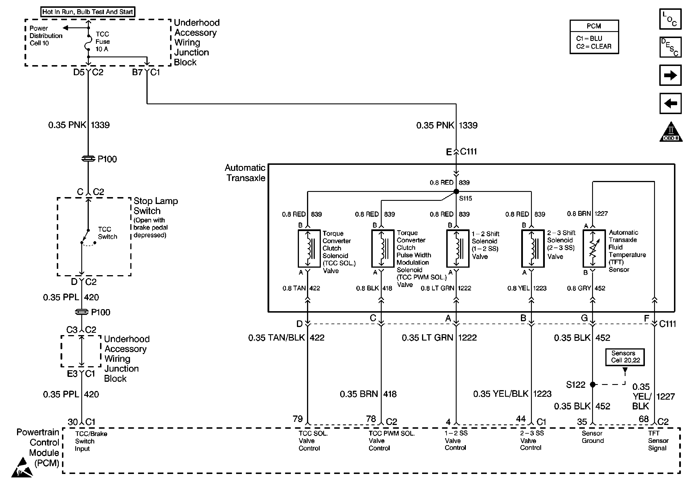
Figure 3:

Trans Range Input


Object Number: 214382  Size: FS
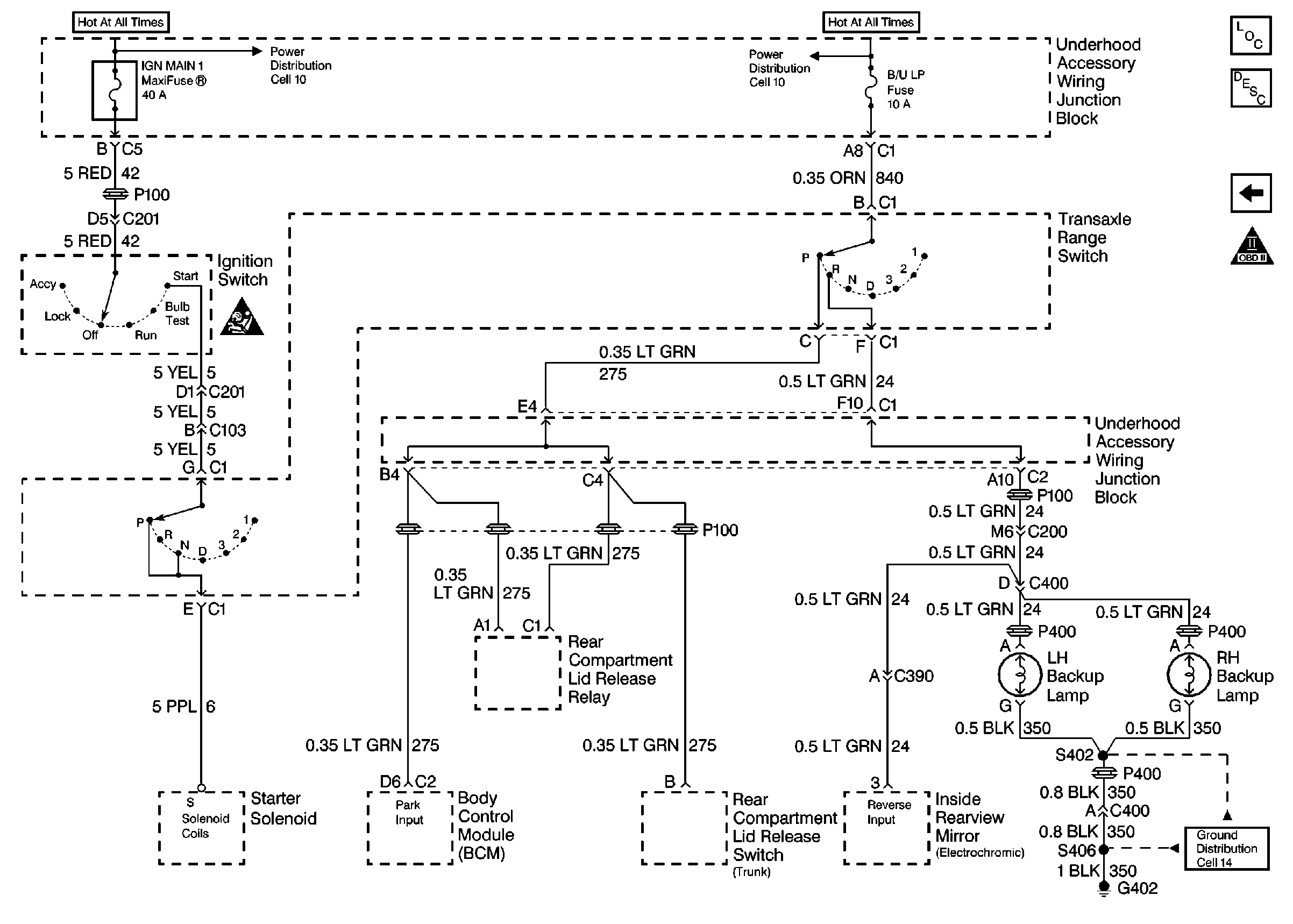
Figure 4:

Backup Lamps and Starter Control


Object Number: 214383  Size: FS